| Passwort vergessen?
Sie sind nicht angemeldet. |  Anmelden

Sprache auswählen:

Wumpus Gollum Forum von
Wumpus Welt der (alten) Radios
Sie sind nicht angemeldet.
 Anmelden

Kein normales Röhrenaudion, kein Superhet, vielleicht ein Nestelaudion?
  •  
 1 2
 1 2
01.05.18 14:47
WoHo 

500 und mehr Punkte

01.05.18 14:47
WoHo 

500 und mehr Punkte

Kein normales Röhrenaudion, kein Superhet, vielleicht ein Nestelaudion?

Nachdem die Herren GeorgK, WalterBar, opa.Wolle und joeberesf
hier ihre Projekte vorstellen, kann ich mich nicht mehr beherrschen und muss nun selber mal was auf die Beine stellen.....

Also, große handwerkliche Fähigkeiten in der Holzbearbeitung, wie z.B. Georg, kann ich nicht vorweisen. Ein bisschen feilen, bohren, sägen und löten geht noch eben.

Letztens auf der Radiobörse in Datteln konnte ich einen tollen, ollen Spulenschwenker von der Firma HUTH erwerben. Zu schade, um den unbenutzt liegen zu lassen. Dieser muss ein Teil des Geradeausempfängers werden, Periode 20er-30er Jahre. Das Schaltungskonzept sollte auf jeden Fall eine Besonderheit aufweisen.

Ich dachte an ein Nestel-Audion, warum?
Die normale Audionschaltung (mit Gittergleichrichtung) ist zwar empfindlich, hat aber einen begrenzten Arbeitsbereich, wo die Verzerrungen gering bleiben. Das Ganze soll eine Experimental-Radio werden, um die Vor-und Nachteile zu ergründen. Daher auch kein integrierter Lautsprecher oder Netzteil...

Funkpionier Dr. Nestel machte in den 30er Jahren den Vorschlag, die HF-Gittergleichrichtung von der NF-Stufe zu trennen um somit letztere eine konstante Gittervorspannung zu geben. In der herkömmlichen Audionschaltung ändert sich diese in Abhängigkeit von der HF-Amplitude. Genaueres kann man via Google erfahren.



Mein Konzept ist wie folgt:
Von der Antenne über den Spulenschwenker zur HF-Vorstufe mit der AF7. Eine Rückkopplung (Entdämpfung) geschieht über die rechte schwenkbare Spule. Der zweite abgestimmte Kreis ist mit der gekapselten (um ungewollte Schwingungen zu unterbinden) Mu-CORE Type 402 Spule/Transformator aufgebaut und leitet zur Diode der ABC1, wo die Gleichrichtung (Demodulation) stattfindet. Die so gewonnene NF steuert die Triode der ABC1 und nach Verstärkung geht's über ein Lautstärkepoti zur Endstufe mit der AL4.

Obiges Bild zeigt Planungstufe 2. Hoffe, dass das alles so klappt, wie ich es mir vorstelle. Melde mich wieder.......

Gruß aus NL, Wolfgang

Datei-Anhänge
Nestel2.jpg Nestel2.jpg (380x)

Mime-Type: image/jpeg, 156 kB

WalterBar, joeberesf, regency, nobbyrad58 und Vorkreis gefällt der Beitrag.
!
!!! Fotos, Grafiken nur über die Upload-Option des Forums, KEINE FREMD-LINKS auf externe Fotos.    

!!! Keine Komplett-Schaltbilder, keine Fotos, keine Grafiken, auf denen Urheberrechte Anderer (auch WEB-Seiten oder Foren) liegen!
Solche Uploads werden wegen der Rechtslage kommentarlos gelöscht!

Keine Fotos, auf denen Personen erkennbar sind, ohne deren schriftliche Zustimmung.

Den Beitrag-Betreff bei Antworten auf Threads nicht verändern!
01.05.18 18:46
joeberesf 

500 und mehr Punkte

01.05.18 18:46
joeberesf 

500 und mehr Punkte

Re: Kein normales Röhrenaudion, kein Superhet, vielleicht ein Nestelaudion?

Hallo Woho,

die gezeigten Hauptbestandteile des Experimentierbretts sind ja wirklich eine Augenweide. Der Spulenschwenker und die Drehkos mit Skalierung sind aus meiner Sicht keine 0815- Teile vom Radioflohmarkt....eher Raritäten. Wenn du das Holzbrett in starrer Kupferverdrahtung konzipierst, wird das Ganze auch ohne Gehäusekasten sehr ansprechend und bekommt dann diesen Steampunkreiz. Bin gespannt auf die letztendliche Schaltung und das angestrebte Ergebnis. Ach so....meine Kästchenstudie ist kein Audion, ich hatte das nur als mögliche Gehäusevariante angesprochen, da das Kästchen keine typische einfache Zigarrenkiste ist. So etwas wird häufig weggeschmissen....in diesem Fall hatte ich Glück.

Viel Erfolg

Joerg

PS. Schau mal in den Anhang von MB- Radio wie solch ein Brett gestaltet werden kann. Bernd hat die Verbindungsleitungen allerdings in Ausfräsungen nicht sichtbar verlegt. Nur HF- Wege sind außerhalb. Nur so... als weitere Motivation und Anregung.

Zuletzt bearbeitet am 01.05.18 19:09

Datei-Anhänge
Fritterempfänger.jpg Fritterempfänger.jpg (454x)

Mime-Type: image/jpeg, 280 kB

10.05.18 13:48
WoHo 

500 und mehr Punkte

10.05.18 13:48
WoHo 

500 und mehr Punkte

Re: Kein normales Röhrenaudion, kein Superhet, vielleicht ein Nestelaudion?

Hier ein Zwischenbericht:

Da waren doch schon Schwierigkeiten zu meistern:
Es war zu erwarten, dass das Holzschassis keinerlei elektrische oder magnetische Abschirmung bietet. Daher war was gegen wilde Schwingungen in der HF-Vorstufe zu tun!



Die beiden Uralt-Drehkos haben große Ausmaße und verursachen ungewollte, kapazitive Verkoppelungen. Abhilfe brachte ein Abschirmblech um den Anodendrehko der AF7. Nein, gefällt mir auch nicht, des optischen Eindrucks wegen, war aber notwendig!
Ansonsten habe ich von vorneherein auf eine gute Entkopplung der HF von der NF geachtet. Dazu dienen Dr1 und Dr2.



Die Entdämpfung der HF-Vorstufe wird über das Schirmgitter der AF7 gemacht. Beim Erproben stellte sich heraus, dass meine div. Steckspulen nicht alle den gleichen Wicklungssinn haben! Um nicht jedesmal bei Spulenwechsel die Anschlussdrähte zu ändern, habe ich einen "Polwender" für die Rückkopplungsspule eingebaut (nicht im Schaltbild dargestellt). Nach dem Ausgangspegel meines Prüfsenders zu urteilen, ist die Gesamtempfindlichkeit sehr gut! Ein Bericht über den Empfang mit Antenne folgt noch...

Nächster Schritt:
Ich schrieb schon, mein Interesse gilt herauszukristallisieren (schönes Wort, nicht wahr?), was bringt die Diodendemodulation gegenüber der Gittergleichrichtung (Audion) für Vorteile oder Nachteile? Hierzu wird ein 4-pol. Umschalter eingefügt, der die erforderlichen Schaltungsänderungen -ohne weitere Umstände- macht.
Habe vor, an Hand von Oszillogrammen, ein schwaches Antennensignal mal mit 30%iger und 70%iger Modulation NF-mäßig darzustellen. Dann dieselbe Prozedur jetzt aber mit starkem Antennensignal.

Ich melde mich dann wieder ....

P.S. Dr2 hat 100 mH = F4 von AMROH

Gruß aus NL, Wolfgang

Datei-Anhänge
Nestel4.jpg Nestel4.jpg (379x)

Mime-Type: image/jpeg, 175 kB

Nestel3.jpg Nestel3.jpg (358x)

Mime-Type: image/jpeg, 118 kB

10.05.18 17:59
MB-RADIO 

500 und mehr Punkte

10.05.18 17:59
MB-RADIO 

500 und mehr Punkte

Re: Kein normales Röhrenaudion, kein Superhet, vielleicht ein Nestelaudion?

Hallo Wolfgang,

die Bauteile sind ja eine Augenweide. Wohl dem der darauf zugreifen kann. Solche Brettschaltunge gefallen mir auch immer wieder, aber wie Du schon schreibst ist masse-und schirmungsmäßig da einiges zu beachten.
Solch eine Verdrahtung wie bei meinem Fritterempfänger ist nur im Endstadium der der Entwicklung möglich. Für Versuchsschaltungen ist die obenliegende Verdrahtung besser, da schnell zu ändern.
Ein Nestelaudion habe ich noch nie aufgebaut. Wollen wollte ich schon viel. Und wenn dann soll es bei mir auch möglicht original alt aussehen und da klemmt es oft an fehlendem Material.

So, dann wünsche ich dir viel Erfolg.
Müßte auch wieder mal was Uraltes bauen, bin aber zur Zeit mit modernerem beschäftigt und der Basteltisch ist noch belegt.

Viele Grüße
Bernd

Zwei Dinge sind unendlich, das Universum und die menschliche Dummheit, aber bei dem Universum bin ich mir noch nicht ganz sicher. (Albert Einstein)

10.05.18 17:59
nobbyrad58 

500 und mehr Punkte

10.05.18 17:59
nobbyrad58 

500 und mehr Punkte

Re: Kein normales Röhrenaudion, kein Superhet, vielleicht ein Nestelaudion?

Hallo an Alle, Hallo Wolfgang!

Dein Radio, ein Zweikreiser mit Diodendemodulation war ein Gerätetyp der so zwischen 1932 und 1940 bei vielen Hersteller im Programm war.
Ab ca. 1936 mit der Entwicklung der "harmonischen" Röhrenserie wurde dieser Empfängertyp vom Super endgültig verdrängt.
Man konnte mit 3 Röhren einen vollwertigen 6 Kreis Super bauen, die Röhre für das Netzteil ausgenommen denn diese brauchte man ja auch beim Geradeausempfänger.
Diese 3 Röhren waren die Verbundröhren ECH, EBF, ECL der sog. Stahlsockel Röhren. Der Vorteil der Ersparnis war damit fast nicht mehr gegeben, wohl aber die Vorteile des Supers.
Auch andere Hersteller wie Philips mit den "Miniwatt" Röhren sind hier zu nennen.
Zum Schluss, wie könnte es auch anders sein, einen Buchtip für den Bau von Radios mit der 30er Jahre Technik:
" Schule des Funktechnikers" von Hanns Gunther und Heinz Richter Franck'sche Verlagshandlung, Stuttgart 1939
Band I und vor allem II.
Diese Antiquarischen Bücher werden immer wieder bei ebay und Co. angeboten.
Im Bd. II wird der mechanische Aufbau eines Zweikreisers, sogar mit Fotos gezeigt. Im Text sind die "Regeln" für den erfolgreichen Bau eines Empfängers enthalten.

MFG Nobby

12.05.18 16:55
WoHo 

500 und mehr Punkte

12.05.18 16:55
WoHo 

500 und mehr Punkte

Re: Kein normales Röhrenaudion, kein Superhet, vielleicht ein Nestelaudion?

Hallo Radiofreunde!

@ joerg und Bernd:

Leider kann ich die "Augenweide" nicht komplett machen, weil da immer noch kleine Anpassungen -sprich Verbesserungen- durchgeführt werden.
Ich halte Euch auf dem Laufenden....

@ nobby:
Du hast recht. Mit Hilfe der Schaltbildsammlung Empfänger Vade-Mecum Nr.18 konnte ich weitere Radios finden, die ebenfalls Diodengleichrichtung im Geradeausempfänger anwenden. Einige davon benutzen die HF-Vorstufe auch als NF-Vorverstärker = Reflex. Hier Beispiele:

Schaleco Traumland W,
Schaub Baden 36W, Schaub Bali 30W, Schaub S197W und S297W

Gruß aus NL, Wolfgang

13.05.18 20:27
HB9 

500 und mehr Punkte

13.05.18 20:27
HB9 

500 und mehr Punkte

Re: Kein normales Röhrenaudion, kein Superhet, vielleicht ein Nestelaudion?

Hallo zusammen,

mein Philips 736A (Baujahr 1934) ist ebenfalls ein Geradeausempfänger mit Diodendemodulator, allerdings ein Dreikreiser mit 2 HF-Stufen und ohne Rückkopplung. Er hat einen sehr guten Empfang, ist aber nicht weniger aufwendig als ein Superhet und braucht immerhin 6 Röhren.

Gruss HB9

14.05.18 23:55
nobbyrad58 

500 und mehr Punkte

14.05.18 23:55
nobbyrad58 

500 und mehr Punkte

Re: Kein normales Röhrenaudion, kein Superhet, vielleicht ein Nestelaudion?

Hallo an Alle!

Zweikreiser verkehrt ?

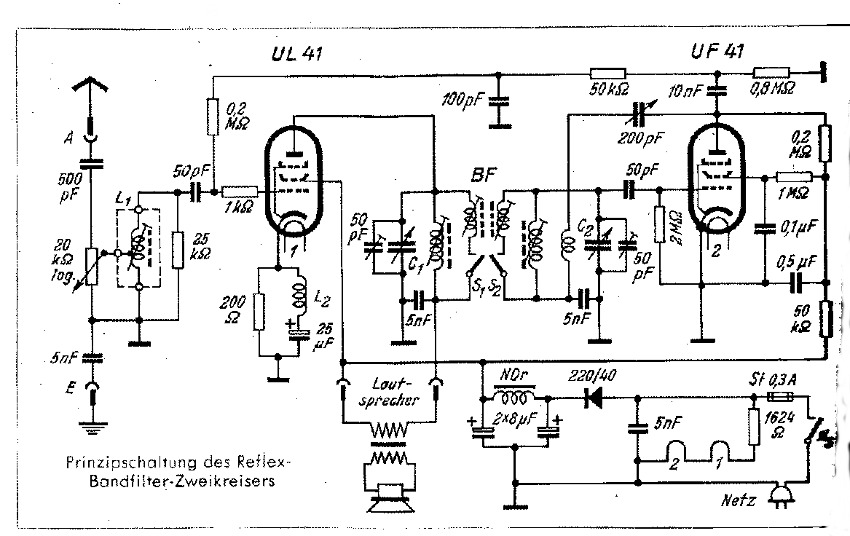
Nein, es ist ein Reflexaudion mit Bandfilter, die NF Endröhre UL (EL) ist auch aperiodischer HF Verstärker. Die Schaltung ist 1950 von O. Limann zum Selbstbau veröffentlicht worden.
Es ist auch eine Schaltungsbeschreibung mit Bauplan gedruckt worden.
Es ist ein Zweiröhren - Zweikreiser mit LS Wiedergabe. Eine Diodengleichrichtung wäre mit einer HF Röhre Sockel NO 111 möglich. Die Diodenstrecke ist extra, keine gemeinsame Diodenkatode mit dem F System.
Die HF Drossel L1 ist mit dem R 25 K teilweise gebrückt, diese Drossel ist das "Spezialbauteil"

MFG Nobby

Zuletzt bearbeitet am 14.05.18 23:56

Datei-Anhänge
Refllex Zweikreiser.jpg Refllex Zweikreiser.jpg (612x)

Mime-Type: image/jpeg, 112 kB

23.05.18 10:06
WoHo 

500 und mehr Punkte

23.05.18 10:06
WoHo 

500 und mehr Punkte

Re: Kein normales Röhrenaudion, kein Superhet, vielleicht ein Nestelaudion?

In eigener Sache:

"Ich schrieb schon, mein Interesse gilt herauszukristallisieren (schönes Wort, nicht wahr?), was bringt die Diodendemodulation gegenüber der Gittergleichrichtung (Audion) für Vorteile oder Nachteile? Hierzu wird ein 4-pol. Umschalter eingefügt, der die erforderlichen Schaltungsänderungen -ohne weitere Umstände- macht.
Habe vor, an Hand von Oszillogrammen, ein schwaches Antennensignal mal mit 30%iger und 70%iger Modulation NF-mäßig darzustellen. Dann dieselbe Prozedur, jetzt aber mit starkem Antennensignal."


Dieses Versprechen muss wegen Urlaub um ein paar Wochen "nach hinten" verschoben werden....
Gruß aus NL, Wolfgang

08.06.18 22:23
WoSi 

0-49 Punkte

08.06.18 22:23
WoSi 

0-49 Punkte

Re: Kein normales Röhrenaudion, kein Superhet, vielleicht ein Nestelaudion?

Hallo Wolfgang,

das sieht nach einer tollen Idee aus!

Hältst Du es für möglich, eine dritte Schalterstellung einzubauen,
welche die NF über einen Vorwiderstand zur HF-Entkopplung am
Gitter der Audionröhre abnimmt?

Ich verspreche mir davon weniger Verzerrungen bei starken Signalen.
Ich glaube, wir hatten vor langer Zeit mal darüber gesprochen.

viele Grüße,
Wolfgang

 1 2
 1 2
Demodulationslinearität   Gleichspannungs-Vorspannung   HF-Gittergleichrichtung   Gleichwellen-Störungen   Modulationsschaltungen   „Modulationsverzerrungen   herauszukristallisieren   Gittergleichrichtung   Schaltungsänderungen   Gleichspannungs-Offset   Wolfgang   normales   Demodulationsverfahren   Röhrenaudion   vielleicht   Schaltungsbeschreibung   Superhet   Diodengleichrichtung   Doppelseitenband-Modulation   Nestelaudion