| Passwort vergessen?
Sie sind nicht angemeldet. |  Anmelden

Sprache auswählen:

Wumpus Gollum Forum von
Wumpus Welt der (alten) Radios
Sie sind nicht angemeldet.
 Anmelden

SAQ-Umfeld : Nauen und andere deutsche Stationen
 1
 1
30.01.26 18:40
basteljero 

500 und mehr Punkte

30.01.26 18:40
basteljero 

500 und mehr Punkte

SAQ-Umfeld : Nauen und andere deutsche Stationen

Moin,

Das Zeitalter der Maschinensender ist sehr spannend, trotz Suchmaschinen ist die Suche nach
Informationen recht mühsam. Deshalb sollen in diesem Thread einige gefundene Infos und Verweise
rein.
Sendestelle Nauen
Der Großfunkstelle Nauen kam besondere Bedeutung zu, weil die Übersee-Kabelverbindungen mit
Ausbruch des 1 Weltkrieges abgetrennt wurden.
Auch diese Erfahrung ein Grund, sich in Schweden für einen weitreichenden Maschinensender zu
entscheiden, die Haupt-Gegenstation war "Rocky Point", geplant als gewaltiges Sender-System
mit 12 sternförmig angeordneten Antennen. Rufzeichen WQK
(In deutscher Sprache nachzulesen in der ETZ (Elektrotechnischen Zeitschrift) 1923, vol., s.782.)

Ausführliche Berichte über Nauen finden sich in der ETZ 1919, vol40
h t t p s://archive.org/details/elektrotechnische-zeitschrift-40.1919


Wesentlicher Unterschied zur Alexanderson-Maschine (nach dem Fessenden-Prinzip):
Die Maschinen laufen mit verhältnismäßig niedriger Drehzahl, die zu erzielende Frequenz wird
mit ruhenden Frequenzumformern mit hohem Wirkungsgrad (90%) erzielt.

Deren Blechstärke beträgt nur 1/5 (0.07 mm) des später üblichen dünnen Dynamobleches von
0,35mm für verlustarme Trafos oder Übertrager.

Empfangs-Station Geltow
1914 wurde in Geltow und der Gegenstation von Nauen, Sayville das Feinste vom Feisten verwendet:
-Der hochwertige E5-Empfänger (h t t p s://seefunknetz.de/e5.htm).
-Der mechanische 3-stufige Tonverstärker (h t t p s://seefunknetz.de/anti.htm)
Im Laufe des Jahres 1914 kam auf Sayville dazu:
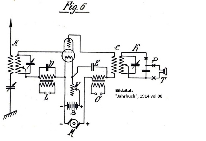
-Die Lieben-Röhre als Heterodyne-Überlagerer (Prinzip nach Fessenden, Rückkopplung nach Meisser)
(h t t p s://archive.org/details/jahrbuch-der-drahtlosen-telegraphie-und-telephonie-vol-8/page/456/mode/2up)


Die Leistung des Systems war derart fortgeschritten, dass in der amerikanischen Presse diskutiert wurde, ob es denn technisch überhaupt
möglich wäre, regelmäßig Presse-Mitteilungen aus Deutschland zu erhalten und nötigten Taylor zu einem Artikel in
der "electrical world"
(h t t p s://archive.org/details/sim_electrical-world_1914-09-26_64_13/page/616/mode/2up

Zitieren:
Diese Telefonrelais werden ausschließlich von den Telefunken-Unternehmen verwendet und scheinen die hierzulande
üblicherweise erhältlichen vergleichbaren Geräte in ihrer Empfindlichkeit zu übertreffen.
Der zweite Grund ist, dass die Übertragung möglicherweise über Dauerwellen erfolgte,
die für Empfänger mit herkömmlichen Geräten nicht hörbar sind.
Durch den Einsatz von nach dem Überlagerungsprinzip arbeitenden,
oszillierenden Vakuumröhren, die „Schwebungssignale“ erzeugen,
welche durch die erwähnten Relais weiter verstärkt werden können, wäre es Sayville möglich gewesen,
Signale zu interpretieren, die für die üblicherweise zur Übersetzung von über Dauerwellen übertragenen
Nachrichten verwendeten Ticker-Empfänger völlig zu schwach waren.
["sustained waves" = "Dauerwellen" / ungedämpfte Schwingungen]

Es zeigt sich aus dieser Quelle, dass der "aperiodische Universal-Verstärker" bereits Ende Mai 1913
weitgehend für die praktische Erprobung durchgebildet war. Es lohnt sich sehr, das Original daraus zu extrahieren.
h t t p s://w w w.radiomuseum.org/forum/lieben_roehre_versuche_vom_jahr_1913.html?language_id=1

Weil ich wissen wollte, wie es zu der Röhre kam, wurden einige Primärquellen zusammengetragen:
https://www.wumpus-gollum-forum.de/forum...&thread=332

Die wichtigste natürlich der Bericht von Eugen Reisz, einem der Konstrukteure der ersten praktisch
nutzbaren Verstärkerröhre :
h t t p s://archive.org/details/elektrotechnische-zeitschrift-34.1913/page/1359/mode/2up

Gruß
Jens

Zuletzt bearbeitet am 31.01.26 00:12

Datei-Anhänge
Prinzipschaltbild Nauen Frequenzumformer ETZ1919.jpg Prinzipschaltbild Nauen Frequenzumformer ETZ1919.jpg (6x)

Mime-Type: image/jpeg, 133 kB

Schaltplan Lieben-Röhre als Empfangsverstärker Jahrbuch 1914 s456.jpg Schaltplan Lieben-Röhre als Empfangsverstärker Jahrbuch 1914 s456.jpg (8x)

Mime-Type: image/jpeg, 53 kB

!
!!! Fotos, Grafiken nur über die Upload-Option des Forums, KEINE FREMD-LINKS auf externe Fotos.    

!!! Keine Komplett-Schaltbilder, keine Fotos, keine Grafiken, auf denen Urheberrechte Anderer (auch WEB-Seiten oder Foren) liegen!
Solche Uploads werden wegen der Rechtslage kommentarlos gelöscht!

Keine Fotos, auf denen Personen erkennbar sind, ohne deren schriftliche Zustimmung.

Den Beitrag-Betreff bei Antworten auf Threads nicht verändern!
 1
 1
elektrotechnische-zeitschrift-34   Haupt-Gegenstation   Verstärkerröhre   Übersee-Kabelverbindungen   elektrotechnische-zeitschrift-40   Überlagerungsprinzip   Ticker-Empfänger   Fessenden-Prinzip   zusammengetragen   verhältnismäßig   jahrbuch-der-drahtlosen-telegraphie-und-telephonie-vol-8   Frequenzumformern   „Schwebungssignale“   wumpus-gollum-forum   Heterodyne-Überlagerer   Universal-Verstärker   Alexanderson-Maschine   Presse-Mitteilungen   Elektrotechnischen   Telefunken-Unternehmen