| Passwort vergessen?
Sie sind nicht angemeldet. |  Anmelden

Sprache auswählen:

Wumpus Gollum Forum von
Wumpus Welt der (alten) Radios
Sie sind nicht angemeldet.
 Anmelden

Zu hohe Leistungsaufnahme bei Blaupunkt FLORENZ 20350
  •  
 1
 1
16.11.20 21:04
Rhoenfan 

100-249 Punkte

16.11.20 21:04
Rhoenfan 

100-249 Punkte

Zu hohe Leistungsaufnahme bei Blaupunkt FLORENZ 20350

Hallo Forum,

ich habe wieder mal einen neuen Fall.

In der Werkstatt meines verstorbenen Onkels habe ich einen Blaupunkt Florenz 20350 ausgegraben.

Das Radio sieht noch sehr gut aus.

Nach Austausch der Röhren ECC85, EF89 und EABC80 hat es wieder einen sehr guten Empfang.

Auch der Klang und die Lautstärke sind sehr gut.

Allerdings gibt es folgendes Problem: Die Leistungsaufnahme des Radios ist zu hoch.

Nach etwa 5 Minuten ist die etwa 100 Watt, Tendenz steigend.

Laut Rückwand ist die maximale Leistungsaufnahme bei 70 Watt.

Die zwei Endröhren (EL84 und ECL86) werden echt turboheiß.


Ich habe dann den Strom am Minuspol des Brückengleichrichters gemessen (da kam ich am besten dran):

Nach 5 Minuten Laufzeit: 230 mA
Dann ziehen der EL84: 130 mA
Dann ziehen der ECL86: 35 mA
Nach ziehen aller Röhten. 0 mA

Also jede Endröhre zieht etwa 100 mA.

Ein Defekt der Kondensatoren im Anodenkreis liegt nicht vor denke ich, da kein Strom fließt wenn alle Röhren gezogen sind.

Ich habe denn an der EL84 weitergemessen:

Bei gezogener EL84 messe ich etwa 6 Volt am Gitteranschluss (wo kommen die her???). Der Widerstand zwischen Gitteranschluss und Chassis ist etwa 500 Megaohm.

Der Widerstand and der Kathode gegen Masse ist 160 Ohm.

Wenn die EL84 gesteckt ist messe ich folgende Werte nach 5 Minuten:

Spannung am Gitter: 17 Volt (Tendenz steigend)
Spannung and der Kathode: 17,3 Volt (Tendenz steigend)
Anodenspannung: 202 Volt
Schirmgitter (Pin 9): 216 Volt

Ich habe den Eindruck dass die Leistungsaufnahme immer weiter hochläuft je länger das Radio läuft.

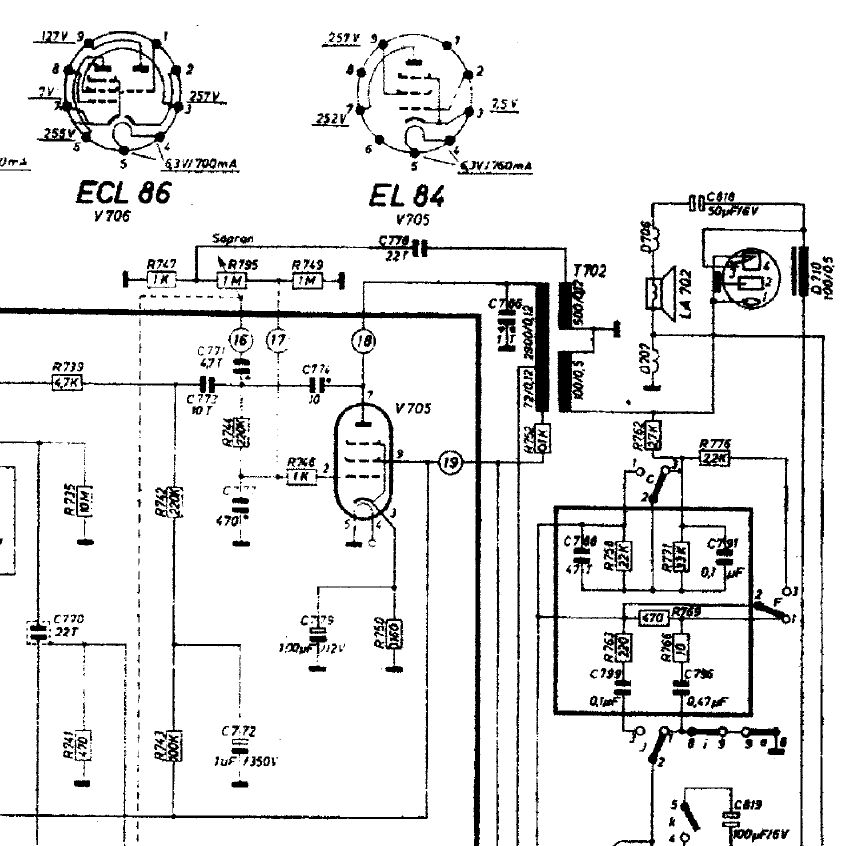
Ich habe einen Ausschnitt des Schaltplans angehängt den ich im Netz gefunden habe, ist leider schlecht leserlich.

Evtl. hat jemand einen besseren?

Hat jemand eine Idee woher das kommt?

Danke und Grüße
Thomas

Datei-Anhänge
EL84.jpg EL84.jpg (328x)

Mime-Type: image/jpeg, 128 kB

Noch gefällt der Beitrag keinem Nutzer.
!
!!! Fotos, Grafiken nur über die Upload-Option des Forums, KEINE FREMD-LINKS auf externe Fotos.    

!!! Keine Komplett-Schaltbilder, keine Fotos, keine Grafiken, auf denen Urheberrechte Anderer (auch WEB-Seiten oder Foren) liegen!
Solche Uploads werden wegen der Rechtslage kommentarlos gelöscht!

Keine Fotos, auf denen Personen erkennbar sind, ohne deren schriftliche Zustimmung.

Den Beitrag-Betreff bei Antworten auf Threads nicht verändern!
16.11.20 21:35
RWA 

50-99 Punkte

16.11.20 21:35
RWA 

50-99 Punkte

Re: Zu hohe Leistungsaufnahme bei Blaupunkt FLORENZ 20350

Hallo Thomas,
die positive Gitterspannung deutet auf einen defekten Koppelkondensator C773 hin. Ebenso dürfte der Kondensator C809 vor dem Gitter der Pentode der ECL86 defekt sein.
Viele Grüße
Roland

17.11.20 22:46
HB9 

500 und mehr Punkte

17.11.20 22:46
HB9 

500 und mehr Punkte

Re: Zu hohe Leistungsaufnahme bei Blaupunkt FLORENZ 20350

Hallo Thomas,

neben den von Roland erwähnten Fehlern können auch die Gitterableitwiderstände hochohmig geworden sein. Du hast ja vom Gitteranschluss der EL84 nach Masse 500M gemessen, das darf nicht sein, es sollte 1M sein. Dann wäre R749 defekt. Bei der ECL86 könnte das auch der Fall sein. Mehr als 1M vom Gitter zur Kathode (oder Masse) führt zu undefinierter Gitterspannung, die durch Gitteremission auch positiv werden kann und mit steigender Gittertemperatur steigt, was deinen Beobachtungen entspricht.

Da diese Röhren arg gequält wurden, ist zu empfehlen, nach dem Ersatz der defekten Teile die Gitterspannungen zu messen, diese dürfen nicht positiv sein, sonst haben die Röhren Gitteremission, dabei über mindestens 5 Minuten messen, die Spannungen dürfen nicht ansteigen.

Ob die Koppelkondensatoren noch gut sind, kannst du leicht prüfen, wenn sichergestellt ist, dass die Gitterableitwiderstände gut sind. Bei gezogener EL84 und ECL86 und Lautstärke auf Minimum wird die Gitterspannung der beiden Endröhren gemessen, sie muss Null Volt sein. Ist sie positiv (mehr als 200mV, meistens steigt sie mit der Zeit an), ist ein Kondensator defekt. Direkt nach dem Einschalten misst man eine Spannung, bis die Kondensatoren geladen sind, aber diese muss auf Null zurückgehen.

Gruss HB9

18.11.20 10:47
Rhoenfan 

100-249 Punkte

18.11.20 10:47
Rhoenfan 

100-249 Punkte

Re: Zu hohe Leistungsaufnahme bei Blaupunkt FLORENZ 20350

Hallo Roland und HB9,

vielen Dank für die Tipps!

Die Koppelkondensatoren werde ich bis zum Wochenende austauschen.

Bei meinem Gerät sind für die Koppelkondensatoren (10nF und 22nF) Elkos verbaut. Wieso Elkos?

Ich habe vor diese durch rote WIMAs zu ersetzen, ist das OK?

Auch die Gitterableitwiderstände werde ich ersetzen.

Bei der ECL86 ist ein Widerstand ziemlich verschmort habe ich gesehen, mal nachforschen welcher das ist.
Die Verschaltung um die ECL86 ist ein ziemlicher Drahtverhau.


Den R749 sehe ich auf meinem Schaltbild nicht. Habe mich schon gewundert das da kein Gitterableitwiderstand ist.

Evtl. sollte ich da zusätzlich einen einlöten?

Danke nochmal und beste Grüße
Thomas

18.11.20 10:55
ELEK 

250-499 Punkte

18.11.20 10:55
ELEK 

250-499 Punkte

Re: Zu hohe Leistungsaufnahme bei Blaupunkt FLORENZ 20350

Zitieren:
Bei meinem Gerät sind für die Koppelkondensatoren (10nF und 22nF) Elkos verbaut. Wieso Elkos?

Ich habe vor diese durch rote WIMAs zu ersetzen, ist das OK?

Auch die Gitterableitwiderstände werde ich ersetzen.

Hallo,

das sind keine Elkos, auch wenn ggf die Bezeichnung darauf hindeutet. Die Papierkondensatoren ohne Messen austauschen, rote WIMAs sind völlig o.k., auf Spannungsfestigkeit achten.

Gitterableitwiderstände ruhig Messen zur systematischen Fehlersuche, mit Ausnahme der Problemkondensatoren ist das eindeutige Messen immer der Beste Weg, nicht immer kommt man damit ohne Umwege zum Ziel, für das Erfahrungen sammeln is er aber wichtig.

Gruß Ingo

18.11.20 15:14
Rhoenfan 

100-249 Punkte

18.11.20 15:14
Rhoenfan 

100-249 Punkte

Re: Zu hohe Leistungsaufnahme bei Blaupunkt FLORENZ 20350

Hallo,

habe den R749 gefunden.

Der ist am Sopranregler angeschlossen.

Grüße
Thomas

18.11.20 15:28
laurel1 

500 und mehr Punkte

18.11.20 15:28
laurel1 

500 und mehr Punkte

Re: Zu hohe Leistungsaufnahme bei Blaupunkt FLORENZ 20350

Moin Thomas,

einen zusätzlichen Gitterableitwiderstand einzulöten ist keine gute Idee. Bedingt dadurch, dass der Andere auch noch verbaut ist, ergibt sich dann eine Parallelschaltung der Beiden. Dadurch passt dann der Wert überhaupt nicht mehr.

Schaue mal in deinen Schaltplanausschnitt welchen Du im ersten Beitrag eingefügt hast. Oben ist der Regler Sopran (für einen Kanal) eingezeichnet, rechts davon
liegt R749. Insofern könnte der Widerstand an diesem Regler verdrahtet sein, einfach dort mal schauen.

Beste Grüße
Peter

OK, da war ich zu langsam :-)

Zuletzt bearbeitet am 18.11.20 15:29

24.11.20 22:14
Rhoenfan 

100-249 Punkte

24.11.20 22:14
Rhoenfan 

100-249 Punkte

Re: Zu hohe Leistungsaufnahme bei Blaupunkt FLORENZ 20350

Hallo,

danke nochmal für die Hinweise.

Die Koppelkondenstoren waren das Problem.

Nach dem Austausch der Koppelkondensatoren sind die Spannungen an der ECL86 und EL84 die Werte wie im Schaltplan angegeben.

Die Leistungsaufnahme des Radios ist stabil bei ca. 64 Watt, auch nach einer Stunde Laufzeit.

Echt super

Grüße
Thomas

 1
 1
Blaupunkt   Gittertemperatur   Parallelschaltung   Gitteremission   Gitterableitwiderstände   systematischen   Koppelkondenstoren   Gitterspannung   Papierkondensatoren   Koppelkondensator   Leistungsaufnahme   Koppelkondensatoren   Gitteranschluss   Gitterspannungen   Problemkondensatoren   Schaltplanausschnitt   Brückengleichrichters   FLORENZ   Spannungsfestigkeit   Gitterableitwiderstand