| Passwort vergessen?
Sie sind nicht angemeldet. |  Anmelden

Sprache auswählen:

Wumpus Gollum Forum von
Wumpus Welt der (alten) Radios
Sie sind nicht angemeldet.
 Anmelden

Imperial Stassfurt 50WK
  •  
 1 2 3
 1 2 3
07.05.15 19:22
friedrich-kutnik 

500 und mehr Punkte

07.05.15 19:22
friedrich-kutnik 

500 und mehr Punkte

Imperial Stassfurt 50WK

Hallo Zusammen!

Ich habe neulich ein wunderschönes Imperial Stassfurt 50WK für Restauration erworben.
Bevor was mit Restauration anzufangen, habe ich das Radio in Netz eingeschaltet. Da kämm nur leichtes Geräusch.
Optisch war alles OK. Nach dem, als ich habe die Spannungen ausgemessen, konnte ich fest stellen,
dass Anodenspannung liegt bei ca. 180V, statt 230V. Austausch von Röhren hat nichts geändert. Siebelkos sind auch OK.
Aber was ist interessant, und für mich ist auch ein Rätsel:
nach dem Einschalten, Anodenspannung springt sofort auf ca. 340V, aber dann langsam sinkt auf 180V. Es dauert ca. 1 Minute.
Wenn ich ziehe die ECL11 raus, springt das Spannung wieder auf 230V.
Und was noch interessanter - wenn ich gebe ein Signal auf Eingang NFV (Gitter ECL11), sofort erhöht sich Spannung bis 230V!
Das verstehe ich nicht.
Kann mir jemand erklären was das ist und wo kann die Problem liegen?






MfG Friedrich

Zuletzt bearbeitet am 07.05.15 23:02

Datei-Anhänge
1.jpg 1.jpg (392x)

Mime-Type: image/jpeg, 280 kB

Noch gefällt der Beitrag keinem Nutzer.
!
!!! Fotos, Grafiken nur über die Upload-Option des Forums, KEINE FREMD-LINKS auf externe Fotos.    

!!! Keine Komplett-Schaltbilder, keine Fotos, keine Grafiken, auf denen Urheberrechte Anderer (auch WEB-Seiten oder Foren) liegen!
Solche Uploads werden wegen der Rechtslage kommentarlos gelöscht!

Keine Fotos, auf denen Personen erkennbar sind, ohne deren schriftliche Zustimmung.

Den Beitrag-Betreff bei Antworten auf Threads nicht verändern!
07.05.15 21:59
MB-RADIO 

500 und mehr Punkte

07.05.15 21:59
MB-RADIO 

500 und mehr Punkte

Re: Imperial Stassfurt 50WK

Hallo Friedrich,

ich vermute irgendein defektes Bauteil im G1-Umfeld der der Endpentode womöglich der Gitterableitwiderstand hochohmig geworden.

Viele Grüße
Bernd

07.05.15 22:21
wumpus 

Administrator

07.05.15 22:21
wumpus 

Administrator

Re: Imperial Stassfurt 50WK

Hallo Friedrich,

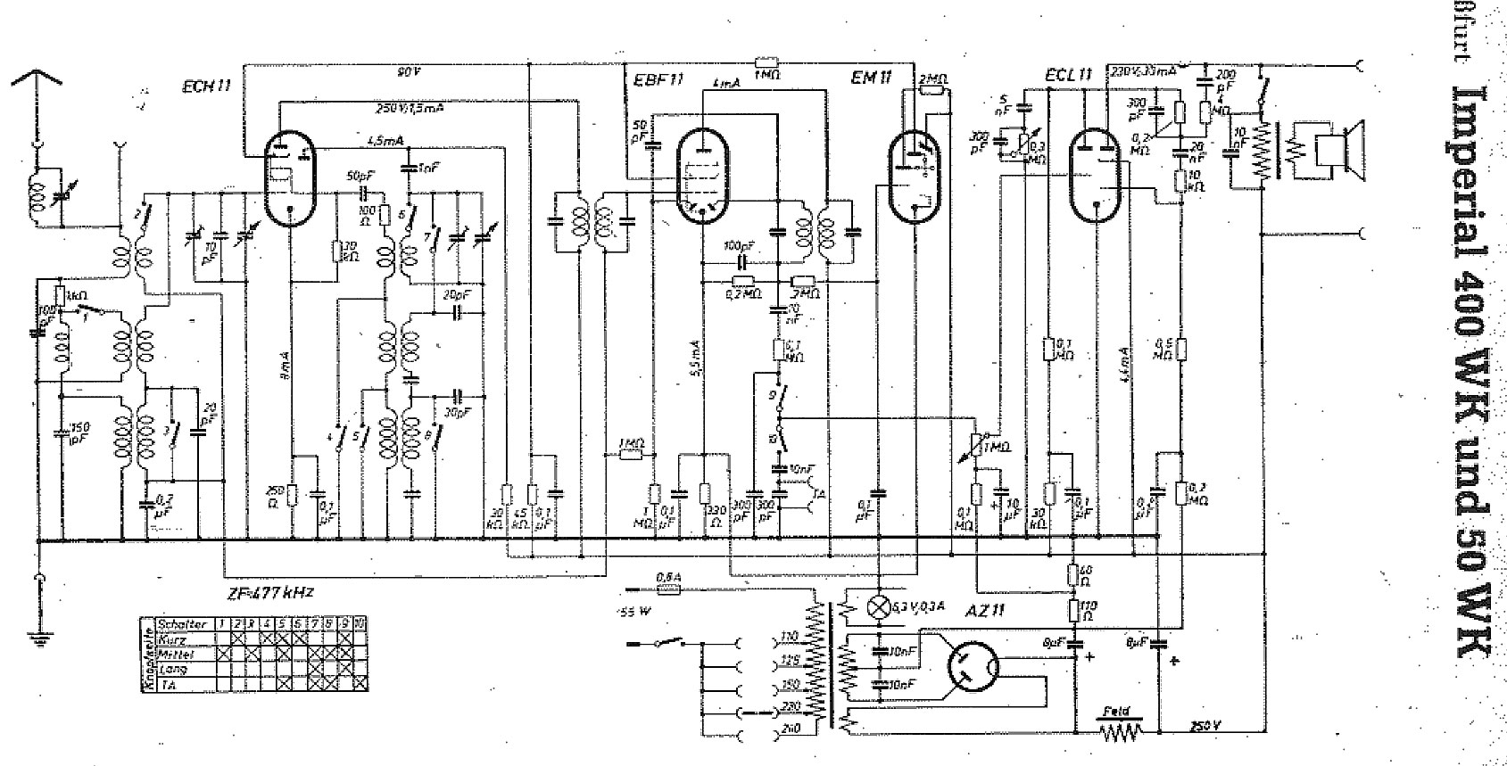
die Gittervorspannung für die ECL wird im Netzteil über die beiden dortigen Widerstände 40 und 110 Ohm erzeugt. Stimmt da alles? Wie hoch sind die beiden Gitter 1 Spannungen gegenüber Masse? Es kann auch sein, dass da die ECL schwingt.




Gruß von Haus zu Haus
Rainer (Forumbetreiber)

07.05.15 23:00
nobbyrad58 

500 und mehr Punkte

07.05.15 23:00
nobbyrad58 

500 und mehr Punkte

Re: Imperial Stassfurt 50WK

Hallo Friedrich!

Frage: Welches Gitter der ECL 11 das der Triode oder der Tetrode? Ich gehe mal von dem Tetroden g1 von dem L System. Möglich das auch die 0,6 und 0,7 M Ohm nicht mehr gut sind. Die Signal Spannung an g1 oder deren Ri wirkt dann als Gitterableitwiderstand. Der Block C 20 nF von Anode Triode zum g1 Tetrode auch mal prüfen.

MFG Nobby

Zuletzt bearbeitet am 07.05.15 23:21

08.05.15 00:59
Dietmar-Klaus 

100-249 Punkte

08.05.15 00:59
Dietmar-Klaus 

100-249 Punkte

Re: Imperial Stassfurt 50WK

Hallo Friedrich

Erst mal die sogenannten Teerkondensatoren wechseln , das sind die mit braunen Papprohr , das Rohr kann aber auch aus Glas sein und ist mit Papier überklebt. Die Kondensatoren haben meist ,durch ihr alter, falsche Werte und einen zu hohen Leckstrom . Auch schadet es nichts, die Kontakte im Wellenschalter zu reinigen.

MfG. Dietmar Klaus

08.05.15 08:37
wumpus 

Administrator

08.05.15 08:37
wumpus 

Administrator

Re: Imperial Stassfurt 50WK

nobbyrad58:
Hallo Friedrich!

Frage: Welches Gitter der ECL 11 das der Triode oder der Tetrode? Ich gehe mal von dem Tetroden g1 von dem L System.

MFG Nobby

Betraf das meine Frage nach den Gitter 1 Spannungen der ECL?

Beide Steuergitter (wenn dort die Spannungen nicht stimmen) können die Anodenspannungen verschieben. Da bei diesem Gerät (wie schon von mir erwähnt) die Gitter 1 - Vorspannungen im Netzteil durch Stromabfall über die erwähnten zwei Widerstände erzeugt werden, kann ein zu hoher Stromfluss durch das Gesamtgerät diese Giter 1- Spannungen "verbiegen". Aber hat lecke Koppelkondensatoren können dem Gitter 1 (Tetrode) falsche positive Spannungen aufdrücken und damit indirekt die Vorspannungserzeugung im Netzteil beeinflussen und das wiederum damit auch das Gitter 1 der Triode beeinflussen.

Beste Grüße
Rainer

08.05.15 09:52
friedrich-kutnik 

500 und mehr Punkte

08.05.15 09:52
friedrich-kutnik 

500 und mehr Punkte

Re: Imperial Stassfurt 50WK

Hallo Zusammen.

Ich bedanke mich erst mal herzlich für Ihre Antworten und Hilfe. Das hat mir sehr geholfen.

Ich habe alle Widerstände , die in die beide Teile das Rohr die Gittervorspannungen erzeugen, durchgemessen.
Alle Werte waren in die Grenzen.
Beim Ausmessen von die Gittervorspannungen fabe ich festgestellt, dass bei die gt (Triode) Spannung liegt in die Grenzen von: -2,9V.
Das ist OK. Aber bei g1Q statt: -6V, habe ich nur +0,3. Anodenspannung aQ ist auch nur 160V.
Beim reduzieren den Widerstand 0,5 M auf 150K, Gitterspannung erhöht sich auf: -3,9V und Anodenspannung auf 210V.
Das Radio arbeitet deutlich lauter, und man kann schon einige Sender abhören.

Aber so was soll doch nicht sein? Irgend wo steck noch was.


MfG Friedrich

Zuletzt bearbeitet am 08.05.15 09:53

08.05.15 10:07
wumpus 

Administrator

08.05.15 10:07
wumpus 

Administrator

Re: Imperial Stassfurt 50WK

Hallo Friedrich,

Hast Du den 20 nF von der Anode der Triode zum Steuergitter der Tetrode geprüft oder getauscht? Der könnte einen Feinschluß haben.

Im Normalfall sollten über den 40 und 110 Ohm (in der Gittervorspannungsrzeugung des Netzteils) in Reihe ca. 8 Volt abfallen.

Gruß von Haus zu Haus
Rainer (Forumbetreiber)

08.05.15 10:32
friedrich-kutnik 

500 und mehr Punkte

08.05.15 10:32
friedrich-kutnik 

500 und mehr Punkte

Re: Imperial Stassfurt 50WK

Hallo Rainer,

ja, ich meine G1Q das Tetroden-Steuergitter. Der 20nF bei Prüfung war OK.
Ich habe im doch ausgetauscht, und jetzt ist alles mit die Spannungen in Ordnung!
Danke Rainer!


MfG Friedrich.

08.05.15 11:14
wumpus 

Administrator

08.05.15 11:14
wumpus 

Administrator

Re: Imperial Stassfurt 50WK

Hallo Friedrich,

das ist genau der Punkt: Vielleicht auch für andere interessant. Misst man mit einem normalen Vielfachinstrument, kann es sein, dass ein solcher Kondensator keinen Fehler zeigt. Der Grund ist: erst bei höheren Spannungen wird der Kondensator leitend, es liegt ein spannungsabhängiger Feinschluss vor. Deshalb gab es früher (im vorigen Jahrhundert ) spezielle Ohm-Meter, die mit Prüfspannungen von ca. 250 - 400 Volt arbeiteten, zumeist mit eingebautem Spannungswandler.

Diese Hochvolt-Ohmmeter haben so manchen "ist doch in Ordnung" - Kondensator entlarvt.


Gruß von Haus zu Haus
Rainer (Forumbetreiber)

 1 2 3
 1 2 3
Spannung   Regelspannungserzeugung   spannungsabhängiger   Papierkondensatoren   Imperial   Vorspannungserzeugung   Koppelkondensatoren   Isolationswiderstand   Kathodenwiderstände   Isolationsprüfgeräte   Forumbetreiber   Friedrich   Gittervorspannungen   Tetroden-Steuergitter   Anodenspannung   Gitterableitwiderstand   Gittervorspannungsrzeugung   Stassfurt   Kondensator   Koppel-Kondensator