| Passwort vergessen?
Sie sind nicht angemeldet. |  Anmelden

Sprache auswählen:

Wumpus Gollum Forum von
Wumpus Welt der (alten) Radios
Sie sind nicht angemeldet.
 Anmelden

Generalüberholung Oberon Stereo im Ramona-Musikschrank - Tips? Erfahrungen?
  •  
 1 2 3 4 5
 1 2 3 4 5
01.03.18 09:24
Herrmann 

500 und mehr Punkte

01.03.18 09:24
Herrmann 

500 und mehr Punkte

Re: Generalüberholung Oberon Stereo im Ramona-Musikschrank - Tips? Erfahrungen?

Zitieren:
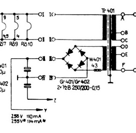
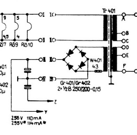
Für die induzierte NF stellt der Pfad über die Elkos und den Widerstand 2kOhm eine zusätzliche Last dar, so daß hier wertvolle NF-Nutzleistung verlorengeht. Wie hoch dieser Verlust ist, kann ich nur sagen wenn das Teilungsverhältnis der Wicklung bekannt ist.

OK, eigentlich braucht man nur den Ri der EL84 ins Verhältnis zu den 2 kOhm setzen. Dieser beträgt laut Datenblatt 38 kOhm. Somit muß das Spannungsverhältnis von 1-2 zu 2-3 19:1 betragen. Bei Vollaussteuerung mit 5,7W Sprechleistung liegen an 1-2 Wurzel(5,7W*5200 Ohm) = 172V an. Somit liegen an 2-3 9V an. Dadurch geht am Widerstand 2kOhm eine Nutzleistung von 9²/2 = 41mW verloren, also 0,72% der Nutzleistung. Das ist noch im Rahmen.

Einen kleinen Vorteil dieser Brummkompensation gibt es noch: Die DC-Vormagnetisierung des AÜs wird durch den Stromverbrauch der Vorstufen geringfügig abgeschwächt, überschlägig gerechnet um 2,2%.

Viele Grüße, Herrmann

Zuletzt bearbeitet am 01.03.18 09:38

!
!!! Fotos, Grafiken nur über die Upload-Option des Forums, KEINE FREMD-LINKS auf externe Fotos.    

!!! Keine Komplett-Schaltbilder, keine Fotos, keine Grafiken, auf denen Urheberrechte Anderer (auch WEB-Seiten oder Foren) liegen!
Solche Uploads werden wegen der Rechtslage kommentarlos gelöscht!

Keine Fotos, auf denen Personen erkennbar sind, ohne deren schriftliche Zustimmung.

Den Beitrag-Betreff bei Antworten auf Threads nicht verändern!
01.03.18 10:06
Antennow

nicht registriert

01.03.18 10:06
Antennow

nicht registriert

Re: Generalüberholung Oberon Stereo im Ramona-Musikschrank - Tips? Erfahrungen?

Hermann,

beim Monogerät beträgt der Widerstand nur 1 kOhm, eben nur für eine Endröhre. Für die Rechnung genügt eine Betrachtung nur der Ruheströme nach beiden Richtungen. Ein Widerstand transformiert sich mit dem Quadrat des Übersetzungsverhältnisses am Ausgangstrafo. Für die Rechnung müßte das Übersetzungsverhältnis bekannt sein. Wegen des Blindanteils müßte man genau genommen komplex rechnen. Ich denke, die Entwickler dieser Schaltung haben den Widerstand empirisch ermittelt. In der analogen "Schwachstromtechnik" war das eine sehr verbreitete Methode. Die Starkstromer, zu denen ich eine Zeit lang gehörte, haben die Schwachstromer oft um diese Möglichkeit beneidet, allerdings auch mehr oder weniger verachtet :-)
Für eine optimale Brummkompensation würde ich diese Widerstände variabel machen. Damit könntest Du auch Streuungen der Röhrendaten kompensieren.

Keep testing!

Antennow

01.03.18 10:27
Herrmann 

500 und mehr Punkte

01.03.18 10:27
Herrmann 

500 und mehr Punkte

Re: Generalüberholung Oberon Stereo im Ramona-Musikschrank - Tips? Erfahrungen?

Hallo Antennov,

beim Stereogerät hat jede Endstufe ihren eigenen 2 kOhm-Widerstand, und gleichstrommäßig sind beide (aus Sicht des Vorstufen-Stroms) parallel geschaltet, somit kommt man beim Stereogerät wieder auf einen resultierenden Widerstand von 1kOhm, so daß der DC-Spannungsabfall der gleiche ist wie beim Monogerät.

Allerdings muß der AÜ beim Monogerät ein anderes Teilungsverhältnis haben, und zwar 38:1. Das ist ungünstig wegen des Gleichteilegebots rationeller Massenproduktion. Der AÜ ist auch nicht "universal" mit 2 Kompensations-Anzapfungen, habe gerade geschaut. Es gehen nur 5 Drähte raus.

Viele Grüße, Herrmann



Zuletzt bearbeitet am 01.03.18 10:50

Datei-Anhänge
Oberon Netzteil.png Oberon Netzteil.png (367x)

Mime-Type: image/png, 51 kB

Oberon Detail.png Oberon Detail.png (373x)

Mime-Type: image/png, 100 kB

01.03.18 11:25
ingodergute 

Moderator

01.03.18 11:25
ingodergute 

Moderator

Re: Generalüberholung Oberon Stereo im Ramona-Musikschrank - Tips? Erfahrungen?

Hallo Herrmann,

Nachteil diser Art der Kompensation ist wohl auch, daß bei Aussteuerung der Endstufe die Kompensation moduliert wird. Man hat also möglicherweise bei hohen Aussteuerungen einen erhöhten Brummanteil, der allerdings fürs Ohr durch das laute Nutzsignal übertönt wird. Testen könnte man das Ganze, indem man z.B. ein von 100 Hz weit entferntes Signal, das kein Vielfaches von 100 Hz ist (z.B. 3333 Hz), einspeist, und dann nur den niederfrequenten Anteil im Ausgangssignal aam Lautsprecher anschaut. Aber das ist natürlich rein akademisch. In der Praxis hat sich diese Schaltung offensichtlich bewährt und erfüllt bezogen auf die Mehrzahl der Nutzsignale ihren Zweck.

Meine Eltern hatten genau dieses Gerät in einer Peter-Truhe, ursprünglich zusammen mit Plattenspieler und Bar-Teil - nach Umbau durch meine Vater mit Tonbandgerät (Tonmeister, später Smaragd) und Fernseher (Rafena Patriot). Ich kenne dieses Gerät als sher zuverlässig und langlebig. Ich habe irgendwann einen Stereodekoder mit A290D eingebaut, den ich im Ersatzteilhandel in Erfurt erworben habe und den Stereo-Umbau meinen Eltern zu Weihnachten geschenkt. DIe Kanaltrennung war sehr gut, ein MPX-Filter wäre hilfreich gewesen, denn bei benachbarten Stereosendern war manchmal Zwischern in Sprechpausen zu hören.

Viele Grüße

Ingo.
_____________
Analog bleiben!

01.03.18 11:34
HB9 

500 und mehr Punkte

01.03.18 11:34
HB9 

500 und mehr Punkte

Re: Generalüberholung Oberon Stereo im Ramona-Musikschrank - Tips? Erfahrungen?

Hallo zusammen,

die Brummkompensation ist eigentlich mehr eine Behelfslösung, um ohne Zusatzkosten den Brumm etwas zu reduzieren. Da der Strom der Vorstufen nicht konstant ist (z.B. Zuschalten des UKW-Tuners, Schwundregelung, teilweise Abschaltung des HF-Teils bei Plattenspielerbetrieb, usw.) kann die Kompensation nie genau stimmen. Dazu kommt noch, dass die Kompensation frequenzabhängig ist und somit für die immer stärker werdenden Oberwellen der Netzspannung nicht stimmt.

Für eine brummfreie Wiedergabe geht eigentlich nur eine Gegentaktendstufe und eine sehr gute Siebung, denn neben dem bei Stille hörbaren Brumm gibt es auch eine Brumm-Modulation der NF, und das ist nichts anderes als eine Verzerrung.
Weiter ist zu beachten, dass je nach Aufbau auch vom Heizkreis ein nicht unerheblicher Brumm kommen kann, auch eine magnetische Kopplung zwischen Ausgangs- und Netztrafo oder vom Netztrafo in die NF-Vorstufe kommt bei ungünstigem Aufbau vor.

Somit ist die Idee von Herrmann angedachte Siebdrossel und grosse Elkos sicher der richtige Weg, wenn man die Klangqualität verbessern will. Am besten wird dann auch die Brummkompensation stillgelegt (also den Widerstand an die Anzapfung des Ausgangstrafos anschliessen), denn durch diese wird die Gleichspannung der Vorstufen mit der NF moduliert, was einerseits den Sieb-Elko zusätzlich belastet und andererseits unerwünscht ist. Auch bewirkt die Brummkompensation durch die frequenzabhängige Belastung des Ausgangs ein Verbiegen des Frequenzgangs.

Zur Lebenserwartung von Elkos ist noch folgendes anzumerken:
"Kleine" Elkos (Niedervolt-Elkos, Ratio-Elko, Elkos in Lautsprecher-Frequenzweichen) sind nach 50 Jahren fast sicher schlecht bis unbrauchbar, da sie ausgetrocknet sind. Die "fetten" Hochvolt-Elkos dagegen sind nach meiner Erfahrung meistens gut. Die Schweizer (Condensateur Fribourg) sind auch nach 80 Jahren noch neuwertig, leider wurden diese nur bis Anfang 50er-Jahre verbaut. Die Nachkriegs-Typen von Philips und Siemens sind nach einer allfälligen Formierung auch immer gut, ausser sie wurden durch unsachgemässe Behandlung beschädigt. "Nass-Elkos" (z.B. die Vorkriegstypen von Philips) sind dagegen so gut wie sicher nicht mehr brauchbar, ebenso alle mit mangelhafter Dichtheit.

Gruss HB9

01.03.18 11:40
wumpus 

Administrator

01.03.18 11:40
wumpus 

Administrator

Re: Generalüberholung Oberon Stereo im Ramona-Musikschrank - Tips? Erfahrungen?

Hallo zusammen,


ich erhielt per email vier Fotos von "Frank der Moschti" (aus einem anderen Forum) mit der Genehmigung sie hier zu zeigen:










Grüße von Haus zu Haus
Rainer, DC7BJ (Forumbetreiber)
Ein Leben ohne Facebook ist möglich, aber(und) sinnvoll.

Welt der alten Radios:
http://www.welt-der-alten-radios.de

Wumpus-Gollum-Forum:
http://www.wumpus-gollum-forum.de/forum

Virtuelle Voxhaus-Gedenktafel:
http://www.voxhaus-gedenktafel.de

Zuletzt bearbeitet am 01.03.18 11:40

Datei-Anhänge
Oberon Schaltleiste1.jpg Oberon Schaltleiste1.jpg (351x)

Mime-Type: image/jpeg, 100 kB

Oberon Schaltleiste2.jpg Oberon Schaltleiste2.jpg (330x)

Mime-Type: image/jpeg, 185 kB

Oberon Schaltleiste3.jpg Oberon Schaltleiste3.jpg (343x)

Mime-Type: image/jpeg, 98 kB

Oberon Schaltleiste4.jpg Oberon Schaltleiste4.jpg (356x)

Mime-Type: image/jpeg, 213 kB

01.03.18 12:12
ingodergute 

Moderator

01.03.18 12:12
ingodergute 

Moderator

Re: Generalüberholung Oberon Stereo im Ramona-Musikschrank - Tips? Erfahrungen?

Bevor ich irgend etwas an der Brummkompensation ändern würde, würde ich mir das Gerät erstmal nach der Reparatur im Originalzustand anhören. So schlecht war das Gerät auch ohne Änderung nicht. Ich habe es jedenfalls nicht als auffällig brummend in Erinnerung - und ich war schon damals kritisch, als wir das Gerät in Benutzung hatten.

Viele Grüße

Ingo.
_____________
Analog bleiben!

01.03.18 14:32
Herrmann 

500 und mehr Punkte

01.03.18 14:32
Herrmann 

500 und mehr Punkte

Re: Generalüberholung Oberon Stereo im Ramona-Musikschrank - Tips? Erfahrungen?

Hallo Ingo, HB9 und Rainer,

vielen, vielen Dank für die Hinweise, Erläuterungen und Rainer für die Fotos. Nun habe ich eine gute Startbasis.

Ja, ich werde Schritt für Schritt vorgehen, das Gerät reinigen und zunächst Elkos und Kondensatoren und Röhren erneuern, ohne an der Schaltung etwas zu ändern.

Was mich wundert, ist, daß man den Heizkreis einseitig geerdet hat. Eine Mittelpunkterdung ist bei den empfindlichen ECC83-Vorstufen vorteilhaft. Wenn man 2 3,7V-Skalenlämpchen in Reihe schaltet und deren Mittelpunkt an Masse legt, hat man diese Entbrummerschaltung sogar gratis. (wäre meine Idee bei Kostendruck)

Viele Grüße, Herrmann

02.03.18 13:24
HB9 

500 und mehr Punkte

02.03.18 13:24
HB9 

500 und mehr Punkte

Re: Generalüberholung Oberon Stereo im Ramona-Musikschrank - Tips? Erfahrungen?

Hallo Herrmann,

die ECC83 hat normalerweise nur dann Brummprobleme, wenn sie für hohe Verstärkungen verwendet wird wie z.B. ein MM/MC- oder Mikrophon-Vorverstärker. Bei Line-Pegel gibt es nach meinen Erfahrungen nie Brummprobleme. Ich habe selber 2 Geräte mit ECC83 als NF-Vorstufe und Phasendreher mit anschliessender Gegentaktendstufe, eines mit EL84 und eines mit der ELL80. Beide Geräte sind komplett brummfrei, obwohl die Heizkreise einseitig geerdet sind. Wichtig ist hingegen, dass der Heizstrom nicht unkontrolliert in der Gegend des NF-Teils durch das Chassis fliesst und so Brummspannungen induziert, das gilt vor allem für die Endröhren mit ihren recht hohen Strömen.

Viel Spass bei der Renovation, das Gerät macht technisch einen sehr guten Eindruck, wenn ich den Schaltplan ansehe, da fehlt nur noch der Stereo-Dekoder und die Gegentakt-Endstufe.

Gruss HB9

03.03.18 14:36
Herrmann 

500 und mehr Punkte

03.03.18 14:36
Herrmann 

500 und mehr Punkte

Re: Generalüberholung Oberon Stereo im Ramona-Musikschrank - Tips? Erfahrungen?

Hallo zusammen,

da der Vorbesitzer einen geordneten Haushalt führte, gibt es noch diese historischen Dokumente. Diese Dateien dürfen hiermit für alle Arten von Online-Museen oder geschichtliche Abhandlungen verwendet werden.




Nach damaliger DDR-Kaufkraft (1963) war die Anschaffung vermutlich so groß wie heute ein Kleinwagen, oder? Ein Arbeiter mußte sicherlich ein Jahr darauf sparen.
Fast genau 1 Jahr nach dem Kauf wurde offensichtlich die ECC83 ersetzt. Allerdings hat die Ersatz-Type eine andere Kenn-Nummer, das verstehe ich nicht. Andere Charge? Anderer Hersteller?
Eigenmächtiges Röhrentauschen war während der Garantiezeit untersagt. Ist aber auch verständlich, bei Bestückungsfehlern wie z.B. bei der EBF89 an Stelle der EF89 liegt die Anodenspannung z.B. an der Dioden-Anode und es wird mindestens der Entkopplungswiderstand verbrennen.

(an alle die mal im Service waren: Gab es berüchtigte Röhren-Falsch-Stecker? Wo man sagte "Nicht DAS schon wieder!!!")

Viele Grüße, Herrmann

Datei-Anhänge
Oberon5.JPG Oberon5.JPG (356x)

Mime-Type: image/jpeg, 264 kB

Oberon6.JPG Oberon6.JPG (352x)

Mime-Type: image/jpeg, 210 kB

Oberon7.JPG Oberon7.JPG (341x)

Mime-Type: image/jpeg, 288 kB

 1 2 3 4 5
 1 2 3 4 5
Herrmann   Noval-Standard-Heizungsbeschaltung   Selen-Brückengleichrichter   Verlängerungskondensatoren   Lautsprecher-Frequenzweichen   Generalüberholung   Röhren-Entzerrvorverstärker   Schwingkreis-Induktivität   Induktivitäts-Vervierfachung   Parallel-Serienumschaltung   Ramona-Musikschrank   Vorsatz-Synchrodyneoszillator   Netzspannungswahlschalter   Übersetzungsverhältnisses   Lautstärke-Potentiometer   Empfänger-Eingangsimpedanz   Trägerschwund-Beseitigung   Grüße   Erfahrungen   Brummkompensation