| Passwort vergessen?
Sie sind nicht angemeldet. |  Anmelden

Sprache auswählen:

Wumpus Gollum Forum von
Wumpus Welt der (alten) Radios
Sie sind nicht angemeldet.
 Anmelden

Siemens Regalsuper RB33
  •  
 1 2
 1 2
20.05.13 11:02
Pendler2007 

500 und mehr Punkte

20.05.13 11:02
Pendler2007 

500 und mehr Punkte

Siemens Regalsuper RB33

Guten Morgen liebe Forumsgemeinde.

Habe zur Zeit oben genanntes Gerät in Arbeit,das mich langsam zur Verzweiflung treibt.
Bisher gemacht: Netzteil Sanierung(Gleichrichter und Ladeelko waren platt),grundsätzliche Funktion
vorhanden,allerdings schlechte Empfindlichkeit auf Ukw.
Spannungen an allen beteiligten Röhren geprüft,alle soweit im Toleranzbereich.
Kompletter Abgleich Zf und Hf durchgeführt( mit Messsender,10 Durchgänge!), was eine minimale Verbesserung
brachte.
Tuner testweise an Zf Teil eines ähnlichen Gerätes angeschlossen,soweit in Ordnung.
Testweise einen bekannt funktionierenden Tuner an Zf dieses Gerätes angeschlossen,schlechter Empfang.Der Fehler
liegt offenbar im ZF Teil des Gerätes.(habe den Tuner natürlich abgleichmässig an den Zf Teil angeglichen).
Tausch der Röhren Eabc80,Ef89 und Ech81 gegen bekannt funktionierende brachte nur minimale Verbesserung.

Nun gehen mir langsam die Ideen zur näheren Fehlereingrenzung aus.Vielleicht könnte mir ein Experte
nun weiterhelfen.
Danke schonmal für Antworten;o)

MfG,

Florian

regency und Volker gefällt der Beitrag.
!
!!! Fotos, Grafiken nur über die Upload-Option des Forums, KEINE FREMD-LINKS auf externe Fotos.    

!!! Keine Komplett-Schaltbilder, keine Fotos, keine Grafiken, auf denen Urheberrechte Anderer (auch WEB-Seiten oder Foren) liegen!
Solche Uploads werden wegen der Rechtslage kommentarlos gelöscht!

Keine Fotos, auf denen Personen erkennbar sind, ohne deren schriftliche Zustimmung.

Den Beitrag-Betreff bei Antworten auf Threads nicht verändern!
20.05.13 13:40
qw123 

500 und mehr Punkte

20.05.13 13:40
qw123 

500 und mehr Punkte

Re: Siemens Regalsuper RB33

Hallo Florian,

Pendler2007:
Der Fehler liegt offenbar im ZF Teil des Gerätes....
Nun gehen mir langsam die Ideen zur näheren Fehlereingrenzung aus....
Du schreibst nicht, ob auch in den AM-Bereichen die Empfindlichkeit schlecht ist.
Falls nicht, deutet vieles auf einen Fehler im Bereich der FM-ZF-Bandfilter hin.
z.B. defektes Bandfilter/Ratiofilter oder Abgleichfehler.

Da Du offenbar einen Meßsender hast, könntest Du diesen zur Überprüfung der Stufenverstärkung einsetzen.

1. Ausgangsspannung des Meßsenders bestimmen. Datenblatt oder Messung mit HF-Tastkopf. Bzgl. HF-Tastkopf-Selbstbau siehe Kompendium hier.

2. Falls nötig, mehrstufigen 50-Ohm-Abschwächer bauen. Damit das Meßsender-Signal (10.7MHz oder 470kHz) auf z.B. 100µV+/-10% abschwächen und an ECH81-Steuergitter legen. Wie man einen solchen Abschwächer berechnet und baut siehe Internet. Suchmaschine --> z.B. Abschwächer, attenuator, attenuator calculator.

3. evtl. vorhandene Schwundregelung lahmlegen. Maximale Stufenverstärkung (Gitter zu Filter-Ausgang) bei AM-ZF ca. 100...150. Bei FM ca. 30...50.
Nach AM-Diode sollten dann einige Volt DC stehen. Am Ratio-Elko mindestens 5...10V DC.

4. Falls nicht: bei jeder ZF-Stufe vor und nach Bandfilter ZF-Spannung messen mit Tastkopf. Dazu Eingangs-Spannung an ECH81 evtl. vergrößern. Nichtlinearität des Tastkopfs im Bereich kleiner Spannungen beachten. Siehe auch Thread Tastkopf hier im Forum.

Gruß

Heinz

20.05.13 13:56
Pendler2007 

500 und mehr Punkte

20.05.13 13:56
Pendler2007 

500 und mehr Punkte

Re: Siemens Regalsuper RB33

Hallo Heinz.

Danke für Deine Antwort.Werde das nun schrittweise abarbeiten.

Die Empfindlichkeit auf den AM Bereichen ist im Übrigen auch nicht so dolle,im Vergleich zu anderen Geräten,
aber die Diskrepanz is dort nicht so extrem auffällig wie bei Ukw.

Nun denn, ich werde versuchen,die Verstärkungsfaktoren der einzelnen Stufen zu bestimmen
und die Ergebnisse hier posten.

Eine Abgleichsanweisung des Herstellers habe ich glücklicherweise,daher denke ich,das ich beim Abgleich alles
richtig gemacht habe.Aber trotzdem werde ich das auch nochmal prüfen.

MfG,

Florian

20.05.13 16:09
Pendler2007 

500 und mehr Punkte

20.05.13 16:09
Pendler2007 

500 und mehr Punkte

Re: Siemens Regalsuper RB33

Hallo nochmal.

Habe mir den Testaufbau ,so gut es mit meinen Messmitteln ging ,aufgebaut.
Die Messungen ergaben ,dass die Verstärkung in der 1.Zf Stufe (Ech81) deutlich geringer
ist als in der 2.(Ef89).
Das sowohl auf Am als auch Ukw.Ist das nun ein Fehlerbild oder vielleicht Konstruktionsbedingt,durch
Verwendung zweier Röhrentypen?
Das lies sich auch durch erneuten Abgleich nicht weiter verbessern.
Mit den etwa 100 uV an G1 der Ech81 komme ich in Stellung Ukw auch nur auf maximal 3Volt Ratiospannung.
Fast hätte ich die Messergebnisse vergessen: Faktor 40 in der 2.Stufe,Faktor 10 in der ersten.
Bin gespannt,wie es weitergeht;o)

MfG,

Florian

20.05.13 16:54
roehrenfreak

nicht registriert

20.05.13 16:54
roehrenfreak

nicht registriert

Re: Siemens Regalsuper RB33

Moin Florian,

wie ist es denn um die Schirmgitterspannungen an der ECH81 und der EF89 bestellt? Könnte entweder der Blockkondensator faul sein oder der Vorwiderstand?

20.05.13 17:46
Pendler2007 

500 und mehr Punkte

20.05.13 17:46
Pendler2007 

500 und mehr Punkte

Re: Siemens Regalsuper RB33

Hi Jürgen.

Die Spannungen sind soweit alle im grünen Bereich.Eher etwas zu hoch,als zu niedrig.
Die Widerstände im Anodenkreis Ech und Ef sind messtechnisch in Ordnung.Schirmgitterspannung an Ech auch.Bei der Ef wird darüber
geregelt,es hängt an der Regelspannung(Ratiospannung).
Wenn ich die Regelung totlege,wird die Verstärkung natürlich etwas besser.Aber nach den letzten Messungen gehe ich davon
aus,dass ich den Fehler in der Umgebung Ech81 suchen muss,da hier der Verstärkungsfaktor doch deutlich niedriger
ist,als bei der Ef.Ich hab jetzt im Schaltbild gesehen,dass bei Ukw umschaltung ein Schalter die Spulen für Am überbrückt,
vielleicht gibt es da Übergangswiderstände.Das muss ich noch checken.

MfG,

Florian.

20.05.13 17:48
nobbyrad58 

500 und mehr Punkte

20.05.13 17:48
nobbyrad58 

500 und mehr Punkte

Re: Siemens Regalsuper RB33

Hallo Florian!

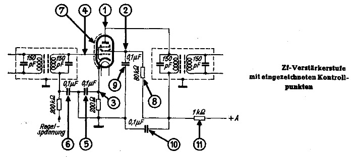
Kann auch hier wieder die Worte von Jürgen etwas illustrieren. Geringe Verstärkungsleistung verursachen taube Kondensatoren 9, 5, 6. Häufiger handelt es sich in einem solchen Fall um Fehler in den ZF- Bandfiltern, vor allem um einen Ausfall der Parallelkapazitäten zu den Spulen. Soweit aus "Leitfaden der Radio Reparatur" 1955. Heist das die Bandfilter geöffnet werden müssen im schlimmsten Fall

MFG Nobby

Datei-Anhänge
ZF Filter Schema 1a.jpg ZF Filter Schema 1a.jpg (354x)

Mime-Type: image/jpeg, 47 kB

ZF Filter Schema 1b.jpg ZF Filter Schema 1b.jpg (328x)

Mime-Type: image/jpeg, 35 kB

ZF Filter 2.jpg ZF Filter 2.jpg (313x)

Mime-Type: image/jpeg, 36 kB

20.05.13 17:53
Pendler2007 

500 und mehr Punkte

20.05.13 17:53
Pendler2007 

500 und mehr Punkte

Re: Siemens Regalsuper RB33

Hallo Nobby.

Das mit den Bandfilter Cs befürchte ich langsam auch aber ich möchte erstmal alle anderen
Fehlerquellen ausschliessen,ehe ich die filigranen Filterchen öffne.
Werde nun mal die Abblock Cs genauer unter die Lupe nehmen.

MfG,
Floriab

20.05.13 19:43
Pendler2007 

500 und mehr Punkte

20.05.13 19:43
Pendler2007 

500 und mehr Punkte

Re: Siemens Regalsuper RB33

Hallo alle zusammen.

Habe die beschriebenen Cs geprüft und gleich getauscht,da die Platine so blöd verbaut
ist.Deshalb mag ich die Geräte aus den 60ern auch nicht sonderlich,servicefreundlich sieht anders aus.
Ergebnis war,keine Veränderung der Ausgangssituation.Zusätlich ist nun noch ein Nf Brumm aufgetaucht und zu allem Übel
ist das Ausgangsfilter im Tuner verr.....! Also mach ich erstmal Schluss,die Nerven liegen blank.

Im Anbetracht der Tatsache,dass es kein sonderlich wertvolles Stück ist,würde ich eigentlich nun kapitulieren
und das Teil ins Regal als Ersatzteilspender legen.Aber es gehört einer Bekannten,die würde sich
freuen wenn das "gute Stück" wieder laufen würde(Familienerinnerungen).

Also erstmal sacken lassen.

MfG,

Florian

21.05.13 07:49
wumpus 

Administrator

21.05.13 07:49
wumpus 

Administrator

Re: Siemens Regalsuper RB33

Hallo Florian,
konntest Du beim UKW-ZF-Abgleich immer bei den Schwingkreisen ein eindeutiges Maximum (im jeweiligenAbstimmbereich) erreichen? Will sagen: Kann es sein, dass ein ZF-Kreis garnicht in Resonanz bei 10,7 mhz liegt?
Kannst Du ein Schalbild des Geräts an mich senden? email im Impressum.

Aufgeben würde ich die Fehlersuche noch nicht. Was passiert, wenn Du vom Gitter 1 der Ech zur ihrer Anode einen Kondensator von ca 30 bis 100 pf legst oder noch besser vom ZF-Ausgang des UKW-Teils hinter die Ech einkoppelst, also quasi die Ech_Stufe überbrückst?

Gruß von Haus zu Haus
Rainer (Forumbetreiber)

 1 2
 1 2
Verstärkungsleistung   Schirmgitterspannung   jeweiligenAbstimmbereich   DC-Ausgangsspannung   Verstärkungsfaktorbestimmung   Siemens   Abblock-Kondensatoren   HF-Spannungsmessung   Übergangswiderstände   Regalsuper   HF-Tastkopf-Selbstbau   HF-Eingangs-Spannung   Familienerinnerungen   Verstärkungsfaktor   Parallelkapazitäten   Ausgangskernstellung   Konstruktionsbedingt   Verstärkungsfaktoren   Schirmgitterspannungen   DC-Ausgangs-Spannung