| Passwort vergessen?
Sie sind nicht angemeldet. |  Anmelden

Sprache auswählen:

Wumpus Gollum Forum von
Wumpus Welt der (alten) Radios
Sie sind nicht angemeldet.
 Anmelden

Telefunken partner 200, drastische Änderung der Empfindlichkeit
  •  
 1 2
 1 2
17.04.11 22:46
NorbertWerner 

500 und mehr Punkte

17.04.11 22:46
NorbertWerner 

500 und mehr Punkte

Telefunken partner 200, drastische Änderung der Empfindlichkeit

Hallo zusammen,

gestern war ich auf einem Flohmarkt bei Lengries. Mir fiel ein Telefunken partner 200 auf. Das kleine Gerät hat mich fasziniert und so habe ich es für 10 Euronen gekauft. Die MW ist ok, aber im gesamten UKW-Bereich höre ich bei eingeschobener Antenne nur rauschen, so als wenn es hier keinen Sender mehr geben würde. Ziehe ich die Restantenne (sie ist leider nur noch zu einem Drittel vorhanden) raus, dann kann ich bei voll aufgedrehter Lautstärke zwei Sender im Rauschpegel erahnen. Wenn ich die Antenne jetzt aber mit ca. 2 Meter kabel verlängere, dann kann ich mehrere Sender mit guter Qualität empfangen. Hat jemand eine Ahnung was der Grund für dieses Verhalten sein kann?


Gruss
Norbert

Noch gefällt der Beitrag keinem Nutzer.
!
!!! Fotos, Grafiken nur über die Upload-Option des Forums, KEINE FREMD-LINKS auf externe Fotos.    

!!! Keine Komplett-Schaltbilder, keine Fotos, keine Grafiken, auf denen Urheberrechte Anderer (auch WEB-Seiten oder Foren) liegen!
Solche Uploads werden wegen der Rechtslage kommentarlos gelöscht!

Keine Fotos, auf denen Personen erkennbar sind, ohne deren schriftliche Zustimmung.

Den Beitrag-Betreff bei Antworten auf Threads nicht verändern!
18.04.11 10:40
wumpus 

Administrator

18.04.11 10:40
wumpus 

Administrator

Re: Telefunken partner 200, drastische Änderung der Empfindlichkeit

Hallo Norbert,

das kann verschiedene Ursachen haben:

1.) Die Antenne muß die Originallänge bekommen, aber auch nicht länger
2.) Die Antennenleitung von der Teleskopantenne zum UKW-Teil ist unterbrochen
3.) Die UKW-HF-Vorstufe (Transistor T1, MPS9625F) ist defekt.

Auch Mischformen aus 1, 2, 3 sind möglich.

Wenn Du messen kannst:

Am Transistor 1 (UKW-Teil) müssen folgende Spannungen (gemessen gegen Masse) anliegen: Basis 2,5 Volt, Emitter 3,2 Volt, Collector 0,14 Volt.



Gruß von Haus zu Haus Rainer (Forum-Betreiber)

Rettet den analogen deutschen AM / FM - Rundfunk!:
www.rettet-unsere-radios.de

18.04.11 18:29
joeberesf 

500 und mehr Punkte

18.04.11 18:29
joeberesf 

500 und mehr Punkte

Re: Telefunken partner 200, drastische Änderung der Empfindlichkeit

Hallo Norbert,

hier noch die Antennenlänge (78cm) und ein Foto von
meinem Gerät. Wenn die Antenne ganz zusammengeschoben
ist, empfängt es immer noch viele Stationen. Wenn Du es aufschraubst,
schau Dir auch die Filter und so an, vielleicht hat ja auch jemand versucht (ohne zu wissen wie)
Polizeifunk einzustellen..haha. In den Siebzigern war das doch üblich.....naja nicht immer.

Vielleicht ist ja etwas verstellt worden und Du musst neu abgleichen.

Gruß

Joe



Datei-Anhänge
partner200.JPG partner200.JPG (356x)

Mime-Type: image/pjpeg, 73 kB

Antenne 78cm.JPG Antenne 78cm.JPG (349x)

Mime-Type: image/pjpeg, 132 kB

19.04.11 00:47
NorbertWerner 

500 und mehr Punkte

19.04.11 00:47
NorbertWerner 

500 und mehr Punkte

Re: Telefunken partner 200, drastische Änderung der Empfindlichkeit

Hallo zusammen,

@Klaus
Ich werde versuchen so eine Antenne zu bekommen.
Was Deinen Punkt3 angeht, das könnte eine Möglichkeit sein, doch gehe ich dann davon aus, dass der Transistor nicht 'ganz' defekt ist, denn ich kann ja in einer guten Empfangslage mit einem langen Draht relativ gut empfangen.

@Joe
Meine Antenne ist nur noch 59cm und oben offen.
Was die Filter angeht, da hat jemand rote Markierungen angebracht die mit den Positionen der Schlitze der Ferritkerne übereinstimmen. Vielleicht hat da jemand mal gespielt, oder ist das original?
Oh ja, der Polizeifunk. Als ich damals noch in Kassel wohnte war ich garnicht begeistert über dessen Existenz. Wir wohnten ca. 500m entfernt eines Senders der Polizei und konnten ihn Glockenklar empfangen. Leider hörten wir ihn auf Kanal5 wo wir das DDR-Fernsehen empfangen konnten.
Allerdings, die UKW-Sender des Radios sind an der richtigen Stelle, deshalb gehe icc mal davon aus, dass die Einstellung noch stimmt.


Ich muss allerdings noch hinzufügen, dass die Halterung der Antenne stark verbogen war und der untere Plastikhalter abebrochen ist (nicht schlimm, kann geklebt werden). Ich kenne den Grund für den verbogenen Antennenhalter nicht, aber dadurch scheint eine Spule eingedrückt worden zu sein. Im angehängten Bild zeigt der rote Pfeil auf die Spule.
Bei meinen Messungen kam ich an den Drehko. Plötzlich verbesserte sich der Empfang deutlich. Im angehängten Bild zeigt der gelbe Pfeil auf die Position. Ich glaube ich muss mir doch mal einen Schaltplan besorgen.

Ach ja, auf dem besagten Flohmarkt wo ich dieses Radio kaufte kam ich an einen Stand wo Angler-Material angeboten wurde. Eine Angelrolle sollte (laut Anbieter) ein sehr altes, seltenes Stück sein. Ich kenne mich da nicht aus, aber die Angelleine darauf war das Gleiche wie Skalenseil. Habe mir davon natürlich einige Meter abgerollt.

Gruss
Norbert

Datei-Anhänge
Telefunken partner 200.jpg Telefunken partner 200.jpg (483x)

Mime-Type: image/jpeg, 146 kB

19.04.11 07:33
wumpus 

Administrator

19.04.11 07:33
wumpus 

Administrator

Re: Telefunken partner 200, drastische Änderung der Empfindlichkeit

Hallo Norbert,

Dein Fehlerbild ist eben gerade DOCH ein Hinweis auf einen defekten UKW-Vorstufentransistor. Weil: Wenn der defekt ist, schlagen STARKE Stationen doch noch zur selbstschwingenden leicht Mischstufe durch. Genauso hast Du den Fehler beschrieben.

Wenn die noch zu hörenden Sender an der richtigen Skalenstelle stehen, ist der Transistor als Ursache nicht unwahrscheinlich.
Gruß von Haus zu Haus Rainer (Forum-Betreiber)

Rettet den analogen deutschen AM / FM - Rundfunk!:
www.rettet-unsere-radios.de

19.04.11 07:55
Wolle 

500 und mehr Punkte

19.04.11 07:55
Wolle 

500 und mehr Punkte

Re: Telefunken partner 200, drastische Änderung der Empfindlichkeit

Hallo Norbert.

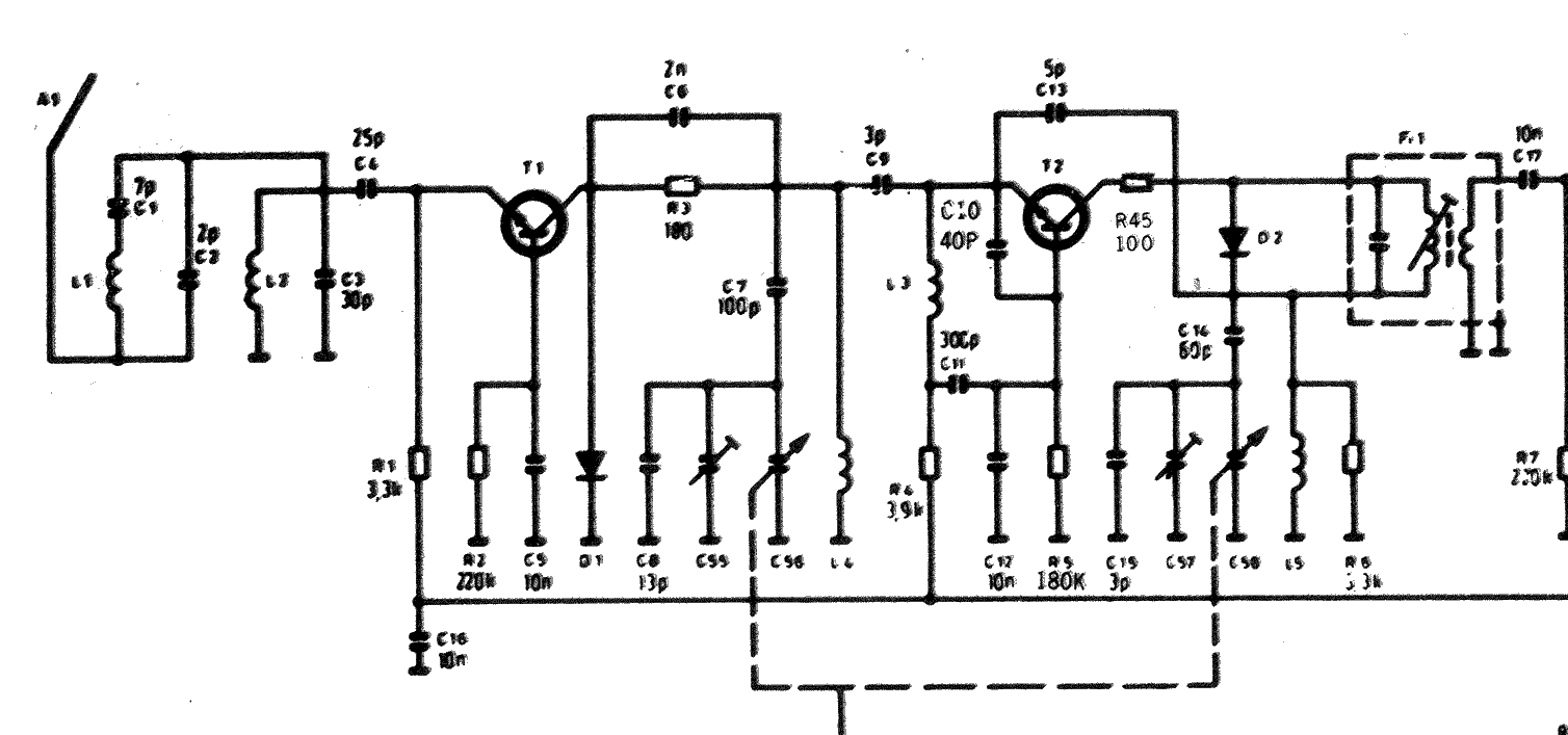
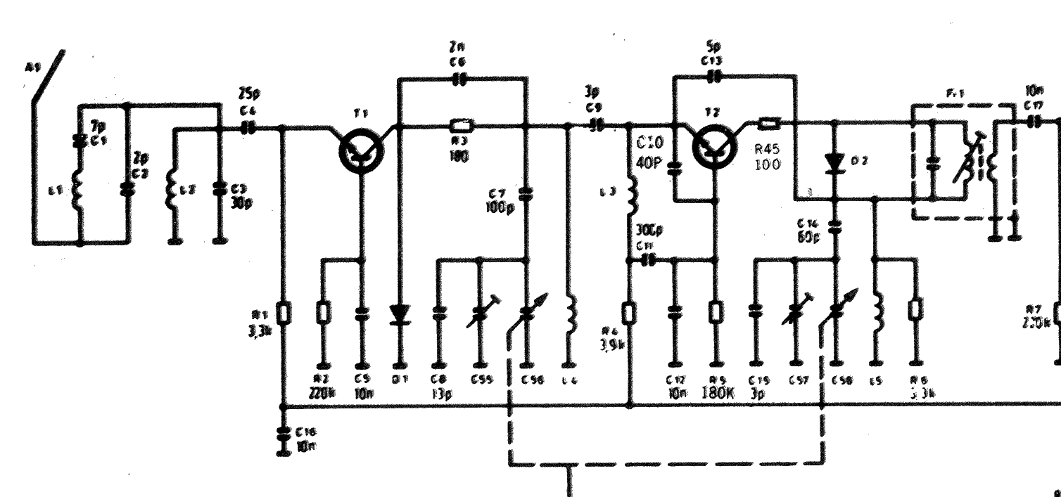
Ich sehe Dein Problem genauso, wie Rainer es beschrieben hat. Du kannst ja einmal den Emitter des Transistors T1 antasten und dann den Kollektor. Wenn am Kollektor der Empfang besser ist, dann ist der Transistor oder seine Spannungsversorgung defekt.



Mit vielen Grüßen.
Wolle

Datei-Anhänge
Tuner_sch2.png Tuner_sch2.png (378x)

Mime-Type: image/x-png, 44 kB

19.04.11 12:27
joeberesf 

500 und mehr Punkte

19.04.11 12:27
joeberesf 

500 und mehr Punkte

Re: Telefunken partner 200, drastische Änderung der Empfindlichkeit

Hallo Norbert,

in meinem Gerät sind die Stellungen der Bandfilter nicht rot markiert.
Das sieht schon sehr stark nach "rumfummeln" aus.
Deswegen hat der Vorbesitzer ja auch Markierungen gesetzt, um ohne Hilsmittel den
alten Stand wieder herzustellen.

Viel Erfolg bei der Fehlersuche an T1.

Gruß

Joe

19.04.11 21:35
NorbertWerner 

500 und mehr Punkte

19.04.11 21:35
NorbertWerner 

500 und mehr Punkte

Re: Telefunken partner 200, drastische Änderung der Empfindlichkeit

Hallo zusammen,

anhand des Schaltplanes würde ich auch sagen das der T1 ein 'heisser Kandidat' ist. Am Collector messe ich 0V, an der Basis -3.89V und am Emitter -4.48V gegen Masse. Es stimmt auch was Wolle sagt. Wenn ich mit meiner Messleitung an den Collector gehe, dann ist der Empfang besser als am Emitter (@Wolle danke für den Schaltplan). Ich hatte den Tansistor mal ausgelötet und durchgemessen, doch die N-P Übergänge sind ok. Ich messe hier weder einen Kurzschluss, noch eine Unterbrechung (hochohmig).
Gerade habe ich mal einen 220k Widerstand von der Basis von T1 nach Masse gelötet. Die Spannung am Emitter ist jetzt etwas niedriger (-4.09V) und (hurra) der Empfang wurde deutlich besser. Jetzt ist der Empfang gleich, egal ob ich mit meiner Messleitung an den Collector, oder den Emitter gehe. So wie es aussieht hat der T1 seine Kenndaten geändert.
Was die Filter angeht hat dann da wirklich jemand gespielt. Es scheint aber nichts ausgemacht zu haben.

Gruss
Norbert

19.04.11 22:25
Mark-Andre 

500 und mehr Punkte

19.04.11 22:25
Mark-Andre 

500 und mehr Punkte

Re: Telefunken partner 200, drastische Änderung der Empfindlichkeit

Hallo zusammen.

Sehr interessanter Beitrag! Wenn man nicht so versiert ist wie ich,würde man sich ja nach dem Fehler totsuchen. Besitze auch das gleiche Modell.Hatte es mal vorm verschrotten bzw recyclen gerettet. Müsste den kleinen auch mal wieder in Betrieb nehmen!

Mfg Andre

20.04.11 19:12
joeberesf 

500 und mehr Punkte

20.04.11 19:12
joeberesf 

500 und mehr Punkte

Re: Telefunken partner 200, drastische Änderung der Empfindlichkeit

Hallo Andre,

es ist ein tolles Küchenradio und mit einem Netzstecker kannst Du es ja auch ohne Batterien
betreiben. Ein kl. Trafo ist ja schon integriert und den passenden Netzadapter findest Du bei MM.
"ICH BIN DOCH NICHT BL..." ist der Slogan.

Gruß

Joe

Zuletzt bearbeitet am 20.04.11 19:13

 1 2
 1 2
Spannungsbereich   zusammengeschoben   rettet-unsere-radios   Forum-Betreiber   Transistor   unwahrscheinlich   Änderung   selbstschwingenden   UKW-Vorstufentransistor   Spannungsversorgung   Telefunken   Emitterwiderstand   PNP-Transistoren   Collector   Emitter   Empfindlichkeit   drastische   Norbert   funktionsfähigen   partner