| Passwort vergessen?
Sie sind nicht angemeldet. |  Anmelden

Sprache auswählen:

Wumpus Gollum Forum von
Wumpus Welt der (alten) Radios
Sie sind nicht angemeldet.
 Anmelden

Krefft UKW-Einbaugerät
  •  
 1
 1
26.12.17 15:40
reinhard 

500 und mehr Punkte

26.12.17 15:40
reinhard 

500 und mehr Punkte

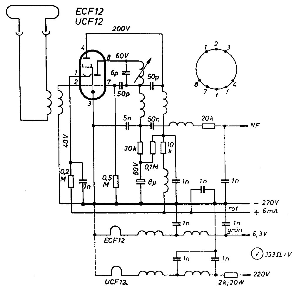
Krefft UKW-Einbaugerät

UKW-Einbaugerät W 50, Type 81-21-0400
Herstellungsjahr: 1950

Das für den Einbau in die Geräte der neuen Krefft-Radio-Serie (Tenor W bzw. GW 50, Tasso W bzw. GW 50 und Domklang W 50)
vorgesehene UKW-Einbaugerät W 50 bzw. GW 50 (mit der Röhre UCF 12) war zur Montage auf dem Abstimm-Drehkondensator
vorgesehen.

Technische Daten:

Baugruppe: Pendelaudion mit HF-Vorstufe für
UKW 87-100 MHz, 2 Kreise
Stromversorgung: wird dem Hauptgerät entnommen
Gehäuse: Spritzguß
Gewicht: 0,77 kg
Maße: Breite 7,7 cm,
Höhe 12 cm,
Tiefe 6,3 cm
Röhren: 1 (ECF 12)
Abstimmung: induktiv, Seilantrieb








Zuletzt bearbeitet am 26.12.17 16:30

Datei-Anhänge
11107_gross.jpg 11107_gross.jpg (463x)

Mime-Type: image/jpeg, 68 kB

UKW.jpg UKW.jpg (478x)

Mime-Type: image/jpeg, 73 kB

11107_sb.jpg 11107_sb.jpg (511x)

Mime-Type: image/jpeg, 121 kB

Wolle, nobbyrad58, ingodergute und apollo gefällt der Beitrag.
!
!!! Fotos, Grafiken nur über die Upload-Option des Forums, KEINE FREMD-LINKS auf externe Fotos.    

!!! Keine Komplett-Schaltbilder, keine Fotos, keine Grafiken, auf denen Urheberrechte Anderer (auch WEB-Seiten oder Foren) liegen!
Solche Uploads werden wegen der Rechtslage kommentarlos gelöscht!

Keine Fotos, auf denen Personen erkennbar sind, ohne deren schriftliche Zustimmung.

Den Beitrag-Betreff bei Antworten auf Threads nicht verändern!
26.12.17 17:27
nobbyrad58 

500 und mehr Punkte

26.12.17 17:27
nobbyrad58 

500 und mehr Punkte

Re: Krefft UKW-Einbaugerät

Hallo Reinhard Hallo an Alle!

Dazu gab es noch die passende Antenne von Kathrein für 6 DM.
Es ist eine UKW Zimmerantenne die auch eine LMK Antenne sein sollte, deshalb die UKW Drossel.

MFG Nobby

Datei-Anhänge
UKW Antenne.jpg UKW Antenne.jpg (539x)

Mime-Type: image/jpeg, 54 kB

 1
 1
Baugruppe   bearbeitet   vorgesehene   Abstimmung   entnommen   Pendelaudion   Gehäuse   Stromversorgung   81-21-0400   Hauptgerät   Abstimm-Drehkondensator   HF-Vorstufe   Krefft-Radio-Serie   Seilantrieb   Herstellungsjahr   Zimmerantenne   Spritzguß   UKW-Einbaugerät   Technische   vorgesehen