| Passwort vergessen?
Sie sind nicht angemeldet. |  Anmelden

Sprache auswählen:

Wumpus Gollum Forum von
Wumpus Welt der (alten) Radios
Sie sind nicht angemeldet.
 Anmelden

Ein UKW Röhrenzwerg
  •  
 1
 1
17.07.15 17:02
RFTHeinz 

500 und mehr Punkte

17.07.15 17:02
RFTHeinz 

500 und mehr Punkte

Ein UKW Röhrenzwerg

Hallo,

seit einer Woche sind bei uns nun Sommerferien und ich habe meinen Enkel hier. Dieser wollte (mal wieder) ein Radio basteln. Diesmal allerdings ohne Opas Hilfe und soweit wie möglich mit Röhren. Ich habe Ihm eine Kiste voller Bauteile aus alter DDR und SU Produktion überlassen und die Anweisung bekommen "das Maul zu halten".

Warum nicht, irgendwann müssen die Kinder ja mal selbstständig werden und mit Opi hat er ja schon vor ein paar Wochen seinen UKW-Bausatz zusammen gesetzt. Technisch ist er fit und wie es geht hat er schon oft gesehen.
Messgeräte, Lötkolben und ein haufen Radiobücher habe ich ihm schon geschenkt, die kann er auswendig. Zumindest weiß er in welchem Buch und auf welcher Seite eine Problemlösung zu finden ist.

Ich gebe zu, ganz ohne meine Hilfe ging es dann doch nicht, denn die Datenblätter einiger Röhren und Filter sind in Russisch, ich Schwein, und habe mit Freude etwas Übersetzungshilfe gegeben, wenn ich sonst schon nichts tun durfte. Bei meinen Messgeräten aus Russland habe ich die Frontplatten für die Nachwelt schon eingedeutscht.

Säge (für ein Chassis aus Platinenbasismaterial), Bohr- und SChleifmaschine und eine Sprühdose Lackspray sind für einen Jungen in seinem Alter kein Problem mehr.

Bis jetzt ist dieser kleine UKW-Zwerg herausgekommen, aber soein Aussehen hatten meine Geräte in dem Alter nicht. (Opa ist stolz)





Wie man erkennt ist noch nicht alles in Röhrentechnik umgesetzt. Die ZF Verstärkung und die Demodulation läuft mit alten russischen Miniaturröhren (1Sh18)und Kermakov Miniaturfiltern. Diese sind im mittleren Gehäuse untergebracht. Leider waren keine Miniaturröhren für den NF Verstärker mehr da, hier musste auf normale Bauform zurückgegriffen werden. Den Tuner hatte ich bewusst als Fertiggerät von RFT gewählt, nicht ohne mein Fett im Nachhinein wegzubekommen. Hier wurde demonstrativ darauf bestanden, ein Zitat: "Wenn ich in drei Wochen mit Mama und Papa aus Italien zurück bin, hast du eine Lösung Opa. Entweder einen Tuner als Bausatz mit Röhren oder einen fertigen Röhrentuner und ich will ein Bakelitgehäuse dafür, ich habe mir solche Mühe gegeben, versaue mein Radio nicht!"

Ich sage nur, Gott sei Dank ist heute Schwimmbadwetter und ich bin allein zuhaus.

Achso, das Projekt für die gaaaanzen Herbstferien steht schon fest. Ein Miniaturröhrenfernseher.

Ich brauche Ferien.

Gruß
Heinz.

Zuletzt bearbeitet am 24.11.15 16:38

Datei-Anhänge
1.jpg 1.jpg (529x)

Mime-Type: image/jpeg, 80 kB

2.jpg 2.jpg (417x)

Mime-Type: image/jpeg, 95 kB

3.jpg 3.jpg (462x)

Mime-Type: image/jpeg, 97 kB

Klaus, joeberesf und Axel gefällt der Beitrag.
!
!!! Fotos, Grafiken nur über die Upload-Option des Forums, KEINE FREMD-LINKS auf externe Fotos.    

!!! Keine Komplett-Schaltbilder, keine Fotos, keine Grafiken, auf denen Urheberrechte Anderer (auch WEB-Seiten oder Foren) liegen!
Solche Uploads werden wegen der Rechtslage kommentarlos gelöscht!

Keine Fotos, auf denen Personen erkennbar sind, ohne deren schriftliche Zustimmung.

Den Beitrag-Betreff bei Antworten auf Threads nicht verändern!
17.07.15 17:52
nobbyrad58 

500 und mehr Punkte

17.07.15 17:52
nobbyrad58 

500 und mehr Punkte

Re: Ein UKW Röhrenzwerg

Hallo Heinz!

Ein Produkt aus Gräfenhainichen.

Ein UKW Geradeausempfänger mit etwas anderer Schaltung als üblich. Kein Pendler. Dafür mit guter Klangqualität.

MFG Nobby

Datei-Anhänge
UKW Vorsatz Einkreiser guter Klang.jpg UKW Vorsatz Einkreiser guter Klang.jpg (751x)

Mime-Type: image/jpeg, 92 kB

17.07.15 18:51
joeberesf 

500 und mehr Punkte

17.07.15 18:51
joeberesf 

500 und mehr Punkte

Re: Ein UKW Röhrenzwerg

Hallo Heinz,

wieder ist Dir ein sehr lustiger Textbeitrag gelungen...ich habe mich köstlich amüsiert.

Die handwerkliche Leistung des Enkels ist aber sehr beeindruckend! Du solltest mal das Alter des jungen Radiofans verraten. Sehr beeindruckend, auch wenn das Herzstück (RFT- Tuner) vorgefertigt ist. Diese Tuner gab es lange Zeit beim "Polxx" für kleines Geld. Zwei Varianten gab es...den gezeigten mit dem schönen Plattendrehko und einen komplett geschlossenen mit Foliendrehko. Ich glaube die sind z.Zt. nicht mehr erhältlich. Den zweiten Tuner habe ich noch irgendwo in meiner Bastelkiste verbuddelt.

Nobbys Vorschlag kann ich nur unterstützen. Allerdings ist ein Geradeausempfänger für UKW immer auch eine Herausforderung beim Abstimmen und nicht so brilliant im Sound und Empfindlichkeit. Desweiteren halt eine Flankendemodulation mit zwei Abstimmpunkten. Vorteil; total einfach im Aufbau. Darin liegt der Reiz. Du Kannst Dir ja mal mein Laborvideo des einfachsten Pendlers der Welt anschauen. Da hörst Du schon etwas den Unterschied. Wie Nobbys Schaltung klingt kann ich nicht sagen...aber eher so wie mein UKW- Topfkreisdetektor mit Röhrenverstärkung.
Der Pendler bringt mehr Verstärkung und Empfindlichkeit ...strahlt allerdings ohne Schirmung und HF- Vorverstärkung stark ab.

Schöner Beitrag..

Gruß

Joerg


Pendler mit 30V und EF98 / EF95, EF95, EF98



https://www.youtube.com/watch?v=wV20NPfwukU

17.07.15 18:51
Klaus 

500 und mehr Punkte

17.07.15 18:51
Klaus 

500 und mehr Punkte

Re: Ein UKW Röhrenzwerg

Hallo Heinz,

eine tolle Arbeit deines Enkels.

Verrätst du uns noch das Alter deines Enkels, denn meine ersten Bastelgeräte sahen ebenfalls nicht so ordentlich aus?

Viele Grüße
Klaus

17.07.15 19:40
nobbyrad58 

500 und mehr Punkte

17.07.15 19:40
nobbyrad58 

500 und mehr Punkte

Re: Ein UKW Röhrenzwerg

Hallo Zusammen!

Die Herausforderung bei dem UKW Geradeausempfänger sind nicht nur die Spulen. Das Gerät ist ursprünglich für Trimmer vorgesehen, zumindest aus Kostengründen. Also zur Einstellung auf 1starken UKW Sender. Zum durchgehenden Empfang des UKW Bandes braucht man einen UKW 3 fach Drehko Heutzutage nur sehr teuer neu zu bekommen, ich würde Varicap Dioden nehmen. O.K. sind Halbleiter und eine passende Spannungsversorgung dafür braucht man auch.

MFG Nobby

17.07.15 20:01
RFTHeinz 

500 und mehr Punkte

17.07.15 20:01
RFTHeinz 

500 und mehr Punkte

Re: Ein UKW Röhrenzwerg

Hallo zusammen,

er geht im nächsten Monat in sein Zwölftes. Ich kann mich nicht mehr an meine Arbeiten in diesem Alter erinnern, aber Sie hatten zu 100% nichts mit UKW zu tun und so gut sahen Sie auch nicht aus. Ich bin immer überrascht wie und was der Bub für Lösungen findet, die Läuflänge des Skalenseils bestimmt, Arbeitspunkt findet und und und. Als Ingenieur (Fremdwort für Depp) hätte ich auf dem Papier stundenlang rumgerechnet und alles durchkonstruiert. Ich hoffe ja einen Erben für meine Radios heranzuziehen.

Jetzt aber zu den Problemen.
Ich möchte sein Radio nicht umbauen, also bleibt mit nur ein Super mit 10.7 MHz ZF. Ich habe alle Kisten durchgeschaut, aber einen Röhrentuner konnte ich nicht mehr finden, nur Transistortechnik. Auch sind mir die Abmaße der gängigen Röhrentuner nicht geläufig, es sollte ohne weitere Umbauten am Chassi funktionieren damit das Gesamtbild irgendwie erhalten bleibt.
Selbstbau: Ja, aber in drei Wochen + mir fehlt irgendwie die Lust dazu!

Das zweite Problem: Ein Gehäuse in Bakelitoptik! Fertiggehäuse ist da nicht machbar, das passt nicht. Gussform und Harz? Das habe ich in der Größe noch nicht gemacht zudem brauche dazu noch ein Modell. Es gab zu DDR Zeiten mal Phenolharzplatten die leicht zu verarbeiten waren und von Haus aus die Optik mitbrachten. Ob das eine Lösung ist?

Heinz.

Zuletzt bearbeitet am 17.07.15 20:02

18.07.15 10:12
ingodergute 

Moderator

18.07.15 10:12
ingodergute 

Moderator

Re: Ein UKW Röhrenzwerg

Hallo Heinz,

da hast Du den Hauptgewinn gezogen mit Deinem Enkel. Mein Sohn ist technisch interessiert, lächelt aber nur müde über mein Radiohobby bevor er sich wieder an seinen Computer setzt. Er programmiert hübsche Dinge aber die reale Elektronik ist leider nicht sein Ding.
Die seltene Gabe, gutes Verständnis für Elektronik mit Geschick für mechanische Arbeiten und Design zu vereinigen, muss unbedingt gefördert werden.

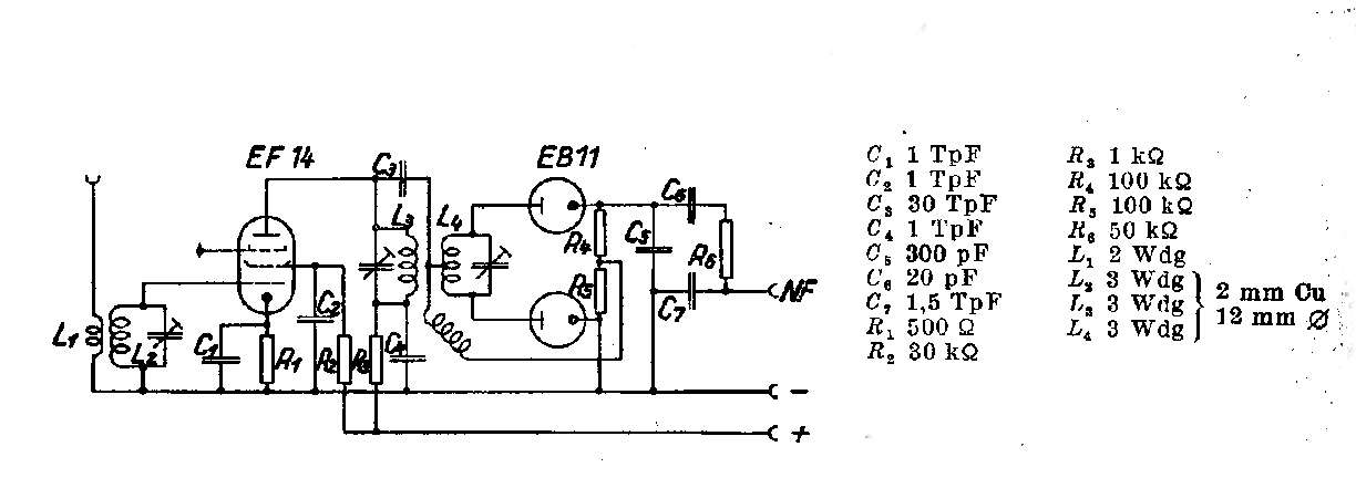
Was einen Tuner angeht, so würde ich versuchen einen variometerabgestimmten Tuner mit ECC85 z.B. aus einem alten DDR-Kleinsuper zu bekommen wie den hier (aus Wikipedia)



Quelle: https://de.wikipedia.org/wiki/Tuner_%28Empfang%29

Diese Tuner sind schön klein und zuverlässig.

Viele Grüße

Ingo.

18.07.15 11:00
RFTHeinz 

500 und mehr Punkte

18.07.15 11:00
RFTHeinz 

500 und mehr Punkte

Re: Ein UKW Röhrenzwerg

Hallo Ingo,

die Elektronik und Computersachen bekommt er von meinem Sohn eingeimpft, ich versuche nur das Interesse in Richtung Radio und Amateurfunk zu lenken. Bisher ist das gut geglückt. In dem Alter kann das Interesse auch schnell umschlagen wenn man keine Herausforderungen bietet, Dein abgebildeter Ecc85 Tuner ist von Aufbau ideal für das Radio. Die Schaltung scheint im Schubert abgelichtet zu sein, der Nachbau machbar. Wenn allerdings ein Forenteilnehmer diesen oben abgebildeten Tuner ohne Verwendung rumliegen hat, würde ich Interesse bekunden.

Heinz.

18.07.15 12:00
ingodergute 

Moderator

18.07.15 12:00
ingodergute 

Moderator

Re: Ein UKW Röhrenzwerg

Hallo Heinz,

ich habe Dir eine PN gesandt zum Thema.

Gruß Ingo.

 1
 1
Miniaturröhrenfernseher   Topfkreisdetektor   Flankendemodulation   Herausforderungen   Miniaturfiltern   Röhrenzwerg   Spannungsversorgung   Herausforderung   Röhrenverstärkung   Transistortechnik   Empfindlichkeit   Forenteilnehmer   Übersetzungshilfe   variometerabgestimmten   durchkonstruiert   zurückgegriffen   Platinenbasismaterial   Phenolharzplatten   Schwimmbadwetter   Geradeausempfänger