| Passwort vergessen?
Sie sind nicht angemeldet. |  Anmelden

Sprache auswählen:

Wumpus Gollum Forum von
Wumpus Welt der (alten) Radios
Sie sind nicht angemeldet.
 Anmelden

Schneider-Opel SO1AF
  •  
 1 2
 1 2
15.07.08 22:05
aglef 

100-249 Punkte

15.07.08 22:05
aglef 

100-249 Punkte

Schneider-Opel SO1AF

Hallo,

habe heute bei einer Entrümpelung ein "Schätzchen" gerettet - einen Schneider-Opel SO1AF (1926?). Das Gerät sieht verheerend aus nach all den Jahren auf'm Boden. Für mich ist nun wichtig, wie kann man gefahrlos das kostbare Stück restaurieren, ohne ihm Schäden zuzufügen. Im Bild sieht man den Allgemeinzustand!
Danke für die gut gemeinten Ratschläge!!



Gruß
Aglef

Datei-Anhänge
SO1AFz.jpg SO1AFz.jpg (1131x)

Mime-Type: image/pjpeg, 40 kB

Noch gefällt der Beitrag keinem Nutzer.
!
!!! Fotos, Grafiken nur über die Upload-Option des Forums, KEINE FREMD-LINKS auf externe Fotos.    

!!! Keine Komplett-Schaltbilder, keine Fotos, keine Grafiken, auf denen Urheberrechte Anderer (auch WEB-Seiten oder Foren) liegen!
Solche Uploads werden wegen der Rechtslage kommentarlos gelöscht!

Keine Fotos, auf denen Personen erkennbar sind, ohne deren schriftliche Zustimmung.

Den Beitrag-Betreff bei Antworten auf Threads nicht verändern!
15.07.08 23:00
roehrenfreak

nicht registriert

15.07.08 23:00
roehrenfreak

nicht registriert

Re: Schneider-Opel SO1AF

Hallo Aglef,

ouahahauaha....sieht ja schon recht mitgenommen aus der Apparat. Aber nichts ist verloren mit der hier gebotenen Vorsicht. Als erste Massnahme sollte ein Staubsauger und ein weicher Pinsel für die sorgsame und zärtliche(!) Reinigung herhalten. Ganz besondere Vorsicht an der Röhre - der Stutzen oben ist besonders bruchempfindlich!!! Danach vorsichtig die um das Gerät herum gewickelte Leitung ohne grössere Kraft versuchen ab zu wickeln. Achte dabei bitte auf das Verhalten der Leitung. Sie wird sich wahrscheinlich nur widerwillig und steif zeigen. Treten dabei bereits Brüche auf (sehr gut möglich, aber unabänderlich) ist diese unweigerlich zu ersetzen. Das dann aber später - erst mal weiter mit der Befundaufnahme.
Nach mechanischer Reinigung wird mit Sicherheit noch fester Schmutz anhaften. Jetzt bloß nicht mit der "chemischen Keule" wie Spiritus oder Verdünnung weiter arbeiten. Dauerhafte Schäden drohen! Lieber mit Lappen, lauwarmem Wasser und mildem Spülmittel - nicht treifend!- abwaschen und sofort abtrocknen. Dabei immer kontrollieren ob etwas angegriffen wird. In solch einem Fall SOFORT STOPP und trocknen (ggf. mit Haarfön). Wenn das Gerät so wieder sauber geworden ist geht es weiter mit der Restaurierung. Aber langsam - Schritt für Schritt! Wir werden Dich dabei gern weiter begleiten und beraten.

MfG
Jürgen rf

Jeder Mensch kann irren, nur der Tor wird im Irrtum verharren (Cicero)

15.07.08 23:55
aglef 

100-249 Punkte

15.07.08 23:55
aglef 

100-249 Punkte

Re: Schneider-Opel SO1AF

Hallo Jürgen,

ganz herzlichen Dank für den schnellen Beistand! Werde alles befolgen und natürlich wieder posten. Habe natürlich auch schon einige Restaurations-/ und Reparaturerfahrungen. Schaut Euch mal die Fotos an. Da wurde ein SIEMENS SPEZIALSUPER 51 und eine GOLDY 59 von SCHAUB LORENZ auf "Vordermann" gebracht - alle Geräte aus demselben Entrümpelungshaushalt - nur paar Monate früher. Die Geräte stehen jetzt in meinem Wohnzimmer und .... spielen alle, neben meinen 7 PHILETTAS und einer TELEFUNKEN Concertino 9!!

Gruß
Aglef

Datei-Anhänge
Siemens, vorher.JPG Siemens, vorher.JPG (403x)

Mime-Type: image/pjpeg, 60 kB

Siemens SB 502W Spezial Super 51.JPG Siemens SB 502W Spezial Super 51.JPG (419x)

Mime-Type: image/pjpeg, 54 kB

SL.JPG SL.JPG (372x)

Mime-Type: image/pjpeg, 63 kB

SL (1).JPG SL (1).JPG (385x)

Mime-Type: image/pjpeg, 57 kB

SL (2).JPG SL (2).JPG (388x)

Mime-Type: image/pjpeg, 58 kB

Schaub Lorenz  Goldy 59.JPG Schaub Lorenz Goldy 59.JPG (420x)

Mime-Type: image/pjpeg, 71 kB

24.07.08 23:09
aglef 

100-249 Punkte

24.07.08 23:09
aglef 

100-249 Punkte

Re: Schneider-Opel SO1AF

Hallo,

jetzt ist das "Gute Stück" topp hergerichtet. Ich hoffe, es gefällt der Forum-Gemeinde!
War doch immerhin ein knapper Tag Arbeit.
Wie kann ei Schaltplan für solch ein Gerät aus der Anfangszeit aussehen? Bestückt ist das "Schätzchen" mit einer RE75 und ist für Batteriebetrieb vorgesehen.
vielleicht fällt jemand etwas dazu ein?

Grüße
Aglef

Datei-Anhänge
Restaurierte SO1AF (1)k.jpg Restaurierte SO1AF (1)k.jpg (450x)

Mime-Type: image/pjpeg, 73 kB

Restaurierte SO1AF (2)k.jpg Restaurierte SO1AF (2)k.jpg (413x)

Mime-Type: image/pjpeg, 69 kB

Restaurierte SO1AF (3)k.jpg Restaurierte SO1AF (3)k.jpg (391x)

Mime-Type: image/pjpeg, 47 kB

Restaurierte SO1AF (4)k.jpg Restaurierte SO1AF (4)k.jpg (417x)

Mime-Type: image/pjpeg, 70 kB

Restaurierte SO1AF (5)k.jpg Restaurierte SO1AF (5)k.jpg (406x)

Mime-Type: image/pjpeg, 74 kB

24.07.08 23:57
roehrenfreak

nicht registriert

24.07.08 23:57
roehrenfreak

nicht registriert

Re: Schneider-Opel SO1AF

Hallo Aglef,

Respekt und nochmal Respekt! Das Gerät ist mit dem, was im ersten Post zu sehen war, ja überhaupt nicht zu vergleichen. Sehr schöne Arbeit, lässt mein Herzchen hüpfen! Schaltungtechnisch denke ich wird es prinzipiell ein rückgekoppeltes Audion sein wie es auf Rainers Seiten bereits ausführlich beschrieben ist und damit technisch sehr übersichtlich. Zum Betrieb werden benötigt:

> eine Heizbatterie mit einer Nennspannung von 4Volt (zweizelliger Bleiakkumulator),
> eine Anodenbatterie (oder ersatzweise ein Netzgerät) mit etwa 90Volt,
> ein hochohmiger Hörer von gut 2000 bis 4000 Ohm Impedanz
> eine Langdraht-Antenne von etwa fünf bis 10 Metern
> ein Erd-Anschluß etwa an der Zentral-Heizung (NICHT an dem Erde-Federkontakt einer 230V~Steckdose!!!!!)

MfG
Jürgen rf

Jeder Mensch kann irren, nur der Tor wird im Irrtum verharren (Cicero)

25.07.08 00:28
aglef 

100-249 Punkte

25.07.08 00:28
aglef 

100-249 Punkte

Re: Schneider-Opel SO1AF

Danke, Danke, Jürgen, der Ovationen!

Einem lieben Bekannten von mir ging auch das Herz auf beim Anblick dieses Gerätes; er hatte eine schlaflose Nacht gehabt!
Er hat mich zum kommenden Samstagabend zusammen mit meiner Frau zu sich und seiner Familie eingeladen - ich denke, er will mir die "Alte Oma" abschwätzen.
Ich gebe SIE nicht her!
So ein "Häschen" belässt man im eigenen Stall, oder??
Der "Fund" ist wie ein "SECHSER IM LOTTO" in der Radio-Sammler-Welt, oder!?

Viele Grüße

Aglef

25.07.08 00:53
roehrenfreak

nicht registriert

25.07.08 00:53
roehrenfreak

nicht registriert

Re: Schneider-Opel SO1AF

Wie Recht Du hast, Aglef,

das Gerät würde ich als Sammler wie einen Goldfund behandeln und bestimmt nicht einfach hergeben. Deshalb nochmal mein Glückwunsch zu diesem wohl seltenen Fund! Wenn Du es in Betrieb setzen möchtest sind wir gern zur Hilfestellung bereit. Vielleicht findet sich hier bei einem unserer Nutzer sogar der Original-Schaltplan. Halte es warm, halte es warm....

MfG
Jürgen rf

Jeder Mensch kann irren, nur der Tor wird im Irrtum verharren (Cicero)

25.07.08 02:05
aglef 

100-249 Punkte

25.07.08 02:05
aglef 

100-249 Punkte

Re: Schneider-Opel SO1AF

Jürgen,
ich danke Dir für die tollen lobenden Worte.
Aber, was meinst Du, was so ein "Schätzchen" wert ist?
Keine Angst, ich verkaufe SIE nicht!! Nie und nimmer, es sei denn, meine Familie hat nichts mehr zu Essen!!

Viele Grüße
Aglef

25.07.08 02:07
aglef 

100-249 Punkte

25.07.08 02:07
aglef 

100-249 Punkte

Re: Schneider-Opel SO1AF

Hatte eben gerade noch einen Einbruch-Alarm in meiner Schule, wieder Fehl-Alarm!!
Zum Kotz.....!!!
Polizei und das ganze Programm, na, ja!!

Gruß
Aglef

25.07.08 07:44
Wolle 

500 und mehr Punkte

25.07.08 07:44
Wolle 

500 und mehr Punkte

Re: Schneider-Opel SO1AF

Hallo Aglef.

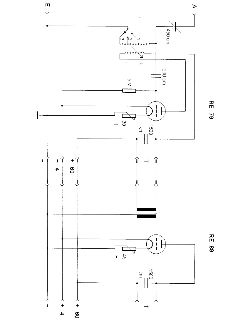
Meinen Glückwunsch zur Restaurierung des Schneider Opel. Im Anhang die Schaltung des SO1A. Diese Schaltung entspricht der Baureihe Schneider Opel SO1, Ausführungen flach oder Steilpult von 1925 bis 1927.
Hoffe nur, daß ich mir nicht Rainers "Zorn" zuziehe. Das Alter des Schätzchens sollte eine Ausnahme zulassen. Der erste Teil der Schaltung zeigt den Empfänger, der zweite Teil einen NF- Verstärker. Beide Komponenten gab es in der Ausführung flach und Steilpult.

Ein schönes Wochenende und liebe Grüße.
Wolle

Editiert 25.07.08 08:35

Datei-Anhänge
SB_SO1A_SO1N.jpg SB_SO1A_SO1N.jpg (416x)

Mime-Type: image/pjpeg, 94 kB

 1 2
 1 2
bruchempfindlich   Zentral-Heizung   230V~Steckdose   Bleiakkumulator   Mögel-Dellinger-Effekt   Schaltungtechnisch   rückgekoppeltes   Bauteiltoleranz   Langdraht-Antenne   Reparaturerfahrungen   Erde-Federkontakt   Schneider-Opel   HF-Verstärker   Entrümpelungshaushalt   Einbruch-Alarm   Original-Schaltplan   Allgemeinzustand   Radio-Sammler-Welt   Wumpus-Kompendium   Batteriebetrieb