| Passwort vergessen?
Sie sind nicht angemeldet. |  Anmelden

Sprache auswählen:

Wumpus Gollum Forum von
Wumpus Welt der (alten) Radios
Sie sind nicht angemeldet.
 Anmelden

Omas Grundig 3097 defekt
  •  
 1 2 3 4 5 6
 1 2 3 4 5 6
23.08.16 18:41
joeberesf 

500 und mehr Punkte

23.08.16 18:41
joeberesf 

500 und mehr Punkte

Re: Omas Grundig 3097 defekt

Hallo zusammen,

ja ....so viele Reaktionen und Vorschläge. Danke und ich muss sagen, jeder hat so seine eigene Herangehensweise. Diese wird natürlich häufig durch die vorhandene Ausstattung an Messmitteln bestimmt. Ich will euch kurz schildern was ich versucht habe und wie ich im Endeffekt den Schaden beim Verfolgen des NF- Signals gefunden habe.....denn das Hauptproblem ist schon gefunden und beseitigt. Hört euch das Resultat im Anhang als mp3 an. Die Aufnahme entstand am offenen Chassis mit einfachem Behelfslautsprecher und 80cm Drahtantenne auf UKW.

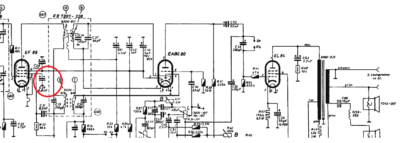
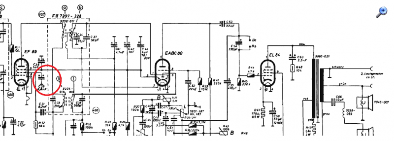
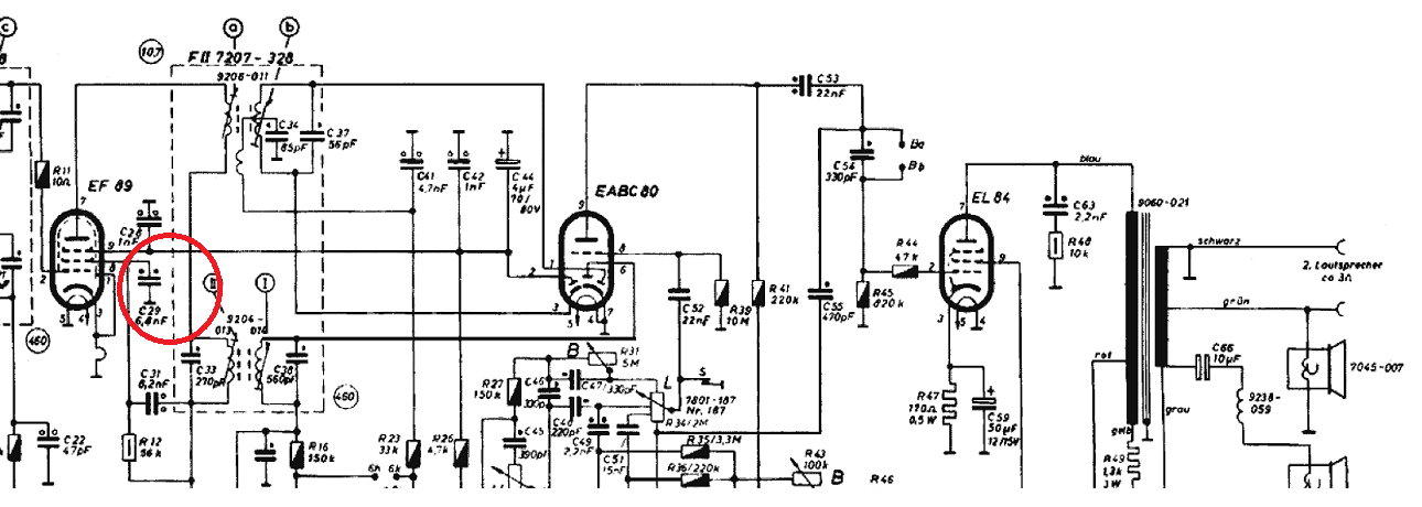
Röhren-, Anoden- und Heizspannung waren ja schon kontrolliert und als erstes versuchte ich das Kraspeln an den alten, nie gereinigten Röhrenfassungen zu lokalisieren. Also unter Betriebsbedingungen mal ein bisschen wackeln und schauen ob das Kontaktprobleme sind. Dann die EABC80 gezogen und nach dem Einschalten war alles still. Das Knaspeln kam also nicht direkt aus der Endstufe mit EL84. EABC80 wieder rein und EF89 gezogen,.. Knaspeln auch weg. Dann habe ich meinen schnell gebastelten Signalverfolger eingesetzt. Kristallhörer mit 6,8nF 1000V entkoppelt eine Seite an Masse und TB gecheckt. Resultat, leises kaputtes Signal.....das setzte sich an weiteren Messpunkten fort. Übrigens war das kein Rumstochern, sondern gezieltes Setzen eines isolierten Fliegenbeins nach Stromlaufplan, mit immer durchgeführten Aus- und Einschaltvorgang. Irgendwann ging es dann Richtung EF89 und hier fand ich dann ganz hinten versteckt dieses grauenhafte Subjekt.



Nun war mir auch klar warum ich schon häufig das Problem hatte, dass das Schalten des Registers zu Aussetzern führte. Das Hartgewebe eines Registerschalters berührte wohl schon immer diesen Kondensator C29. Ich dachte das Register ist nach den vielen Jahren breit, denn das Problem bestand schon in den 80ern. Da hat das Gerät noch meine Oma genutzt. Hier mal die Lage im Ausschnitt des Stromlaufplans. Eindeutig ein Fertigungsfehler anno 59!



Der C29 und dieser schon gezeigte 22nF- Kondensator C9, an der ECH81, wurde dann gleich mitgetauscht.



KW und UKW- Band funktionieren jetzt wieder richtig prima und folgende Probleme können jetzt angegangen werden.

1. LW noch kein richtiger Empfang (Ferritantenne ) Störungen von Laptop usw aber sogar abstimmbar.

2. MW- Empfang endet bei ca. 800kHz ...... Ist wahrscheinlich gleiche Ursache wie Punkt 1.

3. Seitenlautsprecher ohne Funktion....

4. Magisches Auge muss ersetzt werden....im Abgedunkelten Bastelzimmer kann man es aber noch sehen. Kann man solch eine Röhre ein bisschen auffrischen?

5. Skalenlampen ersetzen.

Also ein paar Teile besorgen und alles wieder schick machen. Spannungsfeste Kondensatoren besorge ich auch noch und werde weitere ersetzen, obwohl eine Kapazitätsmessung an den Pappenheimern erfolgreich war.

Danke und Gruß nochmals an alle Helfenden.

Joerg

Datei-Anhänge
NF 3097 nach Repa.wma.mp3 NF 3097 nach Repa.wma.mp3 (369x)

Mime-Type: audio/mpeg, 962 kB

Übeltäter 1.jpg Übeltäter 1.jpg (335x)

Mime-Type: image/jpeg, 297 kB

Übeltäter C29.png Übeltäter C29.png (365x)

Mime-Type: image/png, 188 kB

Übeltäter2.jpg Übeltäter2.jpg (344x)

Mime-Type: image/jpeg, 214 kB

!
!!! Fotos, Grafiken nur über die Upload-Option des Forums, KEINE FREMD-LINKS auf externe Fotos.    

!!! Keine Komplett-Schaltbilder, keine Fotos, keine Grafiken, auf denen Urheberrechte Anderer (auch WEB-Seiten oder Foren) liegen!
Solche Uploads werden wegen der Rechtslage kommentarlos gelöscht!

Keine Fotos, auf denen Personen erkennbar sind, ohne deren schriftliche Zustimmung.

Den Beitrag-Betreff bei Antworten auf Threads nicht verändern!
23.08.16 19:17
Klaus 

500 und mehr Punkte

23.08.16 19:17
Klaus 

500 und mehr Punkte

Re: Omas Grundig 3097 defekt

Hallo Joerg,

Zitieren:
Magisches Auge muss ersetzt werden....im Abgedunkelten Bastelzimmer kann man es aber noch sehen. Kann man solch eine Röhre ein bisschen auffrischen?

im Netz finden sich Vorschläge, wie man mittels elektr. Schaltungen die Versorgungsspannung dieser MA erhöhen kann, um eine größere Helligkeit zu erzielen.
Die Ansichten über diese Vorgehensweise sind allerdings geteilt, zumal die Empfindlichkeit der Anzeige reduziert wird; eventuell ist es aber einen Versuch wert?

Viele Grüße
Klaus

23.08.16 19:58
Wolle 

500 und mehr Punkte

23.08.16 19:58
Wolle 

500 und mehr Punkte

Re: Omas Grundig 3097 defekt

Hallo Joerg.

Zuerst einmal meinen Glückwunsch zur erfolgreichen Fehlerermittlung. Du hast erfolgreich das Prinzip der Signalverfolgung mit den Dir zur Verfügung stehenden Mitteln angewendet. Das ist so vollkommen in Ordnung und ist eventuell eine Anregung für unsere Nutzer zur erfolgreichen Fehlersuche.
Mit einem "Herumstochern" hat Deine Vorgehensweise nichts zu tun. Du wendest Spannungsmessungen und Funktionsergründungen an Hand der Schaltung erfolgreich an und machst vor allem keinen wilden Bauteilwechsel.
Zum Problem "Magisches Auge" würde ich Dir die Beschaffung einer neuen Röhre empfehlen. Alles Andere ist Bastelei mit Fehlerverschleierung.

Mit vielen Grüßen.
Wolle.

23.08.16 21:32
HB9 

500 und mehr Punkte

23.08.16 21:32
HB9 

500 und mehr Punkte

Re: Omas Grundig 3097 defekt

Hallo Joerg,

der Übeltäter sieht nicht mehr so frisch aus

Ich empfehle, alle EROs zu ersetzen, an denen hohe Spannungen anliegen. Die übrigen (also vor allem die für die Klangeinstellung) kannst du auch lassen, wenn sie optisch noch gut aussehen, allerdings ändern diese mit der Zeit auch die Kapazität, so dass der Frequenzgang nicht mehr so ist, wie er sein sollte. Somit kann ein Ersatz die Klangqualität verbessern, insbesondere, wenn bei den Lautsprechern und dem Ausgangstrafo nicht allzu sehr gespart wurde. Jedenfalls hat das bei meinen beiden Nordmende eine deutliche Verbesserung gebracht, und der ist ja etwa 12 Jahre jünger, hatte aber auch diese EROs drin.

Ansonsten Gratulation zur Wiederbelebung dieses Wunderwerks. Der Anblick erinnerte mich gleich wieder an mein erstes Audion, das ich aus einem Grundig 2041WH (oder was davon noch übrig war) gebaut habe, und auch ein paar Reparaturen für Kollengen. Aus dieser Zeit kenne ich auch diese fehlerträchtigen Röhrenfassungen.

Zum magischen Auge: ich würde es entweder so lassen, wie es ist, oder dann eine neue Röhre besorgen, wenn dir gerade eine über den Weg läuft. Getauscht ist die ja relativ schnell und für die Funktion nicht unbedingt notwendig. An der Schaltung rumfummeln würde ich nicht, und durch eine überhöhte Betriebsspannung besteht auch die Gefahr eines Überschlags in der Röhre, was je nach Schaltung zu Folgeschäden führen kann, zudem altert die Leuchtschicht durch die erhöhte Energie der Elektronen beim 'Beschuss' noch schneller, so dass der Erfolg von kurzer Dauer sein wird.

Gruss HB9

23.08.16 23:07
nobbyrad58 

500 und mehr Punkte

23.08.16 23:07
nobbyrad58 

500 und mehr Punkte

Re: Omas Grundig 3097 defekt

Hallo an Alle!

Also hier mein NF Generator. Vor vielen Jahren mind. 12 schätze ich beim großen blauen C gekauft.
Alles noch über Katalog. :
Etwas Zubehör ist auch dabei, die Oberwellen des Rechtecksignals taugen auch als HF Indikator.

MFG Nobby

Kleiner Nachtrag: Warum nicht neue Noval Fassungen nehmen? Die kosten nicht die Welt und man hat Ruhe. Beim Nytone hab ich auch 10 Stk neue gekauft.

MFG Nobby

Zuletzt bearbeitet am 24.08.16 00:50

Datei-Anhänge
Einfacher NF Generator.JPG Einfacher NF Generator.JPG (368x)

Mime-Type: image/jpeg, 144 kB

24.08.16 22:30
joeberesf 

500 und mehr Punkte

24.08.16 22:30
joeberesf 

500 und mehr Punkte

Re: Omas Grundig 3097 defekt

Hallo...

@Nobby und HB9,

hallo Nobby, ja fein dein Generator! Ich habe einen alten RFT, der ist natürlich auch als Signalguelle zu nutzen. Hier war das aber nicht notwendig, da ja im ganzen Geknacke und Gezische noch ein Signal vorhanden war. Ich hätte auch ein moduliertes HF- Signal einspeisen können. Aber danke für deinen Vorschlag und auch zu den Röhrensockeln. Ja das kann man alles machen und erhöht damit die Betriebsicherheit. Der Auwand ist mir aber viel zu groß und generell neige ich bei allen Reparaturbelangen...auch in Haus und Hof, nur das zu reparieren was defekt ist....und weiter geht`s. Die EROs will ich aber noch ersetzen, da gibt es schon noch mittelfristigen Handlungsbedarf und auch bei der Klangregelung. So 100%tig ist diese auch nicht mehr i.O. (Höhenregler 5-20kHz).

@Klaus und Wolle,

werde mir eher ein Magisches Auge besorgen, denn eine Modifikation oder eine Bastelei, die vielleicht nicht mal erfolgreich ist, macht bei dem Radio nicht wirklich Sinn. Solch eine EM34/35 müste eigenlich noch aufzutreiben sein. Den Fehler an den Hochtöner- Seitenlautsprecher habe ich auch lokalisiert und behoben. Der Elko C66 /10uF hatte tatsächlich keine Kapazität mehr und war zu einer einfachen Unterbrechung geworden.

zusammen,

nun wollte ich mir den Gesamtsound dann mit Holzgehäuse anhören und habe aufgrund der funktionierenden Hochtöner und zusätzlichem Lautstärkegewinn mal einen Belastungstest gefahren. Es gibt doch tatsächlich noch ein leises Knaspeln und zwar nur auf UKW. Man hört das im Hintergrund....z.B. in den Sprachpausen, aber nur beim eingestellten Sender.....dachte ich! Ich habe dann alle Röhren bis auf die EABC80 und EL84 gezogen! Schalte ich nun UKW ein knaspelt es bei großer Lautstärke. Bei TA, LW, MW, KW nicht! Trotz gezogener Röhren liegen ja die gealterten C`s im UKW- Tuner noch unter Hochspannung und spratzen vielleicht. Wenn das so ist, muss ich daran. Auweia....da brauche ich Hilfe....wie öffne ich den geschirmten Kasten um an den Sockel der ECC85 zu kommen?

Gibt es einen Trick? Ansonsten muss ich ja alles demontieren! Ich mache morgen zwei, drei Bildchen.

Also doch noch nicht ganz zufriedenstellend!

Joerg

Nachtrag 23:00 scheint auch temporär aufzutreten.....gerade eben ist Ruhe im Karton..komisch!

Zuletzt bearbeitet am 24.08.16 22:58

24.08.16 22:56
nobbyrad58 

500 und mehr Punkte

24.08.16 22:56
nobbyrad58 

500 und mehr Punkte

Re: Omas Grundig 3097 defekt

Hallo Joerg!

Bei UKW Könnte auch ein Keramik C nicht mehr in Ordnung sein. Hatte ich schon mal, auch die leben nicht ewig.
Aber das ist so ein Kapitel für sich.
Auch die Fassung kommt in Frage, neue ECC 85 mal probiert?

MFG Nobby

Zuletzt bearbeitet am 24.08.16 22:56

24.08.16 23:22
joeberesf 

500 und mehr Punkte

24.08.16 23:22
joeberesf 

500 und mehr Punkte

Re: Omas Grundig 3097 defekt

Hallo Nobby,

es ist ja keine Röhre drin, nur das Register ist auf UKW geschaltet und EABC80 und EL84 in Betrieb! Ich muss den kompletten Signalweg
der über das UKW- Register führt, Stück für Stück auftrennen.

Muss ins Bett...

Gute Nacht.

Joerg

24.08.16 23:32
Wolle 

500 und mehr Punkte

24.08.16 23:32
Wolle 

500 und mehr Punkte

Re: Omas Grundig 3097 defekt

Hallo Joerg.

Auch bei diesem Fehler bringt dich systematische Fehlersuche weiter. Bitte im UKW- Baustein nur bei begründeten Verdacht Keramikkondensatoren ersetzen. Neben der Kapazität ist auch deren Temperaturverhalten (Tk) zu beachten, weil man sich sonst temperaturbedingte Frequenzänderungen einhandelt.
Verdächtig für das Auftreten von Störgeräuschen bei ansonsten gezogenen Röhren sind betriebsspannungsführende Widerstände im Tuner, hier auch Stützpunkte aus Hartpapier und gealterten Isolierschlauch in Betracht ziehen, sowie auch die Schraubverbindungen am Gehäuse des Tunerbausteins. hier hat Grundig gespart und kann Langzeitfehler verursachen.

Mit vielen Grüßen.
Wolle.

P.s. Auch hier lässt sich Dein Signalverfolger als Indikator einsetzen.

25.08.16 04:10
Uli 

500 und mehr Punkte

25.08.16 04:10
Uli 

500 und mehr Punkte

Re: Omas Grundig 3097 defekt

joeberesf:
Solch eine EM34/35 müste eigenlich noch aufzutreiben sein.

Ja, und übersteigt den Marktwert des Radios um Faktor zwei bis zehn.
Auch wenn hier anscheinend niemand etwas davon hören oder wissen und schon gar nicht sagen will: Normalerweise haben die alten Radionetzteile (zumindest die aus den günstigeren Radios) eine RC Glättung, bestehend aus Lade- und Siebelko und einem Widerstand dazwischen. Die Spannung für das MA wird normalerweise am Siebelko abgegriffen. Wenn man diesen Anschluss an den Ladeelko verlegt und so den Spannungsabfall am Siebwiderstand "gewinnt" (+- 50V), dann kann das durchaus reichen, daß das MA wieder einige Zeit lang zu erkennen ist.
Man sollte die Bastelei nur unbedingt deutlich markieren um daran zu denken, sie rückgängig zu machen, wenn doch mal ein neues MA eingebaut wird - sonst riskiert man schnelleren Verschleiß.

Man KANN auch die Spannung per Kaskade verdoppeln, dann zeigt fast jedes MA noch etwas an. Allerdings dient das MA dann fast nur noch als "Lampe", wie hier auch schon angemerkt wurde. Ich persönlich hab's mal versucht und wieder bleibenlassen. Das Argument, daß man damit das Auge noch schneller verschleißt zählt für mich nicht - mir ist völlig wurscht, ob ich eine tote Röhre damit noch toter töte...
Also wenn Dir nur wichtig ist, daß da etwas schön leuchtet, dann ist das durchaus auch nen Versuch wert, der zudem nur ca. 1% von ner neuen EM34 kostet.

Zuletzt bearbeitet am 25.08.16 04:12

 1 2 3 4 5 6
 1 2 3 4 5 6
Empfang   Kunststoff-Trägerplatte   Ferritantennen-Taschenradio   Ferritantenne   Deemphasis-Kondensator   Gleichrichterschaltung   Empfindlichkeit   Original-Selen-Gleichrichter   bearbeitet   Empfindlichkeitssteigerung   Anodenspannungs-Zuführung   Anodenspannungsumschaltung   betriebsspannungsführende   Grundig   Anodenspannung   ERO-Papierkondensatoren   Problem   Halbwellengleichrichtung   Zuletzt   Abblockkondensatoren