| Passwort vergessen?
Sie sind nicht angemeldet. |  Anmelden

Sprache auswählen:

Wumpus Gollum Forum von
Wumpus Welt der (alten) Radios
Sie sind nicht angemeldet.
 Anmelden

Digitalradionorm DSR wiederbeleben, Wege zum eigenen DSR-Sender
  •  
 1 2 3
 1 2 3
18.08.19 01:12
Bernhard45

nicht registriert

18.08.19 01:12
Bernhard45

nicht registriert

Digitalradionorm DSR wiederbeleben, Wege zum eigenen DSR-Sender

Hallo zusammen, hallo Radiobastler,

ich habe hier und im Nachbarforum ja schon Wege gezeigt, wie man alte DAB (ohne +) Radios mittels Software Defined Radio preisgünstig wieder fit bekommt,
jetzt soll ein solcher Weg für alte Radios nach der DSR (Digital Satellite Radio oder Digital Super Radio) begangen werden.

Ich war damals beim Start des DSR-Systems ebenfalls dabei und hatte den DSR-Empfang mit einer 30-40cm großen Antenne auf TV-Sat2 (19 Grad West), später über DFS Kopernikus realisiert. Das DSR-Signal wurde von der Post/Telekom auch in Kabelnetze auf 118 MHz eingespeißt. Auf diesem Kanal wurden dann 16 Stereo-Radioprogramme übertragen. Als ich in den letzten Tagen und Wochen Material zu DSR gesucht habe, stieß ich auf die Seite des Deutschen Museum Bonn und war etwas überrascht, das das DSR-Radio selbst in der DDR eine Bedeutung hatte!

Das Übertragungsverfahren des Digitalen Satelliten Radios
wird Anfang der achtziger Jahre von der Deutschen Bundespost in
ihrem Forschungs- und Technologiezentrum in Darmstadt entwickelt.
Offiziell wird das Digitale Satelliten Radio 1987 eingeführt.
Auch in der DDR ist man an dieser Technik interessiert.
Die Parteiführung beschließt 1985 die Gründung einer
Forschungsgruppe zur Entwicklung von DSR-Empfangsanlagen.
Das »Zentrum für Wissenschaft und Technik« des Kombinats
Rundfunk und Fernsehen in Dresden erhält diesen Auftrag.
1988 ist das erste Muster produktionsreif.
Der westdeutschen Firma TechniSat in Daun (Eifel)
bietet die Dresdner Arbeitsgruppe ihr Wissen 1990 an.
Es entstehen zwei neue Entwicklungsfirmen: »TechniSat Digital« in
Dresden und »TS Interdigital AG« in Ilmenau. Produziert wird in
den drei TechniSat Werken in Thüringen, Sachsen und Sachsen-Anhalt.
Dass man sich Mitte der 1980er Jahre dazu entschließt,
auch in der DDR den digitalen Rundfunk zu entwickeln
und damit grenzenlosen Empfang zu ermöglichen,
scheint auf den ersten Blick recht erstaunlich.
Lange Zeit wird der Empfang westlicher Rundfunkprogramme
in der DDR von der Staatsmacht nach Möglichkeit verhindert.
Im Angriffszentrum der DDR-Ideologie steht der Berliner
Sender RIAS (Rundfunk im amerikanischen Sektor).
Mit Zeitungsüberschriften wie »Vorsicht! RIAS spritzt Gift!«
oder »Ist eine gute Erziehung mit Westsendern möglich?«,
wird vor der schädlichen kapitalistischen Gesinnung gewarnt.
Doch die Steigerung der Deviseneinnahmen der DDR hat Vorrang.
Der Staat ist an neuer, exportfähiger Technik wie
der des Digitalen Satellitenradios sehr interessiert.
Die Rundfunkpolitik muss sich diesen übergeordneten Zielen beugen.

Quelle: Deutsches Museum Bonn


Weitere Information zu Entwicklung des DSR-Dekoderchips findet man im Netz zum Beispiel hier:

http://www.robotron-vax.de/pdf/dresdener_asic-systeme.pdf

und hier:

http://www.ps-blnkd.de/BE-Ergaenzungen.htm#U1620FC

Über alte Testberichte zu DSR-Geräten stieß ich auf die Information, das dieser DDR-DSR-ASIC u.A. in den Technisat DSR 5000 und 5002 Geräten verbaut wurde.
Bis jetzt konnte ich noch nicht in Erfahrung bringen, ob in der DDR nicht wenigsten Exportmuster von DSR-Radios entwickelt und gebaut wurden, der ASIC war jedenfalls 1988 marktreif.

Da mein DSR-Empfänger alle samt nicht mit dem DDR-ASIC ausgestattet sind, habe ich mir in den letzten Tagen für einstellige Eurobeträge + Porto zwei Technisat DSR 5002 besorgt. Ein Gerät werde ich komplett "Sezieren" und die Schaltung näher analysieren, das zweite Gerät vervollständigt meine Sammlung und wird an eigenen einem DSR-Sender betrieben.

Gestern traf das erste Gerät ein, offensichtlich ein sehr wenig oder bisher gar nicht benutztes Radio in OVP.





Wie man sieht handelt es sich um ein Kombigerät für DSR und UKW mit RDS. Es ist die "Kabelvariante", besitzt auf der Rückseite also kein Sat-ZF Eingang.
Bemerkenswert ist, das das Gerät nicht nur für die 118 MHz ausgelegt ist (solche Geräte gab es), sondern einen größeren Frequenzbereich nach DSR-Signalen
durchsuchen kann. Technisch wären 8-Kanäle mit insgesamt 128 Hörfunkprogrammen möglich gewesen, aber so einen Ausbau hat DSR in Deutschland nie erreicht!
Hierzulande blieb es bei 1-Kanal mit 16 Hörfunkprogrammen. In der Schweiz waren wohl in einigen Kabelnetzen 2-Kanäle mit insgesamt 32 Programmen on Air, eventuell finde ich die schweizer Programmbelegung noch irgendwo. Dort hieß das System DigitSuperRadio.

Starten wir die Zeitreise ins Jahr 1990/91 und packen wir unser damals 1000 DM kostendes "Neugerät" weiter aus.



(Trennung wegen 5000 Zeichengrenze)

Datei-Anhänge
Ub1.JPG Ub1.JPG (511x)

Mime-Type: image/jpeg, 52 kB

Ub2.JPG Ub2.JPG (536x)

Mime-Type: image/jpeg, 49 kB

Ub3.JPG Ub3.JPG (523x)

Mime-Type: image/jpeg, 65 kB

Oldtimer_OM gefällt der Beitrag.
!
!!! Fotos, Grafiken nur über die Upload-Option des Forums, KEINE FREMD-LINKS auf externe Fotos.    

!!! Keine Komplett-Schaltbilder, keine Fotos, keine Grafiken, auf denen Urheberrechte Anderer (auch WEB-Seiten oder Foren) liegen!
Solche Uploads werden wegen der Rechtslage kommentarlos gelöscht!

Keine Fotos, auf denen Personen erkennbar sind, ohne deren schriftliche Zustimmung.

Den Beitrag-Betreff bei Antworten auf Threads nicht verändern!
18.08.19 01:22
Bernhard45

nicht registriert

18.08.19 01:22
Bernhard45

nicht registriert

Re: Digitalradionorm DSR wiederbeleben, Wege zum eigenen DSR-Sender

Teil 2.

Der Käufer fand wie zu erwarten eine Garantiekarte von Technisat, eine Bedienungsanleitung und eine Werbebroschüre zu DSR. Zu Letzerem kommen wir später noch.
In der 2. Schicht erwartet uns das noch in Folie eingepackte und mit Schutzfolie versehende Empfangsgerät.



Klar, Zubehör gab es auch wie in den nachfolgenden Bilder zu sehen ist.







Schauen wir uns das Gerät mal genauer an.







HF-seitig hatte man die Auswahl zwischen zwei Eingängen. Ein Eingang für die UKW-Hochantenne, der zweite Eingang für das Kabelnetz. Softwareseitig kann das Gerät zwischen den Antenneneingängen beliebig wechseln und man kann pro Senderspeicher auch entscheiden von welchem Eingang die HF kommt.
Es sind also folgende Betriebsmodi möglich.

1. Digitalradio über Kabel
2. UKW über Kabel
3. UKW über Hochantenne

Das Audiosignal des Empfängers konnte dann analog über Cinch oder 6.3mm Kopfhörer (regelbar, auf der Vorderseite) und digital über Koax oder Lichtwellenleiter ausgeben werden.

Schauen wir uns erstmal flüchtig im Interieur um:





Kein Gramm Staub und ein Anblick eines Aufbaus, den wir in heutigen Geräten technologiebedingt nicht mehr oft zu sehen bekommen.
Rechts das Netzteil zur Erzeugung verschiedener Spannungen, ebenso eine Netztrennung mit "richtigem" Schalter.
Mittig neben der Hauptplatine der digitale Empfangsteil, auf der Hauptplatine der UKW-Tuner, sowie UKW und DSR-Dekoder von Technisat (DDR-ASIC!!!),
ansonsten Speicher und Halbleiter aus aller Welt. Auf der grünen Platine das Bedienteil mit Frontprozessor.

Das soll für diesen Moment erstmal reichen. Sämtliche Platinen und die Schaltung des Gerätes wird in einem zukünftigen Post vorgestellt, wenn wir
ans Sezieren des zweiten DSR-Empfängers gehen.

Schauen wir uns noch die Papier-Beilage an, die Technisat beigelegt hat und mit der uns DSR "näher" gebracht werden soll! Wer findet die Fehler? Wink



Ich werde das schöne Radio im nächsten Schritt mal einem praktischen Test unterziehen und an meinen DSR-SDR-Sender und ans Kabel hängen und einem Hörtest unterziehen. Danach werden wir uns hier mal das DSR-Sendeprotokoll ansehen, Schritt für Schritt versuchen einen DSR-Sender mit offener Software nachzubauen und dabei auch den Receiver schaltungstechnisch nicht vergessen.

Gruß B45

Datei-Anhänge
Ub4.JPG Ub4.JPG (497x)

Mime-Type: image/jpeg, 49 kB

Ub5.JPG Ub5.JPG (482x)

Mime-Type: image/jpeg, 24 kB

Ub6.JPG Ub6.JPG (494x)

Mime-Type: image/jpeg, 34 kB

Ub7.JPG Ub7.JPG (512x)

Mime-Type: image/jpeg, 63 kB

Ub8.JPG Ub8.JPG (488x)

Mime-Type: image/jpeg, 38 kB

Ub9.JPG Ub9.JPG (496x)

Mime-Type: image/jpeg, 39 kB

Ub10.JPG Ub10.JPG (502x)

Mime-Type: image/jpeg, 55 kB

Ub11.JPG Ub11.JPG (515x)

Mime-Type: image/jpeg, 77 kB

Ub12.JPG Ub12.JPG (500x)

Mime-Type: image/jpeg, 82 kB

DSR_Technisat_S1 001.jpg DSR_Technisat_S1 001.jpg (481x)

Mime-Type: image/jpeg, 407 kB

DSR_Technisat_S2 001.jpg DSR_Technisat_S2 001.jpg (494x)

Mime-Type: image/jpeg, 357 kB

DSR_Technisat_S3 001.jpg DSR_Technisat_S3 001.jpg (512x)

Mime-Type: image/jpeg, 297 kB

DSR_Technisat_S4 001.jpg DSR_Technisat_S4 001.jpg (504x)

Mime-Type: image/jpeg, 435 kB

DSR_Technisat_S5 001.jpg DSR_Technisat_S5 001.jpg (510x)

Mime-Type: image/jpeg, 493 kB

DSR_Technisat_S6 001.jpg DSR_Technisat_S6 001.jpg (489x)

Mime-Type: image/jpeg, 495 kB

DSR_Technisat_S7 001.jpg DSR_Technisat_S7 001.jpg (487x)

Mime-Type: image/jpeg, 437 kB

DSR_Technisat_S8 001.jpg DSR_Technisat_S8 001.jpg (477x)

Mime-Type: image/jpeg, 388 kB

DSR_Technisat_S9 001.jpg DSR_Technisat_S9 001.jpg (483x)

Mime-Type: image/jpeg, 327 kB

DSR_Technisat_S10 001.jpg DSR_Technisat_S10 001.jpg (511x)

Mime-Type: image/jpeg, 437 kB

DSR_Technisat_S11 001.jpg DSR_Technisat_S11 001.jpg (457x)

Mime-Type: image/jpeg, 318 kB

DSR_Technisat_S12 001.jpg DSR_Technisat_S12 001.jpg (487x)

Mime-Type: image/jpeg, 592 kB

20.08.19 19:49
Bernhard45

nicht registriert

20.08.19 19:49
Bernhard45

nicht registriert

Re: Digitalradionorm DSR wiederbeleben, Wege zum eigenen DSR-Sender

Hallo Bastler, Programmierer und DSR-Anhänger,

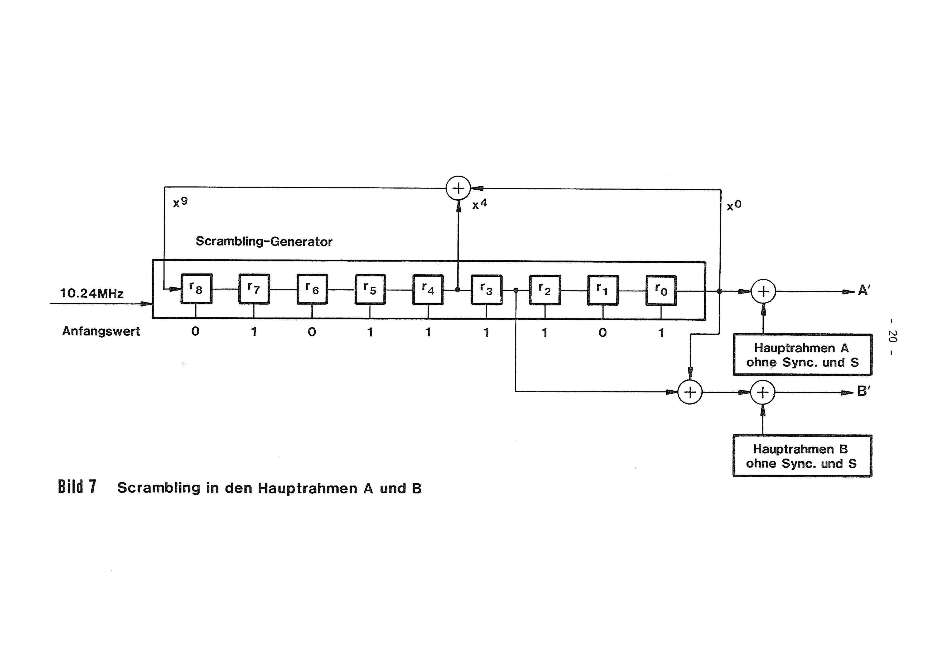
gehen wir wieder auf Zeitreise und schauen mal was uns DSR auf Low-Level-Ebene bringt.
Das Übertragungsprotokoll ist ja kein Geheimnis mehr und man kann sich die Infos offen beim
Institut für Rundfunktechnik oder bei R&S besorgen. Das Ganze ist im Vergleich zu heutigen
Rundfunksystemen eher trivial und leicht verdaulich, Technik der 80-iger Jahre.



Ihr habt bis hierher durchgehalten? Wunderbar! Im Prinzip nichts was man mit einer Programmiersprache wie C oder C++ nicht lösen könnte.

Gruß Bernhard

Datei-Anhänge
0001.jpg 0001.jpg (477x)

Mime-Type: image/jpeg, 448 kB

0002.jpg 0002.jpg (484x)

Mime-Type: image/jpeg, 400 kB

0003.jpg 0003.jpg (470x)

Mime-Type: image/jpeg, 400 kB

0004.jpg 0004.jpg (491x)

Mime-Type: image/jpeg, 408 kB

0005.jpg 0005.jpg (486x)

Mime-Type: image/jpeg, 330 kB

0006.jpg 0006.jpg (477x)

Mime-Type: image/jpeg, 200 kB

0007.jpg 0007.jpg (461x)

Mime-Type: image/jpeg, 350 kB

0008.jpg 0008.jpg (471x)

Mime-Type: image/jpeg, 202 kB

0009.jpg 0009.jpg (468x)

Mime-Type: image/jpeg, 343 kB

0010.jpg 0010.jpg (472x)

Mime-Type: image/jpeg, 220 kB

0011.jpg 0011.jpg (454x)

Mime-Type: image/jpeg, 278 kB

0012.jpg 0012.jpg (463x)

Mime-Type: image/jpeg, 347 kB

0013.jpg 0013.jpg (469x)

Mime-Type: image/jpeg, 261 kB

0014.jpg 0014.jpg (463x)

Mime-Type: image/jpeg, 377 kB

0015.jpg 0015.jpg (469x)

Mime-Type: image/jpeg, 246 kB

0016.jpg 0016.jpg (474x)

Mime-Type: image/jpeg, 365 kB

0017.jpg 0017.jpg (465x)

Mime-Type: image/jpeg, 374 kB

0018.jpg 0018.jpg (488x)

Mime-Type: image/jpeg, 169 kB

0019.jpg 0019.jpg (467x)

Mime-Type: image/jpeg, 319 kB

0020.jpg 0020.jpg (450x)

Mime-Type: image/jpeg, 353 kB

0021.jpg 0021.jpg (456x)

Mime-Type: image/jpeg, 155 kB

0022.jpg 0022.jpg (470x)

Mime-Type: image/jpeg, 292 kB

0023.jpg 0023.jpg (490x)

Mime-Type: image/jpeg, 323 kB

0024.jpg 0024.jpg (458x)

Mime-Type: image/jpeg, 212 kB

0025.jpg 0025.jpg (484x)

Mime-Type: image/jpeg, 166 kB

0026.jpg 0026.jpg (469x)

Mime-Type: image/jpeg, 315 kB

0027.jpg 0027.jpg (486x)

Mime-Type: image/jpeg, 182 kB

0028.jpg 0028.jpg (507x)

Mime-Type: image/jpeg, 211 kB

0029.jpg 0029.jpg (474x)

Mime-Type: image/jpeg, 215 kB

0030.jpg 0030.jpg (485x)

Mime-Type: image/jpeg, 249 kB

0031.jpg 0031.jpg (475x)

Mime-Type: image/jpeg, 332 kB

0032.jpg 0032.jpg (464x)

Mime-Type: image/jpeg, 122 kB

0033.jpg 0033.jpg (471x)

Mime-Type: image/jpeg, 249 kB

29.12.19 22:23
Manuel 

0-49 Punkte

29.12.19 22:23
Manuel 

0-49 Punkte

Re: Digitalradionorm DSR wiederbeleben, Wege zum eigenen DSR-Sender

Hallo zusammen!

Ich bin neu hier im Forum, auf meiner Suche nach DSR bin ich auf diesen Thread aufmerksam geworden und so habe ich mich hier angemeldet. Ich habe auch schon mit dem Gedanken gespielt, DSR selbst zu erzeugen und so meinem Empfänger neues Leben einzuhauchen.


Hier mal ein paar Mitschnitte zum DSR bzw. TV-Sat 2 und DFS Kopernikus:


Berliner Abendschau - IFA 1989 - DSR und D2-MAC [24.08.1989]

https://www.youtube.com/watch?v=rvU8n2kBacc


Info-Kanal Kabelanschluß der Telekom

https://www.youtube.com/watch?v=FRm0OMt3BjQ#t=5m38s


Berliner Abendschau - Zwei Wochen vor der IFA [08.08.1989]

https://www.youtube.com/watch?v=_C0421HBCCs#t=1m23s


Internationale Funkausstellung Berlin 1989

https://www.youtube.com/watch?v=MjllrptRpok#t=056s


Berliner Abendschau - Satellitenstart DFS-Kopernikus 1 [14.06.1989]

https://www.youtube.com/watch?v=Q5aLR-Kpf6k


Berliner Abendschau - IFA 1989 - Tag 4 [29.08.1989]

https://www.youtube.com/watch?v=_c6Tu1G1ucY

23.03.20 13:50
amc57 

0-49 Punkte

23.03.20 13:50
amc57 

0-49 Punkte

Re: Digitalradionorm DSR wiederbeleben, Wege zum eigenen DSR-Sender in Corona Zeiten

Hallo zusammen,

auf der Suche nach dem DSR-Tuner DAR-1000ES von Sony bin hier im Forum ich gelandet. Der Gedanke das DSR-Format wieder zu beleben ist mir auch nicht neu. Es ist natürlich so, dass hunderttausende gute und high-endige Geräte aus den 90er nach der Abschaltung der DSR-Übertragung wertlos geworden sind. Daher wäre der Ansatz, das DSR-Signal, mit heute zur Verfügung stehenden Mitteln (DSP, Arduino, Raspberry Pi …) zu erzeugen, nicht unmöglich.
Zuerst stellt sich jedoch folgende Frage auf:
Gibt es in heutiger digitaler Radio-Welt Quellen, die den Mindestanforderungen von damaliger DSR-Spezifikation genügen? Wir suchen nach einen Stereo-Daten-Stream, mit Wortlänge von wenigstens 16 bit und Abtastfrequenz gleich oder größer 32 kHz. Ein DSR-Block besteht aus 16 solcher Streams.
Daraus ergibt sich eine Bitrate von:

2 x 16 [bit] x 32 [kHz] = 1024 [kbit/s] pro ein Sender oder Kanal

Ein Versuch auf diese Frage Antwort zu geben, sieht so aus:
- UKW terrestrisch oder im Kabel kommt nicht in Frage, da es rein analoges Signal ist
- Internet-Radio bietet meistens datenreduzierte Formate, wie MP3, bis 320 kBit/s, (bei 128 kBit/s soll man froh sein)
- Bei DAB+ wird von etwa 80 kbit/s bzw. 72 kbit/s pro Kanal ausgegangen (kein Kommentar)
- DVB-S2 über Astra - Die Bitrate der verbreiteten Stereoprogramme beträgt dabei 320 kbit/s, wovon mindestens 256 kbit/s für Audiodaten verwendet werden (theoretisch)
Ein detaillierter Vergleich ist bei Wikipedia unter Digitalradio „Übertragungsverfahren für Digitalradio im Vergleich“ zu finden.

Fazit: Es gibt keine Signalquelle, die nur ansatzweise dem DSR-Format genügt. Leider.

Was nun? Bin gespannt auf die Antworten.

Übrigens habe ich persönlich Zweifel daran, ob sich ein DSR-Decoder-Chip aus einem vorhandenen DSR-Receiver zur Erzeugung von DSR-Signal missbrauchen lässt. Der Grund ist einfach – das ist ein Demultiplexer mit Descrambling Funktion, der aus den 16 Kanälen eines DSR-Blocks einen Sender extrahiert und einen Datenstream zum D/A-Wandler liefert. Es ist schwer vorstellbar, dass der Baustein sich programmiertechnisch, durch einfaches Vertauschen „Eingang wird jetzt Ausgang sein“, zum Multiplexer umfunktionieren lässt. Was wir hier brauchen ist die technische Doku eines DSR-Modulators, der der damals, in den 90er, auf Senderseite fungiert hat. Das wäre der erste Schritt.
Allerdings bleibt nach wie vor die Frage nach einer geeigneten Datenquelle. Es ist so, dass ein DSR-Block 16 Sender (Kanäle) beinhaltet. Daher müssen die 16 Datenstreams gleichzeitig zur Verfügung stehen, damit ein DSR-Konformes Datenpaket erstellt werden kann. Wie das damals konzipiert worden war, ist in einem Artikel „CD-Qualität aus dem Orbit“ in der Funkschau Nr. 19/1992 nachzulesen.
Das war meine Recherche in den schweren Zeiten von Coronavirus Covid-19.

Bleibt gesund!

Viele Grüße

Amc57

23.03.20 14:30
HB9 

500 und mehr Punkte

23.03.20 14:30
HB9 

500 und mehr Punkte

Re: Digitalradionorm DSR wiederbeleben, Wege zum eigenen DSR-Sender

Hallo AMC57,

die einzige Signalquelle, die es heute noch gibt und DSR-Qualität liefert, ist die CD. Wegen der inkompatiblen Samplingfrequenz braucht es einen Konverter, der auch die Audiobandbreite auf DSR-kompatible 15kHz reduziert, was in IC-Form erhältlich ist. Schallplatten gehen natürlich auch, die erreichen bei entsprechender Qualität fast den gleichen Level. UKW ist im Prinzip auch sehr gut (bei entsprechend störfreiem Empfang), aber in den Sendestudios wird der Ton arg beschädigt, und die Links zu den Sendern transportieren häufig ein stark komprimiertes Signal, da ist der beste Sender nutzlos.

Für die Erzeugung eines DSR-Signals gibt es wohl nur den Weg über einen ausreichend leistungsfähigen (Signal-) Prozessor und passende (selbstgeschriebene) Software, vielleicht findet man sie auch im Internet. Allerdings sehe ich dahinter nur die Herausforderung, 'es geschafft zu haben' und keinen praktischen Verwendungszweck, denn das Audiosignal muss ja zwingend vor Ort vorhanden sein, und da macht es keinen Sinn, den Umweg über einen DSR-Modulator und DSR-Empfänger zu nehmen, wenn man es auch direkt am Verstärker einspeisen kann. Aber das muss jeder selber entscheiden, eine technische Herausforderung ist es auf jeden Fall.

Gruss HB9

23.03.20 17:47
amc57 

0-49 Punkte

23.03.20 17:47
amc57 

0-49 Punkte

Re: Digitalradionorm DSR wiederbeleben, Wege zum eigenen DSR-Sender

Hallo HB9,

vielen Dank für die rasche Antwort. Ich stimme vollkommen zu, dass es eine Herausforderung ist, ein DSR-Signal zu erzeugen. Es ist ohne Zweifel mit einem programmierbaren und schnellen DSP machbar. Daten einer CD nach DSR zu portieren ist nicht zielführend.
Mir geht es auch um einen praktischen Verwendungszweck, einen hochwertigen DSR-Tuner (z. B. Sony DAR-1000ES) wieder zum Leben zu erwecken. Er sollte wieder Radiosendungen wiedergeben und das noch in guter Qualität.
Wäre eine entsprechende digitale Signalquelle vorhanden sein, die Radiosendungen im Format A überträgt, könnte man sich vorstellen, einen Umsetzer von A nach DSR-Format zu bauen.
Eine Hoffnung ist hier DVB-S2-Übertragung über Astra. Es gibt unzählige digitale Satellitenempfänger, die TV-Programme empfangen aber kaum Geräte nur fürs Radio. Der Grund ist die Bedienung, die ausschließlich via Bildschirm vom TV-Gerät stattfindet. Außerdem ist das Radioangebot über Satellit enorm, bisher aber wenig bekannt und selten benutzt.
Meine praktische Vorstellung ist einen Satellitenreceiver so umzubauen, dass er auch DSR-konformen Signal liefert. Im Endeffekt braucht man einen Konverter von AAC nach DSR. Die Bitrate bei DVB-S2-Radiosendern, die AAC-Codec verwenden, ist variabel, bis 320 kbit/s. Laut Wikipedia „AAC erreicht bereits ab 64 kbit/s akzeptable, wenn auch eingeschränkte Stereo-Qualität. 96 kbit/s entsprechen guter UKW-Qualität, und 128 kbit/s haben schon eine hohe Transparenz. Bitraten ab 192 kbit/s bzw. 224 kbit/s sind vergleichbar mit dem verlustfreien CD-Format.“ Zitat Ende. Wer daran glaubt, möge auch glücklich sein. Trotzdem gibt es nichts besseres.
Mit so einem Konverter ließe sich in die, seit 1999 tausende nutzlos gewordene DSR-Tuner, einen Hauch Leben verleihen und es nicht nur als eine Herausforderung „es geschafft zu haben“ zu sehen.

Viele Grüße

Amc57

24.03.20 09:20
Bernhard45

nicht registriert

24.03.20 09:20
Bernhard45

nicht registriert

Re: Digitalradionorm DSR wiederbeleben, Wege zum eigenen DSR-Sender

amc57:

Übrigens habe ich persönlich Zweifel daran, ob sich ein DSR-Decoder-Chip aus einem vorhandenen DSR-Receiver zur Erzeugung von DSR-Signal missbrauchen lässt.

Hatte das hier jemand vor?
Einen Decoder-IC kannst Du in der Regel nicht als Encoder missbrauchen! Man könnte allerdings versuchen einen Encoder mittels FPGA zu erstellen, eine sicher ganz interessante Aufgabe.

Die Lösung die ich hier habe nimmt aus bis zu 16 Threads ein Resampling mehrerer Audioquellen (das kann eine Soundkarte physikalisch/virtuell sein) vor, so das wir auf ein oben beschriebenes Audioformat kommen. Dabei ist es egal ob das Modulationssignal pro Kanal eine simple Microfondurchsage, ein qualitativ guter Webstream, ein vorher per SDR empfangenes Signal oder halt eine CD ist. Letzteres ist natürlich ideal, aber keine Voraussetzung da wir uns die Audioquelle halt DSR -richtig erneut in Software digitalisieren. Fehlende Kanäle (wenn man nicht soviele Audioquellen hat) werden einfach "genullt" also ohne Audiomodulation aufgefüllt.

Die durch bis zu 16 Threads gesampelten Daten werden dann entsprechend der TR3.1 durch ein C Programm verpackt. Dieser DSR-konforme Multiplex geht per TCP/IP zu GNURadio welches die Modulation und Berechnung der HF-Ausgangsdaten macht. Diese berechnete HF wird abermals per TCP/IP zu einem Transferprogramm für das SDR (LimeSDR HackRF aber mit Einschränkungen gehen auch die FL2K-Dongles) gesendet, welches das Signal dann analogisiert an den DSR-Receiver sendet. Ein durchschnittlicher PC reicht für die gesamte Sache aus!

Bis jetzt läuft da alles ganz gut, lediglich die Einrichtung der Modulationsquellen für 8 bis 16 Sender ist schei*** fummelig. Man bekommt es mit Unix-Kenntnissen dennoch irgendwie hin, aber das ist für die große Masse nichts die ja eher Windows gewöhnt ist. Im Moment steht also noch aus, eine grafische Oberfläche für die Einrichtung der Audioquellen zu entwickeln, Ziel ist eine Oberfläche wie beim Software DRM-Transmitter Spark https://drm-sender.de/ . Das ganze sollte Plattform-unabhänig sein, daher in C#/.Net bzw. der OpenSource-Alternative Mono oder gar in Java umgesetzt und für Linux wie Windows Soundarchitekturen einsetzbar sein. Die Einrichtung der virtuellen Soundkarten ist unter Linux/Unix mit Alsa nicht so das Problem, Windows tanzt natürlich mit seiner Audioarchitektur da aus der Reihe.
Wie gut sind deine Kenntnisse in diesen Programmiersprachen Amc57? In dieser Hinsicht GUI-Programmierung suche ich nämlich noch Hilfe!

Zitieren:
Ein Versuch auf diese Frage Antwort zu geben, sieht so aus:
- UKW terrestrisch oder im Kabel kommt nicht in Frage, da es rein analoges Signal ist
- Internet-Radio bietet meistens datenreduzierte Formate, wie MP3, bis 320 kBit/s, (bei 128 kBit/s soll man froh sein)
- Bei DAB+ wird von etwa 80 kbit/s bzw. 72 kbit/s pro Kanal ausgegangen (kein Kommentar)
- DVB-S2 über Astra - Die Bitrate der verbreiteten Stereoprogramme beträgt dabei 320 kbit/s, wovon mindestens 256 kbit/s für Audiodaten verwendet werden (theoretisch)

zu UKW: ist möglich, das Signal kann per SDR empfangen und direkt DSR-konform umgewandelt werden, das einfachste. Bei externen UKW-Empfängern musst Du halt über eine gute Soundkarte wieder digitalisieren, am Besten gleich DSR-konform

zu Internetradio: läuft über eine virtuelle Soundkarte und wird dort resampled. Es kommt hinten natürlich nicht mehr raus als vorne rein geht, aber wenn man einen Oldiekanal oder Musik der 30er/40er erstellt, hast Du sowieso nur zeitgemäße Aufzeichnungen die Rauschen und Knacksen. Klassiksender der Ö.R. hingegen werden idR natürlich in deutlich besserer Qualität ausgesendet und hören sich somit auch auf dem DSR-Empfänger schon fast wie eine CD an.

zu DAB+: vergiss es, es lohnt nicht, da alle Kanäle per Internetstream qualitativ besser angeliefert werden! Technisch wäre ein Empfang per SDR, Dekodierung und anschließendes Resampling machbar.

DVB-S2: Im Prinzip das gleiche wie bei UKW!

Gruß
Bernhard

Zuletzt bearbeitet am 24.03.20 09:55

24.03.20 23:00
amc57 

0-49 Punkte

24.03.20 23:00
amc57 

0-49 Punkte

Re: Digitalradionorm DSR wiederbeleben, Wege zum eigenen DSR-Sender

Hallo Bernhard45,
wow! Bis jetzt hätte ich mir nicht vorstellen können, dass es schon eine fast fertige Lösung für DSR gibt und bin wirklich beeindruckt. Es ist wahr, dass man im Internet alles finden kann, man muss nur richtig suchen…

Zunächst habe ich nach den Schlüsselwörtern, wie LimeSDR, GNU Radio, HackRF, FL2K im Netz geschaut, um ein wenig Hintergrundwissen zu bekommen. Ich wusste schon, dass es in der Nachrichtentechnik und für den Amateurfunk eine Menge Werkzeuge gibt, aber ausgerechnet diese waren mir nicht bekannt. Man kann halt nicht alles wissen. Ehrlich gesagt, habe mich bis jetzt dafür nicht besonders interessiert. Manche Hacks zur RF auf Youtube sind schön lustig.

Die vorgestellte Lösung ist sehr interessant und der Empfang via SDR lässt eine große Auswahl von Audioquellen zu.
Eine Frage hätte ich noch und zwar nach der Hardware, die benötigt wird, PC ausgenommen. Soweit ich es verstanden habe, sind verschiedene Konfigurationen möglich. Wie sieht der funktionierende Aufbau aus?

Wie gut sind meine Kenntnisse in Programmierung? Gar nicht schlecht, glaube ich. Von Beruf bin ich SW-Entwickler und wenn ich mich noch daran erinnern kann, habe ich das erste Programm, damals 1976, in Basic geschrieben und in all den Jahren Fortran, Pascal, C, C++, C#, Java und viele andere durchgemacht. Eine vernünftige GUI wäre sicherlich auch drin. Ja, ich weiß, ich bin alt aber nicht veraltet… und biete meine Hilfe an. Es wäre auch schön zu sehen und hören, wenn mein Sony DAR-1000 wieder lebt.

Viele Grüße

Amc57

25.03.20 20:25
Bernhard45

nicht registriert

25.03.20 20:25
Bernhard45

nicht registriert

Re: Digitalradionorm DSR wiederbeleben, Wege zum eigenen DSR-Sender

amc57:
Die vorgestellte Lösung ist sehr interessant und der Empfang via SDR lässt eine große Auswahl von Audioquellen zu.
Eine Frage hätte ich noch und zwar nach der Hardware, die benötigt wird, PC ausgenommen. Soweit ich es verstanden habe, sind verschiedene Konfigurationen möglich. Wie sieht der funktionierende Aufbau aus?

Zur Zeit sind wie gesagt mehrere funktionierende Konfigurationen möglich!
Wenn Du nur eine handvoll DSR-Sender haben willst und die Modulationsquelle Internetradio ist, dann reicht ein alter Core2Duo/Quad aus.
Für 16 Kanäle die vielleicht über SDR per DVB-S2 oder DAB+ empfangen und neu gesampelt werden müssen, ein ordentlicher Corei7 bis i9.
Auf alle Fälle braucht die Maschine für einen funktionierenden DSR-Sender zur Zeit
a.) Linux oder ein Unix
b.) RAM, RAM und nochmals RAM ....
c.) eine schnelle Schnittstelle zum SDR welches das Signal zum DSR-Receiver sendet, das kann USB3 oder Ethernet sein, kommt halt auf das SDR an.

Zum preiswerten Fl2K-SDR (ist ja eigentlich eine USB3-.nach-VGA Grafikkarte) habe ich hier im Forum schon etwas geschrieben:

eigener DAB(+) Sender: https://www.wumpus-gollum-forum.de/forum...&thread=366
eigener HDRadio Sender https://www.wumpus-gollum-forum.de/forum...&thread=381

Drüben im RBF sind auch andere alte Normen mit GNU-Radio im Betrieb, AM Stereo (C-QUAM) usw.

Also was brauchst Du für einen DSR-Śender?

PC (siehe oben),
ein SDR fürs Senden und ggf. Empfangen, Lime SDR oder Lime SDR mini sind sehr zu empfehlen!!! Hack RF (ca. 100 Euro) geht auch, FL2K als Basis für weitere Basteleien in Richtung SDR okay, für den EInstieg (kostet ja auch nur 10-20 Euro).
Wenn Du mit FPGAs klar kommst (Verilog oder VHDL), dann kannst Du relativ preisbewusst dein eigenes TraumSDR aufbauen!

amc57:
Wie gut sind meine Kenntnisse in Programmierung? Gar nicht schlecht, glaube ich. Von Beruf bin ich SW-Entwickler und wenn ich mich noch daran erinnern kann, habe ich das erste Programm, damals 1976, in Basic geschrieben und in all den Jahren Fortran, Pascal, C, C++, C#, Java und viele andere durchgemacht. Eine vernünftige GUI wäre sicherlich auch drin. Ja, ich weiß, ich bin alt aber nicht veraltet… und biete meine Hilfe an.

Das klingt gerade für mich wie ein 6er im Lotto!
Ich bin seit 40 Jahren als Nutzer mit Unix unterwegs und da ist die DSR-Sache, insbesondere die Modulationsseite, also das Erzeugen der Sender über die Konsole relativ überschaubar. ALSA, CVLC aus meinem "hobbymäßigen" iRadio-Baukasten (https://github.com/BM45/iRadio/) und die genialen Möglichkeiten der Interprozesskommunikation unter Unix/Linux machen den Job quasi zum "Nulltarif" und ressourcenschonend.

Ich brauche aber dringend Hilfe, die Sache auf einem Windows-System hinzubekommen, denn das ist das was die Leute und Zielgruppe suchen. Hatte da schon einige Nachfragen, speziell von DSR-Liebhabern die Ihre Geräte eben noch nicht entsorgt haben. Aber sobald das Wort Unix/Linux fällt, ist bei vielen normalen Computernutzern die Begeisterung erst einmal gedämpft. Klingt für viele halt zu kompliziert!

Wo klemmts genau? Ein Tool um die DSR-Senderkonfiguration und die Modulationsquellen zusammenzuklicken + das Erzeugen von Audioquellen unter Windows, den Rest mache ich mit C/C++/python, GNURadio über TCP/IP und den Tools die die SDRs mitbringen. Der Rattenschwanz der hinter der Erstellung DSR-konformer Audiostreams steht, ist fast schon trivial, bei Unix/Linux wie Windows! Alles davor ist auf Windows eine Nuss die ich bisher nicht knacken konnte!
Da wäre erstens das Problem mit der Windows API, DirectSound und ggf. dem Windows DDK (nennt sich wohl jetzt WDK) mehrere virtuelle Soundkarten und Quellen hinzubekommen! Ich habe da schon Nerven gelassen und werde von Windows (ich sags mal vulgär) in den Arsch ge****. Was mit ALSA und anderen Frameworks unter Linux/UNIX fast schon ein Kinderspiel ist, ist unter Windows (von mir) absolut nicht mit kleinen Tools umsetzbar. Und da stehe ich nun.
Kannst Du dem Projekt "Wiederbelebung von DSR" seitens der Zusammenstellung der Modulationsquellen mit deinem Wissen und Fähigkeiten einen Anstoß geben oder gar behilflich sein? Mein Ziel wäre so eine Software (und GUI!) zu haben, wir die DRM-Sendesoftware hier: https://drm-sender.de/ bietet, nur halt das man bis zu 16 Modulationsquellen (also virtuelle Soundkarten) hat von den man per C/C++ Audiosamples einlesen kann.

Gruß
Bernhard


---
Bei Fragen zum Umbau oder zur Modernisierung von Röhrenradios mittels SDR, DAB+, Internetradio, Firmwareentwicklung oder einfach nur Kontakt - bitte Email unter: mbernhard1945(at)gmail(dot)com

Zuletzt bearbeitet am 25.03.20 20:36

 1 2 3
 1 2 3
eigenen   Digitalradionorm   Nachrichtentechniker   wumpus-gollum-forum   welt-der-alten-radios   30cm-Revox-Horn-Antenne   Übertragungsverfahren   Übertragungsprotokoll   wiederbeleben   Interprozesskommunikation   Konfigurationsprogramm   DSR-Senderkonfiguration   Zeitungsüberschriften   Modulationsquellen   OpenSource-Alternative   Windows   Windows-Konfigurationen   Stereo-Radioprogramme   „Übertragungsverfahren   DSR-Sender