| Passwort vergessen?
Sie sind nicht angemeldet. |  Anmelden

Sprache auswählen:

Wumpus Gollum Forum von
Wumpus Welt der (alten) Radios
Sie sind nicht angemeldet.
 Anmelden

RFT Dominante kein UKW /LMK geht
  •  
 1 2
 1 2
29.07.13 10:38
radiouli 

500 und mehr Punkte

29.07.13 10:38
radiouli 

500 und mehr Punkte

RFT Dominante kein UKW /LMK geht

Hallo im Forum,

nach langer Suche im Netz und vor allem hier im Forum konnte ich auf mein Problem keine Antwort finden, daher meine Bitte um Hilfe.
Mein Dominante W102 empfängt kein UKW mehr, LMK funktioniert tadellos!

Ich bin technisch einigermaßen versiert und habe ein digitales Multimeter, Abgleichbesteck, Lötkolben ect.

Das Radio habe ich vor einer Woche gekauft, UKW ging da noch, allerdings waren Frequenzbereiche oberhalb der 104 MHz zu empfangen!
Ich habe versucht den Tuner mit über die Spulen in den richtigen Frequenzbereich zu drehen, hat aber leider nicht funktioniert. Bei dieser Aktion
gab es es ein ewas lauteres knacken, dann war der UKW Bereich tot. Kein rauschen, nichts mehr! Nur das leise brummen bei voller Lautstärke der Lautsprecherendstufe. LMK funktioniert weiterhint TOP. Meinerster Verdacht: Die ECC 85 hat es entschärft. Ich habe mir eine neue besorgt, leider kein Erfolg. Meine Fehlersuche: Das geschirmte HF Kabel vom UKW Tuner zum Gitter 1 der ECH 81 abgelötet und einen dragt an Gitter 1 der ECH 81 gehalten, es waren deutliche Geräusche zu vernehmen - ZF sollte also okay sein? UKW Tuner Test: Ein anderes Radio neben das Dominante gestellt, auf 100 Mhz gedreht und und den Oszi-Schwingtest gemacht, hat funktioniert. Der UKW Tuner schwingt zumindest. Ich hatte das Doninante auf 90 Mhz und dann an einer Spule solange gestellt, bis auf dem anderen UKW Kassettenrekorder (ca. 100 Mhz) Stille herschte gestellt. Heißt doch, der UKW Tuner schwingt erst mal ? Tastensatz: Mehrfaches Klavierspielen hat nichts gebracht, ich denke nicht das der kaputt ist. Ich bin jetzt so langsam am Ende. Soll ich die ECH 81 und die EABC 80 wechseln?

Danke für eure Hilfe
radiouli

Noch gefällt der Beitrag keinem Nutzer.
!
!!! Fotos, Grafiken nur über die Upload-Option des Forums, KEINE FREMD-LINKS auf externe Fotos.    

!!! Keine Komplett-Schaltbilder, keine Fotos, keine Grafiken, auf denen Urheberrechte Anderer (auch WEB-Seiten oder Foren) liegen!
Solche Uploads werden wegen der Rechtslage kommentarlos gelöscht!

Keine Fotos, auf denen Personen erkennbar sind, ohne deren schriftliche Zustimmung.

Den Beitrag-Betreff bei Antworten auf Threads nicht verändern!
29.07.13 12:37
puntomane 

500 und mehr Punkte

29.07.13 12:37
puntomane 

500 und mehr Punkte

Re: RFT Dominante kein UKW /LMK geht

Hallo radiouli,

@...Soll ich die ECH 81 und die EABC 80 wechseln?

Würde keinen Sinn ergeben, du schribst ja, FM-ZF ist oK.

Vermtl .hast du durch das hantieren im Tuner einen Kurzschluß in der Anodenspannungsversorgung verursacht und dabei ist wahrscheinlich der R/W 38 = 5K abgeraucht. Messe mal am Pin1 und Pin 6 der ECC ob die Anodenspannungen vorhanden sind, falls eine Anodenspannung fehlt, prüfe dann diesen R/W38 auf Werterhalt bzw. Spannungsdurchgang.

Zuletzt bearbeitet am 29.07.13 14:25

29.07.13 13:08
radiouli 

500 und mehr Punkte

29.07.13 13:08
radiouli 

500 und mehr Punkte

Re: RFT Dominante kein UKW /LMK geht

puntomane:
Hallo radiouli,

@...Soll ich die ECH 81 und die EABC 80 wechseln?

Würde keinen Sinn ergeben, du schribst ja, FM-ZF ist oK.

Vermtl .hast du durch das hantieren im Tuner einen Kurzschluß in der Anodenspannungsversorgung verursacht und dabei ist wahrscheinlich der R/W 38 = 5K abgeraucht. Messe mal am Pin1 und Pin 6 der ECC ob die Anodenspannungen vorhanden sind, falls eine Anodenspannung fehlt, prüfe dann diesen R/W38 auf Werterhalt bzw. Spannungsdurchgang.

M.f.g.
harry

Hallo harry, danke für deine Antwort. Würde denn der UKW Tuner / Oszilator ohne Anodenspannung überhaupt schwingen ?
Ich habe die Werte übrigens auch gemessen, lagen bei deutlich über 100 Volt, weiß es aber jetzt nicht aus dem Kopf. Wo genau steckt denn der von dir gegannte 5 K Wiederstand?

Danke und Gruß
Uli

P.S. habe mir in der Mittagspause mal trotzdem zwei Röhren geholt ECH 81 und die EABC 80

29.07.13 14:24
puntomane 

500 und mehr Punkte

29.07.13 14:24
puntomane 

500 und mehr Punkte

Re: RFT Dominante kein UKW /LMK geht

Hallo radiouli,
Die ECC85 ist bekanntlich eine Doppeltriode, ein Triodensystem ist für den Oszillator und das andere System für die Eingangsverstärkung zuständig, du schriebst ja der Oszillator funktioniert ja, dieses wird über den R/W39 = 12,5K versorgt.
Der R/W38 = 5 K versorgt das System für die Eingangsverstärkung.

Beide Widerstände müssten oben auf dem Tuner zwischen den Durchgangskondensatoren gelötet sein
Bitte achte beim hantieren am Tuner, das keinerlei Bauteile in ihrer Lage verändert werden.

29.07.13 14:32
Wolle 

500 und mehr Punkte

29.07.13 14:32
Wolle 

500 und mehr Punkte

Re: RFT Dominante kein UKW /LMK geht

Hallo Radiouli.

Wie Harry bereits schrieb, kommt der Anodenwiderstand der Vorstufe (R304) als Fehler in Betracht. Dieser Widerstand ist im Tunerbaustein zu finden.



Viel Erfolg und viele Grüße.
Wolle

Datei-Anhänge
dominante_tuner_sch1.png dominante_tuner_sch1.png (332x)

Mime-Type: image/x-png, 63 kB

29.07.13 14:46
radiouli 

500 und mehr Punkte

29.07.13 14:46
radiouli 

500 und mehr Punkte

Re: RFT Dominante kein UKW /LMK geht

puntomane:
Hallo radiouli,
Die ECC85 ist bekanntlich eine Doppeltriode, ein Triodensystem ist für den Oszillator und das andere System für die Eingangsverstärkung zuständig, du schriebst ja der Oszillator funktioniert ja, dieses wird über den R/W39 = 12,5K versorgt.
Der R/W38 = 5 K versorgt das System für die Eingangsverstärkung.

Beide Widerstände müssten oben auf dem Tuner zwischen den Durchgangskondensatoren gelötet sein
Bitte achte beim hantieren am Tuner, das keinerlei Bauteile in ihrer Lage verändert werden.

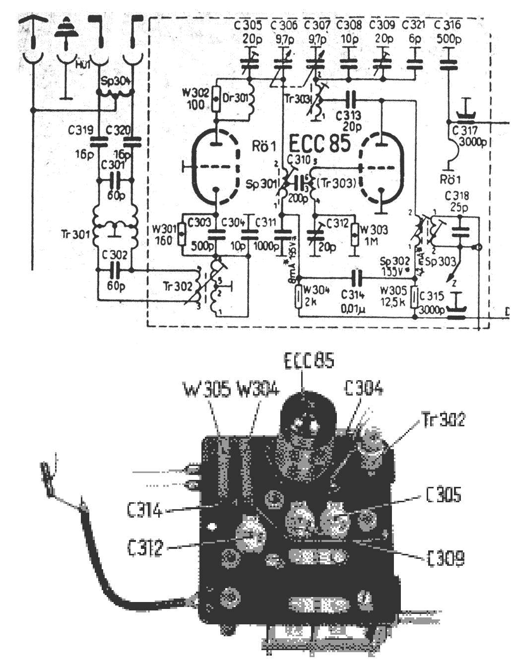
Hallo harry, danke, jetzt ist alles klar. Auf meine Schaltbild ist dieser Wiederstand mit W304 gekennzeichnet und hat 2K. Meine Messung an beiden Anoden (Pin 1 und 6) hat eine Spannung großer 100 Volt ergeben. Ich bin jetzt nicht am Gerät, weiß es daher nichtmehr. Aus dem Gedächtnis heraus an einem Pin 130 Volt, an dem Anderen Pin fast 200 Volt. Den Tuner hatte ich auch schon ausgebaut und alle Wiederstände überprüft, waren alle okay. Die Kondensatoren hab ich nicht prüfen können, kein Messgerät. Was mir optisch auffiel, der C321 / 6 picofarad, sieht etwas komisch aus. Ich habe ihn noch nicht gewechselt. Ich hänge meinen Schaltplan mal an.

Grüße
radiouli

Datei-Anhänge
Foto.jpg Foto.jpg (451x)

Mime-Type: image/jpeg, 91 kB

29.07.13 14:51
radiouli 

500 und mehr Punkte

29.07.13 14:51
radiouli 

500 und mehr Punkte

Re: RFT Dominante kein UKW /LMK geht

Wolle:
Hallo Radiouli.

Wie Harry bereits schrieb, kommt der Anodenwiderstand der Vorstufe (R304) als Fehler in Betracht. Dieser Widerstand ist im Tunerbaustein zu finden.



Viel Erfolg und viele Grüße.
Wolle

Hallo Wolle,

dank auch dir für die Info. Ich messe heute nochmal die Anodenspannung, sollte sie, wie im Schaltbild stimmen (195 und 139 Volt)
kann ich mir doch das Zerlegen des Tuners sparen. Wobei ich die Wiedersände auch von der anderen Seite messen kann. Sitze leider nicht vor dem Gerät.

Danke und Grüße
Uli

29.07.13 15:17
nobbyrad58 

500 und mehr Punkte

29.07.13 15:17
nobbyrad58 

500 und mehr Punkte

Re: RFT Dominante kein UKW /LMK geht

Hallo radiouli!

Auch W 302 und DR 301 mal prüfen. Wenn einer von den beiden ausfällt muss das nicht unbedingt die U Anode der ECC 85 stark beeinflussen.
Ich sehe gerade das Eingangsstufe in Gitterbasisschaltung ausgefühert ist. Wichtig sind auch C 311, C304, W 301. Mit dem Ohmmeter kann man zumindest einen Kurzschluss an den Kondensatoren messen.
Es wird wohl nichts anderes übrig bleiben die Drossel einseitig abzulöten.

MFG Nobby

Zuletzt bearbeitet am 29.07.13 15:37

29.07.13 15:29
radiouli 

500 und mehr Punkte

29.07.13 15:29
radiouli 

500 und mehr Punkte

Re: RFT Dominante kein UKW /LMK geht

Hallo an Alle und erst mal danke für die rege Beteiligung hier im Forum

"Auch W 302 und DR 301 mal prüfen. Wenn einer von den beiden ausfällt muss das nicht unbedingt die U Anode der ECC 85 stark beeinflussen."

Hallo Nobby,

den habe ich auch schon überprüft, ist ja quasi fas 0 Ohm. Soll ich den Drahtwiederstand und den 100 Ohm mal separat messen?

Grüße
radiouli

29.07.13 15:34
hal 

500 und mehr Punkte

29.07.13 15:34
hal 

500 und mehr Punkte

Re: RFT Dominante kein UKW /LMK geht

Moin
Die häufigste Fehlerursache ,wenn alle Spannungen da sind ,waren Kontaktprobleme im Tastensatz.
Ansonsten ist es ein schönes Gerät.Ich konnte damit in meiner Jugend immer gut den "Klassenfeind " hören.
Gruß Hal

 1 2
 1 2
Kontaktprobleme   Oszi-Schwingtest   Anodenspannungsversorgung   Drahtwiederstand   Gitterbasisschaltung   Frequenzbereiche   Durchgangskondensatoren   Eingangsystems   Einstellkondensatoren   Kassettenrekorder   Dominante   Anodenspannungen   Anodenspannung   Lautsprecherendstufe   Anodenwiderstand   Spannungsdurchgang   Eingangsverstärkung   radiouli   Gittervorspannung   funktioniert