| Passwort vergessen?
Sie sind nicht angemeldet. |  Anmelden

Sprache auswählen:

Wumpus Gollum Forum von
Wumpus Welt der (alten) Radios
Sie sind nicht angemeldet.
 Anmelden

[Übertragen] * 220 V / 230 V
  •  
 1 2
 1 2
02.10.06 16:59
wumpus 

Administrator

02.10.06 16:59
wumpus 

Administrator

[ Übertragen ] * 220 V / 230 V

220 V und 230 V , 10 Jul. 2005 23:01

Bei den alten Radios steht immer als Netzspannung 220 Volt drauf. Nun haben wir ja schon seit vielen Jahren 230V-Netze. Schadet die 10 V mehr Spannung den alten Radios?

Beitragsbewertung / Message valuation:

manfred


RE: 220 V und 230 V , 11 Jul. 2005 08:30

hallo herbert,
das ist kein problem. die 10 Volt liegen in den toleranzbereichen. auch damals schwankten die Spannungen im netz.

Noch gefällt der Beitrag keinem Nutzer.
!
!!! Fotos, Grafiken nur über die Upload-Option des Forums, KEINE FREMD-LINKS auf externe Fotos.    

!!! Keine Komplett-Schaltbilder, keine Fotos, keine Grafiken, auf denen Urheberrechte Anderer (auch WEB-Seiten oder Foren) liegen!
Solche Uploads werden wegen der Rechtslage kommentarlos gelöscht!

Keine Fotos, auf denen Personen erkennbar sind, ohne deren schriftliche Zustimmung.

Den Beitrag-Betreff bei Antworten auf Threads nicht verändern!
30.10.06 17:58
Kai

nicht registriert

30.10.06 17:58
Kai

nicht registriert

Re: * 220 V / 230 V

Zitat:



220 V und 230 V , 10 Jul. 2005 23:01

Bei den alten Radios steht immer als Netzspannung 220 Volt drauf. Nun haben wir ja schon seit vielen Jahren 230V-Netze. Schadet die 10 V mehr Spannung den alten Radios?

Beitragsbewertung / Message valuation:

manfred


RE: 220 V und 230 V , 11 Jul. 2005 08:30

hallo herbert,
das ist kein problem. die 10 Volt liegen in den toleranzbereichen. auch damals schwankten die Spannungen im netz.





Hallo,
ich habe schon 219 Volt und 240 Volt je nach Last im Ortsnetz gemessen.
Kai

30.10.06 18:40
roehrenfreak

nicht registriert

30.10.06 18:40
roehrenfreak

nicht registriert

Re: * 220 V / 230 V

Guten Abend zusammen,

ganz so blauäugig würde ich dieses Thema mit den 230Volt nicht sehen. Das ist schließlich nur die so genannte "Nennspannung", welche die EVU´s mit einer Toleranz von +/- 5% gewährleisten. U min ist also 218Volt und U max 242Volt. Diese U max könnte aber besonders für Allstrom-Geräte mit U- oder V-Röhren, Serienheizung also, zum Verhängnis werden. Die Heizfäden werden im kritischen Einschaltmoment stärker belastet und können früher durchbrennen wie man es von "alten" 220-Volt-Glühlampen nach der Umstellung her kannte. Reihenweise habe ich damals durchgebrannte Leuchtmittel auswechseln dürfen. Die Herren Osram, Philips und Co. werden sich über den zusätzlichen "Bedarf des Marktes" sehr gefreut haben! Für uns wird es hier und da ein Ärgernis sein

Ich gebe zurück an die angeschlossenen Funkhäuser...
Jürgen rf

02.11.06 21:08
PL36 

0-49 Punkte

02.11.06 21:08
PL36 

0-49 Punkte

Re: * 220 V / 230 V

Ich denke, die ca. 10 Volt mehr spielen keine Rolle. Schon gar keine Sorge muss man deswegen um die Heizfäden von Röhren haben:

E-Röhren haben enorm robuste Heizfäden. Man denke an Autoradios mit E-Röhren, bei denen die Heizung direkt von der Bordspannung kam. Und die schwankt von 6 bis 8 Volt (bei 6-Volt-Bord) und von 12 bis über 14 Volt (bei 12 Volt Bord - hier waren immer zwei Röhrenheizungen in Reihe geschaltet). Dazu die ständigen Erschütterungen in einem Auto! Dennoch haben die Heizfäden viele Jahre lang gehalten.

Bei U-Röhren mit den empfindlicheren 100 mA Fäden wird der Einschaltstrom der kalten Fäden mit einem NTK-Widerstand abgefangen. Der Heizstrom steigt da nur langsam an. Selbst bei diesen Röhren sind abgebrannte Heizfäden kein sehr häufiger Fehler.

P-Röhren mit ihren 300 mA-Fäden sind an sich robust, auch hier wird der recht hohe Einschaltstrom - da waren in einen Röhrenfernseher 20 und mehr Röhren in Serie, mit einem nur mehr kleinen Vorwiderstand, was insgesamt einen sehr kleinen Kaltwiderstand des Heizkreises zur Folge hatte. Auch hier wurde entweder ein NTK (zusammen mit dem noch notwenigen ohmschen Vorwiderstand) eingesetzt. Oder eleganter (bei Geräten mit schon teilweiser Transistorisierung, also weniger Röhren) eine Diode (die ganz schön brutale Halbwellenheizung - hat auch nicht geschadet) oder ein Kondensator. Besonders mit einem Kondensator als kapazitiven Vorwiderstand heizen die Röhren ganz sanft (und sehr langsam) an, weil bei Überwiegen der kapazitiven Komponente des gesamten Heizkreiswiderstandes praktisch ein konstanter Strom fließt, es also gar keinen Einschaltstromstoß gab.

-------------------

Generell haben heutigen Röhrenleute viel zu viel "Angst" um ihre Heizfäden. Propagiert werden stabilisierte Heizspannungen (naja, meinetwegen, bringt ja vielleicht auch was in Richtung entbrummen) und - leider, leider!! - "Schonung" durch lUnterheizen. Das ist ganz falsch!! Da hält wohl ev. der Heizfaden ewig, aber die Röhre stirbt eines frühen Kathodentodes. Für E-Röhren sind 7 Volt grade recht, da freut sich die Röhre!

Und was in Sachen Heizung das Allerschlechteste ist: eine geheizte Röhre ohne anliegende Anodenspannung! Wer Röhrenfernseher repariert hat kennt die Situation, dass die Röhren im UHF-Tuner ja zwangsläufig geheizt wurden (Serienschaltung!), aber bei VHF-Empfang die Anodenspannung der UHF-Röhren abgeschaltet wurde. Die Röhren wurden im Rekordtempo taub! Und dabei wollte man sie schonen! - Man ist dann dazu übergegangen, bei solchen Geräten bei VHF Empfang eine ganz kleine Anodenspannung an den UHF Birnen angelegt zu lassen, für längere Lebensdauer. Außerdem werden ja Röhren ohne Anodenstrom nicht komplett warm. Sie mussten aber warm bleiben, weil ja bei einem Umschalten von VHF auf UHF sie 1. sofort betriebsbereit zu sein hatten und 2. während des VHF-Betriebes der UHF Tuner nicht zu weit thermisch "wegwandern" durfte.

03.11.06 09:57
Daniel.F

nicht registriert

03.11.06 09:57
Daniel.F

nicht registriert

Re: * 220 V / 230 V

Hallo zusammen,
zu diesem Thema habe ich auch noch eine prima Ergänzung.
Hier ein Auszug aus einem Merkblatt über die richtige Behandlung von Röhren. Oktober 1944

Richtige Netz und Betriebspannungen:
Vor erstmaligem Anschluss eines Gerätes muss bei jedem Wechsel des Einsatzortes geprüft werden, ob die richtige Netzspannung vorhanden ist. Der Anschluss an eine falsche zu hohe Netzspannung zerstört die Röhren, abgesehen von sonstigern schweren Schäden, die in den Geräten entstehen können. Schon ein Abweichen der Netzspannung um +10% bzw. -15% von der Sollspannung hat Überbeanspruchung der Röhren zur Folge.

Ist trotz richtiger Eingangspannung der Röhrenverbrauch bei einem Gerät zu groß, so sind die Betriebspannungen an Hand der Gerätebeschreibung zu überprüfen. Dabei muss vor allem auf die richtige Heizspannung der Röhren geachtet werden. Zu hohe Heizung lässt metallisches Barium von der Oxydschicht der Kathode abdampfen, das sich auf den kälteren Metalloberflächen der Gitter niederschlägt und hier Sekundäer-Emisionseffekte verursacht. Ferner tritt eine langsame Zerstörung des Heizfadens ein.

Noch gefährlicher als die Überheizung, ist die Unterheizung der Röhren. Sie verlieren dabei ihr Emisionsvermögen, sie werden taub. Hierfür eine kurze Erklärung.

Ausgangspunkte der Emission sind die winzigen metallische Barium Inseln, die sich auf der Oxydschicht der Kathode befinden. Durch dem Emmisionsvorgang findet ein langsamer Verbrauch des Bariums statt. Ist die Kathode richtig beheizt, so bildet sich aus dem Bariumoxyd laufend neues Barium nach. Bei zu geringer Heizspannung wird die hierfür erforderliche Formierungstemperatur nicht erreicht. Die Kathode wird inaktiviert und die Röhre dadurch unbrauchbar.

Dann sind da noch zwei Bildchen dazu abgebildet. Es sind solche "Röhrenmänner" wie man sie aus der Telefunken Werbung kennt.
Auf dem einem Bild ist ein Röhrenmann in der prallen Sonne, dem ziemlich viel Schweiss auf der Stirn steht und in eine Pfütze tropft.
Bildunterschrift: Heizt Du Deine Röhren zu stark, dann machen sie nicht lange mit. Gib ihnen die richtige Heizpannung!

Auf dem anderem Bild sitz ein Röhrenmann in einem Eisverkaufshandwägelchen. Er hat die Augen geschlossen und es läuft ihm der Rotz aus der Nase. Sieht also irgendwie nach Erkältung aus.
Bildunterschrift: Heizt Du Deine Röhren zu wenig, dann finden sie ebenfalls ein vorzeitiges Ende. Gib ihnen nur die richtige Heizspannung!

Ausserdem wird dann noch auf die Steuergittervorspannung, Schirmgitter und Anodenspannung eingegangen, die ebenfalls ihrem Sollwert entsprechen sollten um einer Röhre ein "langes glückliches Leben" zu ermöglichen.

Also liebe Leutis, passt auf eure Röhren auf. Folgende Generationen möchten sicherlich auch mal in den Genuss kommen, ein Röhrengerät live zu erleben.

Gruß, Daniel



03.11.06 10:30
wumpus 

Administrator

03.11.06 10:30
wumpus 

Administrator

Re: * 220 V / 230 V

Hallo Daniel,
guter Merkzettel. Ich sehe vor mir eine erkältete Röhre mit einem kleinen Asbest-Schal um den Hals.

MFG Rainer

Möge die Welle mit uns sein.

09.11.06 21:46
roehrenfreak

nicht registriert

09.11.06 21:46
roehrenfreak

nicht registriert

Re: * 220 V / 230 V

Liebe Röhrenstreicheler,

das erinnert mich irgendwie an die Farbfersehgeräte eines großen Versandhauses anfang der 70er. Mit "Sofortbild-Technik" warb man seinerzeit um die Gunst der Kunden. Was verschwiegen wurde waren die enorme Leistungsaufnahme für die Röhrenheizung im Bereitschaftsbetrieb (circa 150Watt !!!) und die Reparaturanfälligkeit wegen tauber Röhren. Ein teures "Fernseh-Vergnügen"... Gottlob verschwanden diese "Heizöfen" schnell wieder von der Bildfläche. Das müsste man sich mal heutzutage vorstellen - wieviele Kraftwerke würden dafür noch zusätzlich benötigt ?

Ich gebe zurück an die angeschlossenen Funkhäuser...
Jürgen rf

28.01.08 16:55
Florianska 

500 und mehr Punkte

28.01.08 16:55
Florianska 

500 und mehr Punkte

Re: * 220 V / 230 V

Hallo zusammen,

das sind sehr interessante Beiträge zum Thema Netzspannung.
Meinen Röhrenradios hat das alles noch nie geschadet.
Eine Ehrfurcht habe ich auch vor den Vollröhrenfarbfernsehern gehabt, einfach Rückwand entfernen und Wohnungsheizung abstellen! Den Service an diesen geräten möchte ich nicht machen.
Der eigentliche Grund für meinen Beitrag ist aber folgender, als Schüler wollte ich gute Kassettenmitschnitte von Radiosendungen machen und hatte nicht das Kapital für Einmeßkomputer und andere teure features der Edeldecks, also habe ich nach einem auf TDK eingemessenen preiswertern Tapedeck gesucht, diese Cassetten waren sehr gut und preiswert.
Die Wahl fiel dann auf Pioneer, die waren immer auf TDK eingemessen.
Schön und gut, das böse Erwachen kam nach der Netzspannungsumstellung, diese Tapedecks hatten nur die Wahl zwischen 220 und 240Volt. (In Japan gibts beide Netze!)
Alle aufgenommenen Cassetten sind jetzt zu schnell und eine Terz zu hoch. Der Motor ist ungeregelt! Die Gleichlaufschwankungen lagen gerade so innerhalb der HIFI-Norm und sind offensichtlich nur die Netzspannungsschwankungen.
Selbst mit Low-drop-Spannungsreglern ist Vin minimal - Vout zu gering für eine Regelung. bleibt nur der Einbau eines 2. Transformators und entsprechend stabilisiertes Netzteil.
Also lieber unverwüstliche Röhrentechnik.
MfG
Florianska

29.04.08 15:31
Opa.Wolle 

500 und mehr Punkte

29.04.08 15:31
Opa.Wolle 

500 und mehr Punkte

Re: * 220 V / 230 V

Hallo,

wunderbar, ich habe meine Antwort hier schon bekommen und brauchte keine Frage mehr zu schreiben!

Viele Grüße aus Loccum, Wolfgang

20.09.19 09:44
Foghunter

nicht registriert

20.09.19 09:44
Foghunter

nicht registriert

Re: * 220 V / 230 V

Hallo Forum,

zwar ist dieser Thread schon "etwas" älter aber trotzdem hochaktuell, wie ich finde. Besonders im Sommer und zur Mittagszeit wird viel Strom produziert, zwangsweise von uns Verbrauchern aufgekauft und ins Netz eingespeist. Es gibt dann mehr Strom, als in den Zeiten verbraucht wird. Daran ändert auch die "E-Mobilität" nichts, denn die Vehikel werden vorzugsweise über Nacht geladen.

Da Deutschland unverändert über nur wenige Pumpwerke oder sonstige Speichermöglichkeiten verfügt, müssen die Dienstleister den zuvor teuer gekauften Überstrom kostenpflichtig auf unsere Kosten im Ausland "entsorgen" (Österreich lässt sich die Abnahme von überschüssigem Strom teuer bezahlen). Sobald wir ihn dann in der Nach benötigen, müssen wir ihn wieder aus den Pumpstationen zurück kaufen. So bezahlen wir dreimal für den gleichen Strom.....

Oder der überschüssige Strom wird kostenfrei im eigenen Netz "verklappt". Und zwar vorzugsweise in unseren antiken Geräten, die keinen Weitbereichseingang haben!

Die Netzteile der Nachkriegsradios wurden wegen des Materialmangels "auf Kante" genäht. Eine Erhöhung der Netzspannung von 220 auf 230V kann die Trafoverluste durch Sättigung glattweg verdoppeln. Eine weitere Erhöhung auf 240V kann den Trafo zerstören.

Ich selbst bevorzuge handwarme Trafos (~ 40°C) in altersschwachen Röhrengeräten. Wenn ein Netztrafo jedoch nach längerer Betriebszeit so warm wird, dass es beim Anfassen *aua* macht (> 60°C), dann muss schnellstens gehandelt werden!

---------

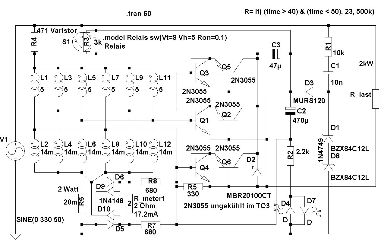
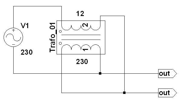
Als einfache Lösung bekannt ist der "magische Netzstecker", bei dem die Netzspannung mit einem Trafo um 12V reduziert wird.



Da der Trafo als Spar- bzw. Autotransformator geschaltet ist, kann ein kleiner 20VA-Trafo Verbraucher von über 300 VA treiben! Warnung: Eine Netztrennung findet nicht statt.

Um die Leerlaufverluste des "magischen Steckers" zu reduzieren, kann man die Primärwicklung des Trafos von der reduzierten Ausgangsspannung versorgen, wie das hier gezeigt ist.

Trotzdem ist die Lösung nicht ideal, weil der Autotrafo auch dann Verluste erzeugt, wenn das nachgeschaltete Radio gar nicht in Betrieb ist.

----------

Für meinen Labortisch hab ich mir mit sechs deratigen Trafos eine zentrale "Umspannstation" gebaut, da ich viele antike Messgeräte betreibe. Die Station verfügt über eine Automatik, die die Station nur dann aktiviert, wenn Strom abgefordert wird. Und die Station verfügt über eine echte Wirkstromanzeige, die ich ggfls. noch extra vorstellen will.







Viele Grüße

Wolfgang

Datei-Anhänge
230-220x.jpg 230-220x.jpg (405x)

Mime-Type: image/jpeg, 15 kB

230-220_10.jpg 230-220_10.jpg (408x)

Mime-Type: image/jpeg, 34 kB

230-220_9.jpg 230-220_9.jpg (388x)

Mime-Type: image/jpeg, 37 kB

230-220_8sw.png 230-220_8sw.png (442x)

Mime-Type: image/png, 25 kB

 1 2
 1 2
Low-drop-Spannungsreglern   220-Volt-Glühlampen   Netzspannungsschwankungen   Netzspannungsumstellung   Wumpus-Gollum-Forum   welt-der-alten-radios   Kassettenmitschnitte   Röhren   Reparaturanfälligkeit   Formierungstemperatur   Steuergittervorspannung   Eisverkaufshandwägelchen   Bereitschaftsbetrieb   Speichermöglichkeiten   Voxhaus-Gedenktafel   Heizkreiswiderstandes   Netzspannung   Sekundäer-Emisionseffekte   Vollröhrenfarbfernsehern   Gleichlaufschwankungen